Machine protection SX4_20211123_100026 - 第10页
Machine protection SX4 Page 10 / 18 23.11.2021

Machine protection SX4
Page 9 / 18 23.11.2021

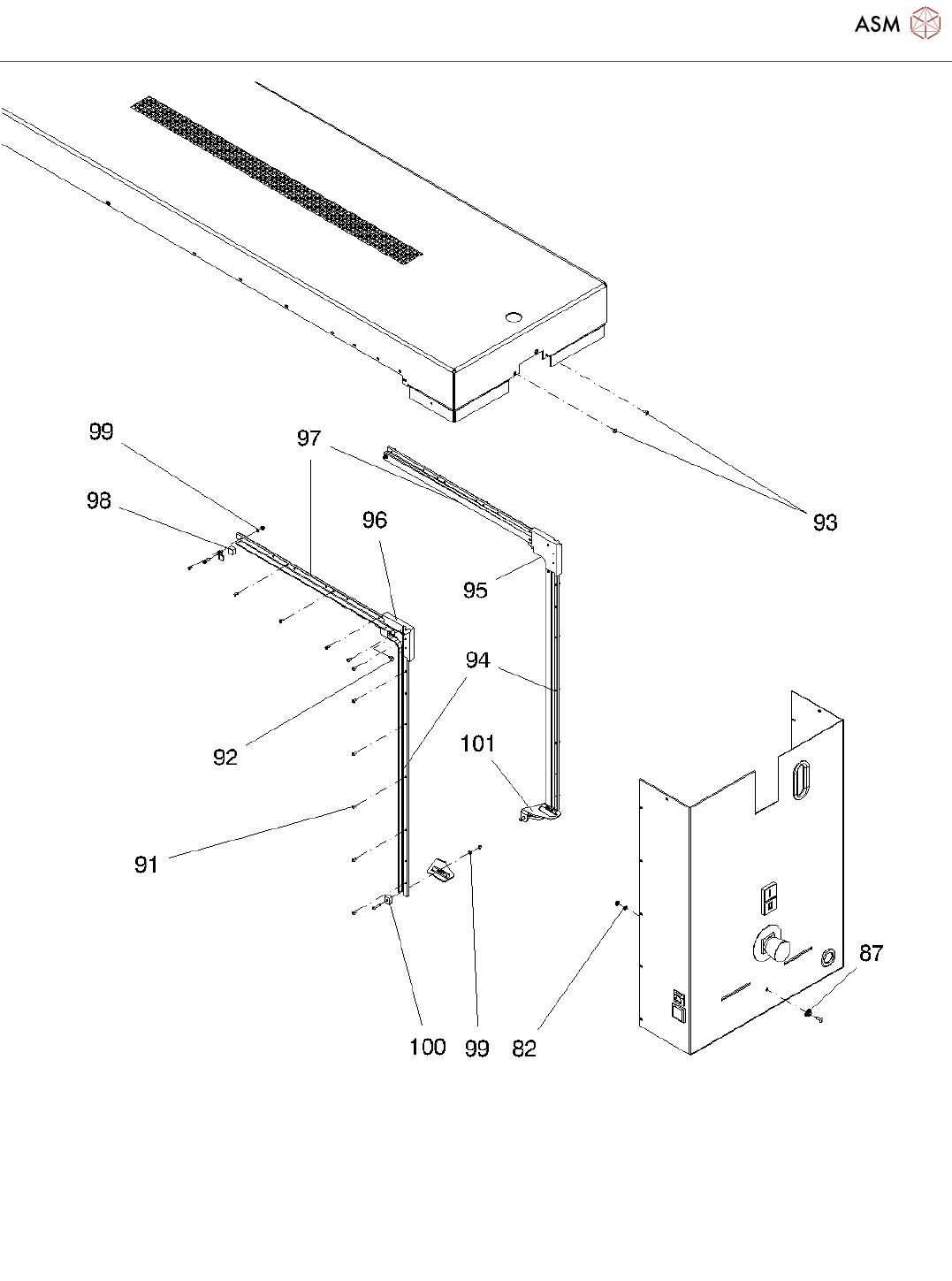
Machine protection SX4
Page 10 / 18 23.11.2021

Machine protection SX4
Page 11 / 18 23.11.2021
Machine protection SX4 Page 10 / 18 23.11.2021


