文档中心
/
Twin head_20211123_104629
Twin head_20211123_104629 - 第5页
Twin head Page 5 / 16 23.11.2021
目录
100%
显示:宽度
宽度
1 / 16
回到旧版
旧版
?
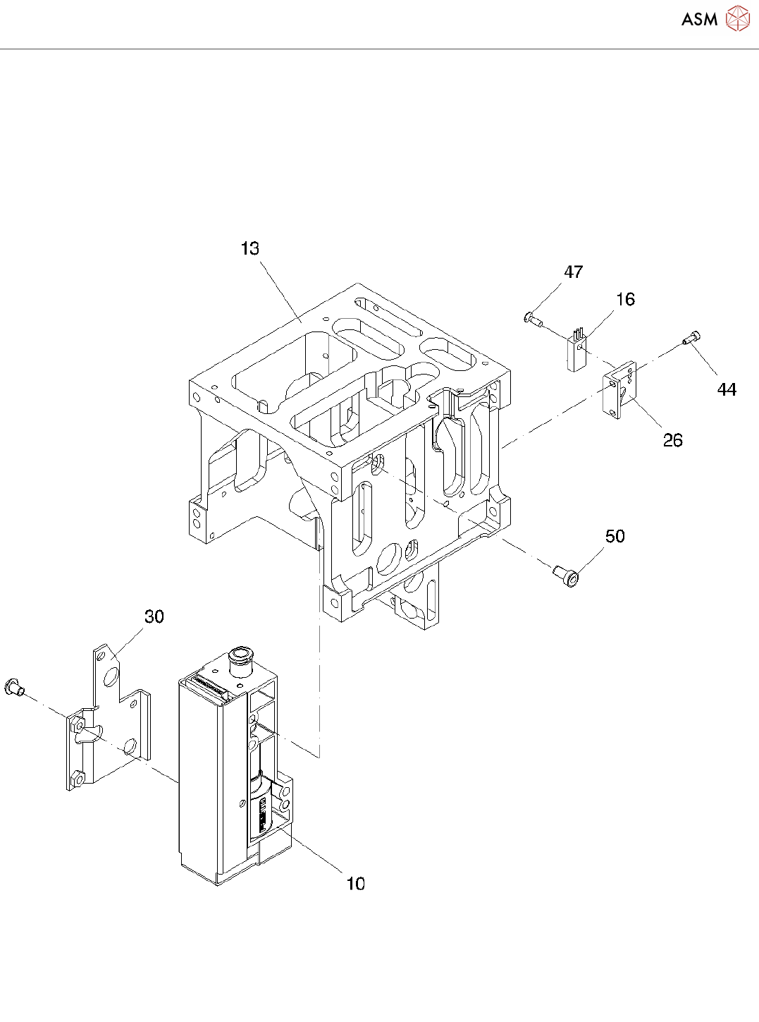
Twin head
Page 4 / 16
23.11.2021
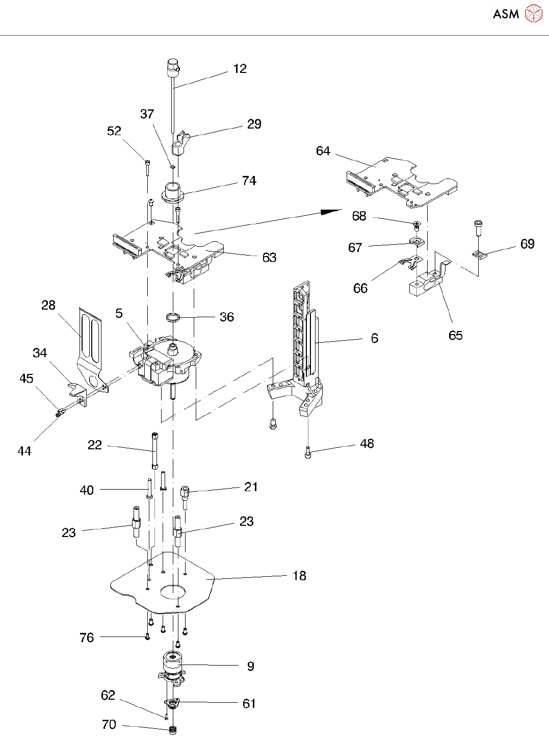
Twin head
Page 5 / 16
23.11.2021
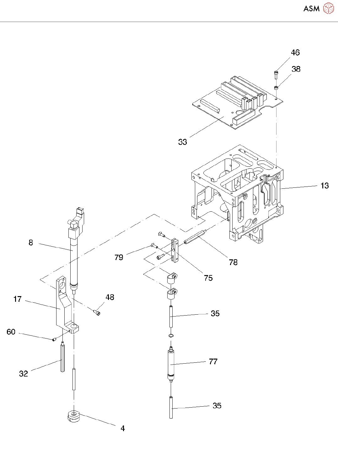
Twin head
Page 6 / 16
23.11.2021
该页面需要启用 JavaScript 才能进行交互式预览。