Components carriage_20211123_100013 - 第10页
Components carriage Page 10 / 12 23.11.2021

Components carriage
Page 9 / 12 23.11.2021

Components carriage
Page 10 / 12 23.11.2021

Components carriage
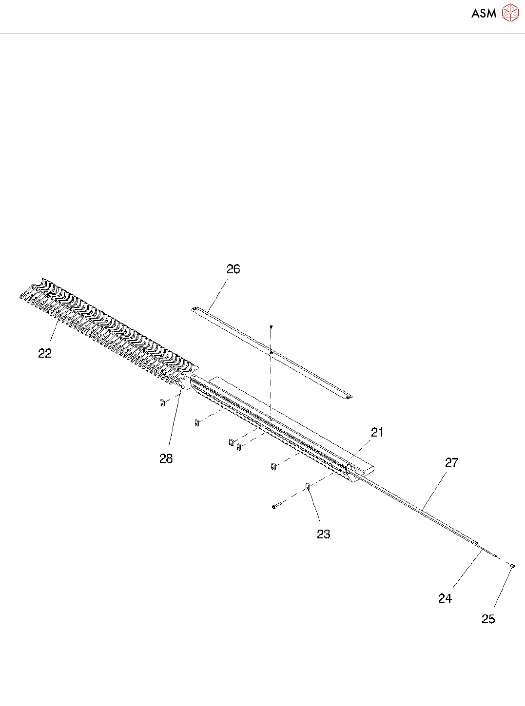
Page 11 / 12 23.11.2021
Pos. Item no. Description Part marking
1 00119722-09 COMPONENTS CARRIAGE SIPLACE X-
SERIES
03020126-10 COMPONENTS CARRIAGE SIPLACE X-
SERIES
3 03020125-04 UNDERCARRIAGE TRANSLATION
4 03020097-04 WELDED FRAME COMPL.
TRANSLATION
5 03019472-02 TAPE REEL CONTAINERCOMPL. SPARE PART
6 03019475-02 CONTAINER FRAME /WELDED
ASSEMBLY
7 03019474-02 SLIDE SUPPORT TRANSLATION
8 03011658-01 PARTITION PLATE /TAPEREEL
CONTAINER COMP
SPARE PART
9 03022192-03 PUSH ROD COMPL.
10 03020051-03 JOINT ROD LONG TRANSLATION
11 03022028-02 TUBE /L200 D26 D23 SPARE PART
12 03012658-02 WASTE CONTAINER
/COMPONENTSCARRIAGE
SPARE PART
13 03020544-02 GUIDE PLATE TRANSLATION
14 03004958-01 GUIDE ROL LDA-VPA 75K-EL-47994 SPARE PART
15 00341918-01 FIXED ROLLER BKPA-PTH 126K SPARE PART
16 03023044-01 IGLIDUR-SLIDE BEARING
GFM-2427-07/ BY IGUS
TRANSLATION
17 03020026-01 IGLIDUR CLIPS - BEARING
MCM-25-03/ BY IGUS TRANSLATION
18 03006658-09 TABLE / X-SERIES
19 03028910-01 FEEDER CENTERING, 40 TRACKS SPARE PART
20 03023777-03 FEEDER SEALING /X-SERIES SPARE PART
21 03023804-01 BASIC SUPPORT (FINISHED PART)
22 03069205-02 LATCH SPARE PART
23 03023783-01 RETAINING PLATE
24 03021639-01 STOP BOLT
25 03023810-01 FIXING SLEEVE
26 03077142-01 COVER PLATE BOLTING RAIL SPARE PART
27 03025847-01 SHAFT HARDENED WRB D5XL480
28 03010352-01 TENSION SPRING D=0,63* D=5,6*
LO=23,3
SPARE PART