文档中心
/
Input_output side_20211123_073411
Input_output side_20211123_073411 - 第3页
Input/output side Page 3 / 6 23.11.2021
目录
100%
显示:宽度
宽度
1 / 6
回到旧版
旧版
?
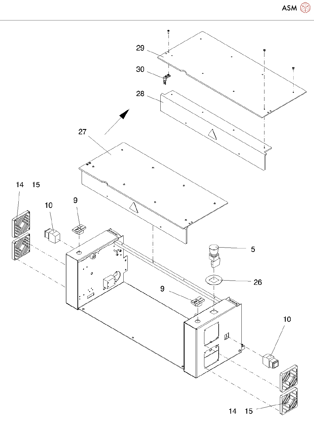
Input/output side
Page 2 / 6
23.11.2021
Input/output side
Page 3 / 6
23.11.2021
Input/output side
Page 4 / 6
23.11.2021
该页面需要启用 JavaScript 才能进行交互式预览。