Gantry system electric X4 S_20211122_064310

Gantry system electric X4 S Page 1 / 21 22.11.2021

100%1 / 21
Gantry system electric X4 S
Page 1 / 21 22.11.2021
Gantry system electric X4 S
Page 2 / 21 22.11.2021
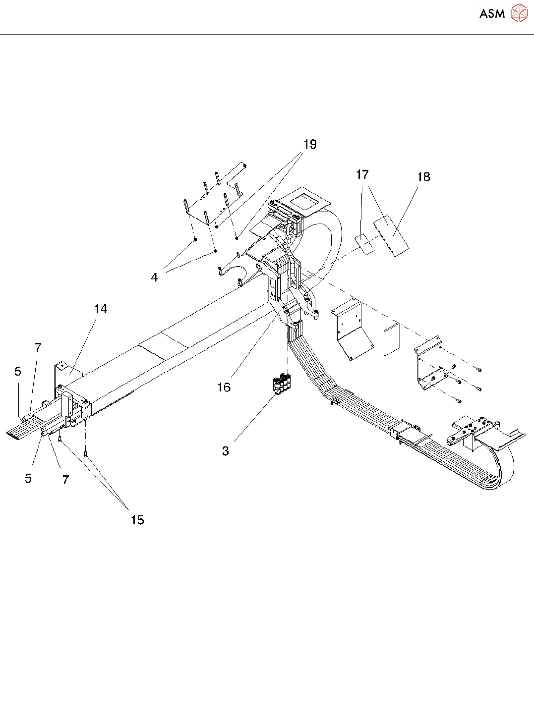
Gantry system electric X4 S
Page 3 / 21 22.11.2021