Feeder 操作手册 - 第88页
I ntelligent T ape Feeder 操作手册 5.2 编带导轨 ( 接头检测传感器部 ) Page 5-10 【 12 m m/ 16 mm , 24 m m /32 m m , 44 m m/ 56 mm 编带供料器】 对准内侧的标记 安装 12 m m 宽的编带时 安装 24 m m 宽的编带时 安装 44 m m 宽的编带时 对准外侧标记 安装 16 m m 宽的编带时 安装 32 m m 宽的编带时 安装 56 …

Intelligent Tape Feeder
操作手册
5.2 编带导轨 (接头检测传感器部)
Page 5-9
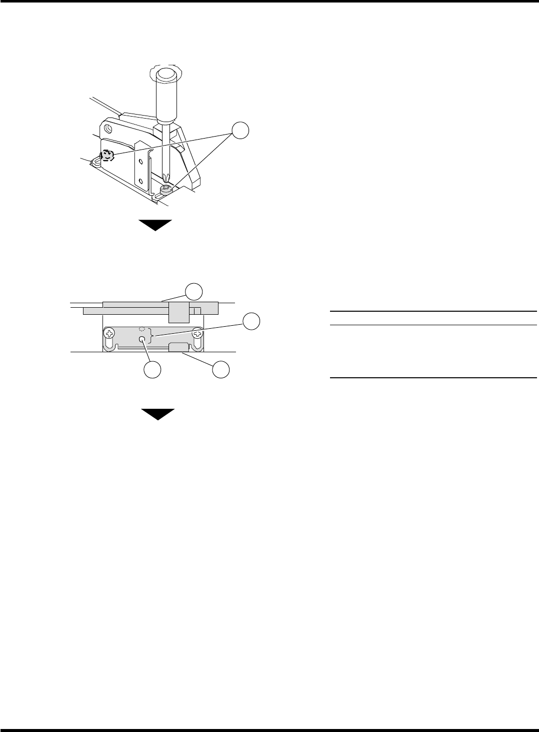
5.2.1
简易的调整方法
简易的调整方法简易的调整方法
简易的调整方法
不使用量规的调整方法。
1.
用精密螺丝刀拧松调整螺钉 (M2.5)
使
编带导轨对准供料器框架上的标记。
2.
使导轨对准框架上的标记。
名称
接头检测传感器
标记 (在框架上有 2 处钻孔)
对照孔 (编带导轨孔)
编带导轨
下一页
INTF-026E
1
INTF-027E
1
4
3
2
INTF-C-OMB05-A01-00

Intelligent Tape Feeder
操作手册
5.2 编带导轨 (接头检测传感器部)
Page 5-10
【12 mm/16 mm, 24 mm/32 mm, 44 mm/56 mm 编带供料器】
对准内侧的标记
安装 12 mm 宽的编带时
安装 24 mm 宽的编带时
安装 44 mm 宽的编带时
对准外侧标记
安装 16 mm 宽的编带时
安装 32 mm 宽的编带时
安装 56 mm 宽的编带时
【72 mm 编带供料器】
标记只有 1 处
3.
用精密螺丝刀拧紧调整螺钉。
4.
如图所示穿过工作编带,并确认未卡住、
松动、脱落等。
INTF-C-OMB05-A01-00
INTF-030E
INTF-028E
INTF-029E

Intelligent Tape Feeder
操作手册
5.2 编带导轨 (接头检测传感器部)
Page 5-11
5.2.2
使用量规的调整方法
使用量规的调整方法使用量规的调整方法
使用量规的调整方法
是对照每一个编带的宽度使用量规进行调整的方法。
1.
用精密螺丝刀拧开调整螺钉 (M2.5)
。
2.
夹住量规使接头检测传感器和编带导轨的
宽度一致。
∗
此处,以 12 mm/16 mm 用的编带供料器为例
进行说明。
安装 12 mm 宽的编带时 安装 16 mm 宽的编带时
12 mm/16 mm 用量规 24 mm/32 mm 用量规 44 mm/56 mm 用量规 72 mm 用量规
INTF-037E
INTF-034E
INTF-035E
INTF-036E
安装 16 mm 宽的编带时
的调整宽度
安装 32 mm 宽的编带时
的调整宽度
安装 56 mm 宽的编带时的
调整宽度
安装 72 mm 宽的编带时
的调整宽度
安装 12 mm 宽的编带时
的调整宽度
安装 24 mm 宽的编带时
的调整宽度
安装 44 mm 宽的编带时的
调整宽度
下一页
INTF-026E
1
INTF-032E INTF-033E
INTF-031E
INTF-C-OMB05-A01-00