Output conveyor extension SX4_3 single_20211124_100815 - 第9页

Output conveyor extension SX4/3 single Page 9 / 9 24.11.2021 Pos. Item no. Description Part marking 00519973-01 OUTPUT CONVEYOR EXTENSION SX4/3 SINGLE 03100596-01 ADD-ON KIT OUTPUT EXTENSION SL SX4A 3 03094297-01 EXTENSI…

100%1 / 9
Output conveyor extension SX4/3 single
Page 7 / 9 24.11.2021
Output conveyor extension SX4/3 single
Page 8 / 9 24.11.2021
Output conveyor extension SX4/3 single
Page 9 / 9 24.11.2021
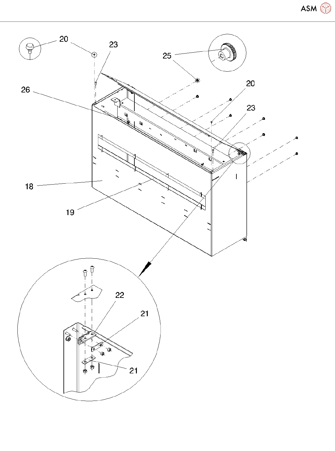
Pos. Item no. Description Part marking
00519973-01 OUTPUT CONVEYOR EXTENSION
SX4/3 SINGLE
03100596-01 ADD-ON KIT OUTPUT EXTENSION SL
SX4A
3 03094297-01 EXTENSION OUTPUT BELT A/C
SX4A.
4 03094341-02 BELT GUIDE A/C PA2 OS+ SX4A. SPARE PART
5 03093314S01 SYNCHRONOUS BELT L=1158 MM WEAR PART
6 03098065-01 ISO 14581 M 5 X 14,7-8.8,CHEM.NI. STANDARD PARTS
7 03099834-01 PULLEY 1 IN- OUTPUT CPL. SX1A.
8 03088944-01 SPACER DEFLECTION PULLEY
9 03092899S02 PULLEY SXA. SPARE PART
10 03097891-01 EXTENSION OUTPUT BELT B/D
SX4A.
11 03094584-02 BELT GUIDE B/D PA2 AS+ SX4A. SPARE PART
12 03099834-01 PULLEY 1 IN- OUTPUT CPL. SX1A.
13 03088944-01 SPACER DEFLECTION PULLEY
14 03092899S02 PULLEY SXA. SPARE PART
15 03098065-01 ISO 14581 M 5 X 14,7-8.8,CHEM.NI. STANDARD PARTS
16 03093314S01 SYNCHRONOUS BELT L=1158 MM WEAR PART
17 03100054-04 HAND GUARD BELT EXTENSION
CPL.X-SERIES S
SPARE PART
18 03100345-02 HAND GUARD, WELDING ASSY
19 03100183-01 SHEET METAL, HAND GUARD
ADJUSTABLE SX4A
20 03072728-01 BUFFER WITH PIN, TYP-NR. 1284 STANDARD PARTS
21 03100352-01 SPACER PLATE
22 03054371-01 NIROSTA-HINGE GN 237.5-40-40
23 03040338-01 DIN EN ISO 7380-M3 X 8-A2-70 STANDARD PARTS
03101413-01 EDGE PROTECTOR
25 00306783-01 DIN 466 M3-ST STANDARD PARTS
26 03105426-01 WARNING DECAL HAND GUARD X-
SERIES S
Powered by TCPDF (www.tcpdf.org)