Basic Protection_20211118_042937 - 第17页
Basic Protection Page 17 / 22 18.11.2021

Basic Protection
Page 16 / 22 18.11.2021

Basic Protection
Page 17 / 22 18.11.2021

Basic Protection
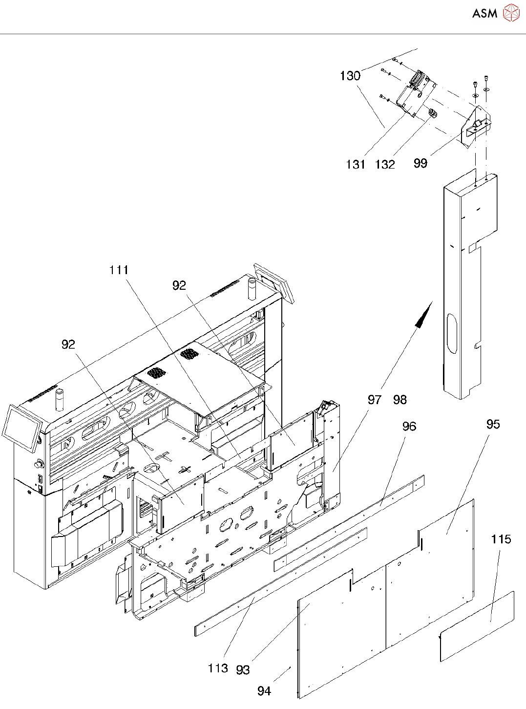
Page 18 / 22 18.11.2021
Pos. Item no. Description Part marking
1 03115386-02 BASIC PROTECTION CPL. TX
2 03118218-02 COVER INPUT SIDE LOC1 CPL.
3 03118219-02 COVER INPUT SIDE LOC2 CPL.
4 03113971-01 PROTECTIVE SHEET WITH GUIDE
5 03117961-02 Y COVER WELDED PART CPL. TX
6 03115840-03 FRONT COVER TOP LOC1 CPL.
7 03084513-01 ON-OFF PUSHBUTTON 3SB3 GN I /
BK O 22MM
SPARE PART
8 03039282-01 LABEL COMPONENT CARRIAGE
9 00334095-01 PUSH BUTTON 3SB3 BK 26X6MM SPARE PART
10 00334073-01 MUSHROOM PUSHBUTTON 3SB3
RED 40MM
SPARE PART
11 03009350-01 WARNSCHILD NR. 210
12 00306732-01 PUSH BUTTON INNER HALF PS-1,
10.3MM
13 03047654-01 CONTACT DISC -4-FST-
FLZNNC-480H
14 03126607-01 LOCKING ANGLE
00316575-01 CABLE TIE MOUNT MB4A 28X28
SELF ADHESIVE
STANDARD PARTS
16 03113527-03 FRONT COVER TOP LOC2 CPL.
17 03084513-01 ON-OFF PUSHBUTTON 3SB3 GN I /
BK O 22MM
SPARE PART
18 03039282-01 LABEL COMPONENT CARRIAGE
19 00334095-01 PUSH BUTTON 3SB3 BK 26X6MM SPARE PART
20 00334073-01 MUSHROOM PUSHBUTTON 3SB3
RED 40MM
SPARE PART
21 03009350-01 WARNSCHILD NR. 210
22 00306732-01 PUSH BUTTON INNER HALF PS-1,
10.3MM
23 03047654-01 CONTACT DISC -4-FST-
FLZNNC-480H
24 03126607-01 LOCKING ANGLE
00316575-01 CABLE TIE MOUNT MB4A 28X28
SELF ADHESIVE
STANDARD PARTS
26 03115683-02 FRONT COVER BOTTOM LOC1 CPL.
27 00341997-01 LABEL GROUNDING POINT GNYE
D12.5
28 03042574-01 ISO 4762 - M 6 X 20-A2-70