NPM料号 - 第48页
8 操作部制御:NPM-D3 Operation Parts (H):NPM -D3 パーツレイアウト Kit No. キット 品番 Kit Name キット名称 N610161322AA セクションNo. PARTS LAYOUT Section No. - - S29 ( KN610161322AA-05A )

Ref
No.
Remarks R
1
Q'ty
7
POWER UNIT 2:NPM-D3
POWER UNIT 2:NPM-D3
イラスト
No.
Part No.
品 名品 番 数量
R
2
パーツリスト
Kit No.
キット品番
Kit Name
キット名称
N610161321AA
Part Name
備 考
セクションNo.
PARTS LIST
Section No.
R
3
Trestle Transportation Control ILK PCB
1
1 N610161195AA
S
RELAY
2
2 N510025698AA
S
G9SC-400-CNP4E
S28
--
( KN610161321AA-03 )

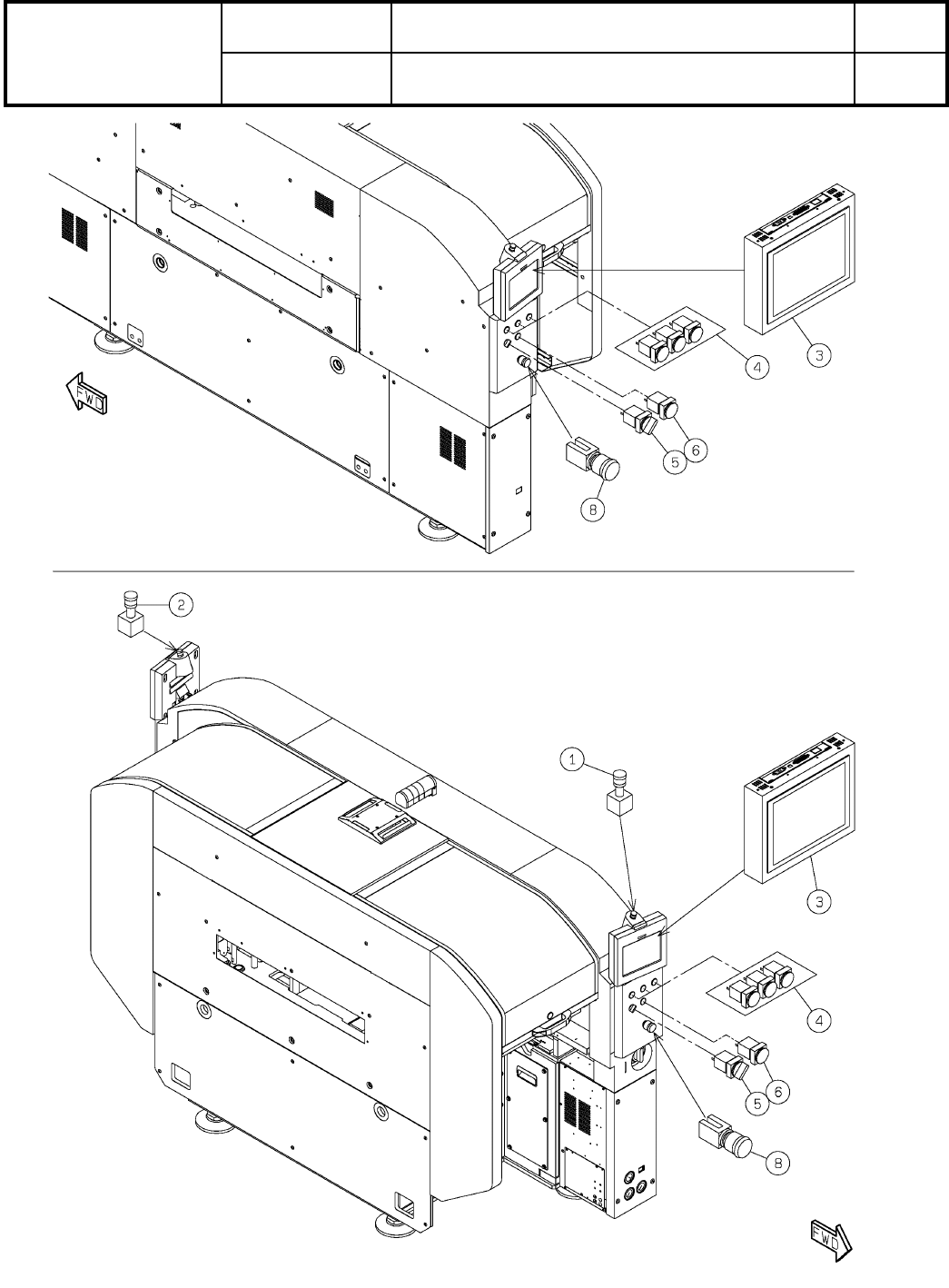
8
操作部制御:NPM-D3
Operation Parts (H):NPM-D3
パーツレイアウト
Kit No.
キット品番
Kit Name
キット名称
N610161322AA
セクションNo.
PARTS LAYOUT
Section No.
--
S29
( KN610161322AA-05A )

Ref
No.
Remarks R
1
Q'ty
8
操作部制御:NPM-D3
Operation Parts (H):NPM-D3
イラスト
No.
Part No.
品 名品 番 数量
R
2
パーツリスト
Kit No.
キット品番
Kit Name
キット名称
N610161322AA
Part Name
備 考
セクションNo.
PARTS LIST
Section No.
R
3
CABLE
1
1 N610113001AB B2002R-B2002-AWG24
CABLE
1
2 N610113002AB B2003R-B2003-AWG24
MONITOR
2
3 MTNS000407AA
S
R08RP4
SWITCH
2
4 MTNS000290AA
S
LW6W-33-TK2504-EJG
SWITCH
2
5 N510066015AA
S
LW6S-2C2V-BC-TK2504
SWITCH
2
6 N510055100AA LW6L-M1C13VW-BC-TK2504-B
SWITCH
2
8 N510041345AA
S
XW1E-BV403VR-BC-TK2377
S30
--
( KN610161322AA-05A )