NPM料号 - 第71页
Ref No. Remarks R 1 Q'ty 14 XY軸R側配線:NPM-D3 XY -Ax is Rear Side W iring:NPM-D 3 イラスト No. Part No. 品 名 品 番 数量 R 2 パーツリスト Kit No. キット品番 Kit Name キット名称 N610157825AA Part Nam e 備 考 セク ション No . PARTS LIST Section No. R 3 …

14
XY軸R側配線:NPM-D3
XY-Axis Rear Side Wiring:NPM-D3
パーツレイアウト
Kit No.
キット品番
Kit Name
キット名称
N610157825AA
セクションNo.
PARTS LAYOUT
Section No.
--
S51
( KN610157825AA-01 )

Ref
No.
Remarks R
1
Q'ty
14
XY軸R側配線:NPM-D3
XY-Axis Rear Side Wiring:NPM-D3
イラスト
No.
Part No.
品 名品 番 数量
R
2
パーツリスト
Kit No.
キット品番
Kit Name
キット名称
N610157825AA
Part Name
備 考
セクションNo.
PARTS LIST
Section No.
R
3
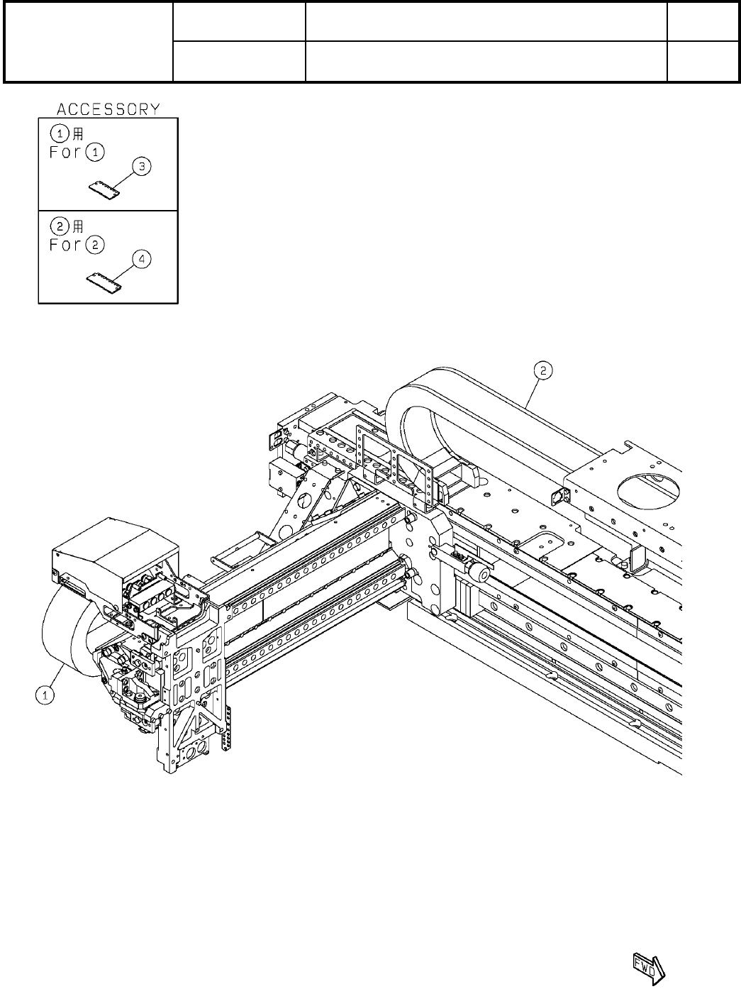
CABLE-VEYOR
1
1 N510041216AA TKR0200W50R55-TK
CABLE-VEYOR
1
2 N510054891AA TKR0200W60R55-TK(ZC020.2121)
CABLE-SUPPORT
4
3 N210142601AA
CABLE-SUPPORT
4
4 N210142695AA
S52
--
( KN610157825AA-01 )

15
XY軸制御:NPM-D3
XY-Axis (H):NPM-D3
パーツレイアウト
Kit No.
キット品番
Kit Name
キット名称
N610157814AA
セクションNo.
PARTS LAYOUT
Section No.
--
S53
( KN610157814AA-07 )