NPM料号 - 第73页
Ref No. Remarks R 1 Q'ty 15 XY軸制御:NPM-D3 XY -Axis (H):NPM -D3 イラスト No. Part No. 品 名 品 番 数量 R 2 パーツリスト Kit No. キット品番 Kit Name キット名称 N610157814AA Part Nam e 備 考 セク ション No . PARTS LIST Section No. R 3 PCB 2 1 N61011276…

15
XY軸制御:NPM-D3
XY-Axis (H):NPM-D3
パーツレイアウト
Kit No.
キット品番
Kit Name
キット名称
N610157814AA
セクションNo.
PARTS LAYOUT
Section No.
--
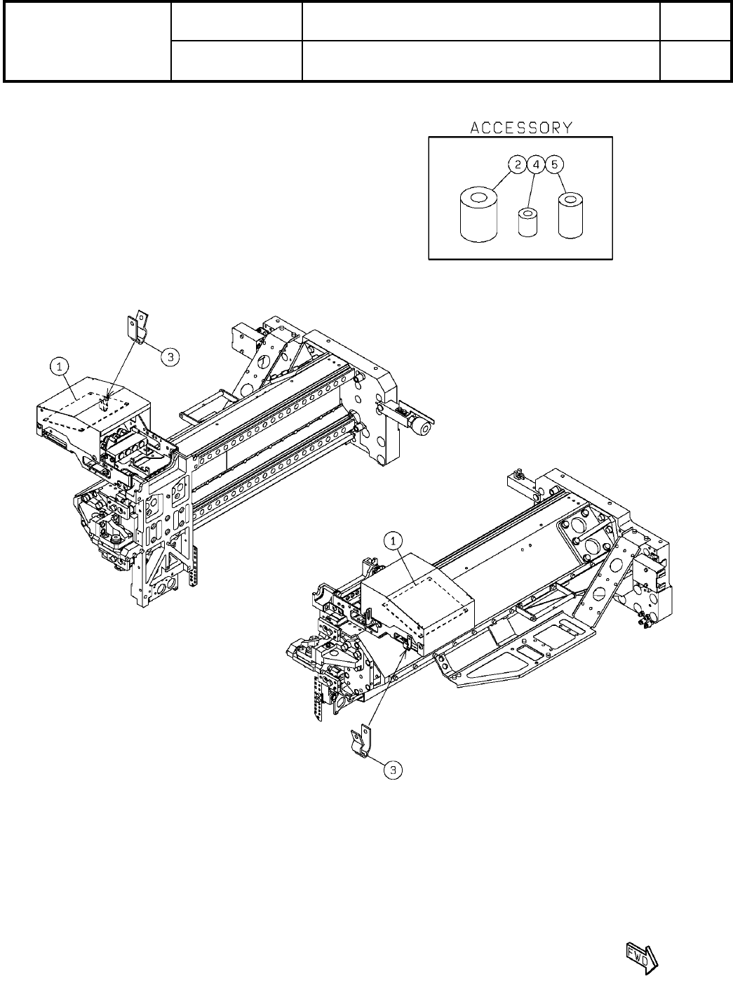
S53
( KN610157814AA-07 )

Ref
No.
Remarks R
1
Q'ty
15
XY軸制御:NPM-D3
XY-Axis (H):NPM-D3
イラスト
No.
Part No.
品 名品 番 数量
R
2
パーツリスト
Kit No.
キット品番
Kit Name
キット名称
N610157814AA
Part Name
備 考
セクションNo.
PARTS LIST
Section No.
R
3
PCB
2
1 N610112763AB
S
NPM highly accurate beem LED control PCB
NOISE-FILTER
8
2 J0KG00000014
S
ZCAT3035-1330
SHIELD
2
3 KXFP6GNSA00 FGC-8-M4
NOISE-FILTER
2
4 N510044950AA
S
E04SR150718
NOISE-FILTER
2
5 N510044951AA
S
E04SR200932
S54
--
( KN610157814AA-07 )

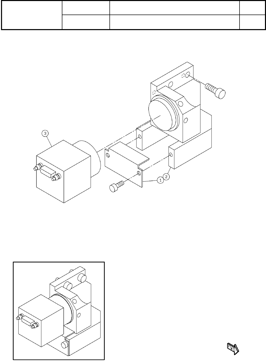
16
ヘッドカメラ:NPM
Head Camera:NPM
パーツレイアウト
Kit No.
キット品番
Kit Name
キット名称
N610041187AA
セクションNo.
PARTS LAYOUT
Section No.
--
S55
( KN610041187AA-08 )