P-199-001e - 第160页
MODEL TCM-3700-2 0109-001 158 42 2 1 6-1 6 5 6-1 1 6 5 37 38 37 34 30 29 28 25 24 26 27-1 25 26 27 20 16 6-1 6 7 4 3 8 9 7 4 2 22 21 23 17 35 36 33 39 8 9 7 8 9 A A 41 See Fig.7-1 Key No.2 TCM-3700-2 TCM-3700 Fig.7-3 㧸ࠦࡦ…

MODEL TCM-3700-2
0109-001
157
Key No. PART No. PART NAME Q’ty REMARKS
NOTE
7-2
1 630 077 4580 BRACKET(MOTOR) 1 739G--01B-010
2 630 006 0409 GEAR,REDUCTION 2 739G--01H-016
3 630 075 6333 MOTOR,REVERSIBLE 2 M3, M8, 4RK25GN-AUL 100V
739G--01H-015
4 411 141 4107 WASHER V 5X10X1 2 FW5
4 -1 630 001 0220 WASHER 1 739G--01H-027
5 411 141 6705 WASHER SPR 5 4 SW5
6 630 000 7848 BOLT,HEX-SCT 4 M5X60
6 -1 630 075 6289 NUT 4 739G--01B-054
7 630 009 2684 PULLEY,TIMING 4 739G--01H-017
8 630 000 8944 SET SCREW 8 M5X6 SET
9 630 066 9992 BELT,TIMING 1 739G--01H-036
9 -1 630 049 6925 BELT,TIMING 1 739G--01H-048
10 411 141 4107 WASHER V 5X10X1 2 FW5
11 411 141 6705 WASHER SPR 5 2 SW5
12 630 000 7749 BOLT,HEX-SCT 2 M5X10
17 630 077 4733 COLLAR 1 739G--01B-067
18 630 077 3200 BEARING,RADIAL 1 739G--01H-049
19 630 077 3217 BEARING,RADIAL 1 739G--01H-050
20 411 141 4107 WASHER V 5X10X1 1 FW5
21 411 141 6705 WASHER SPR 5 1 SW5
22 630 000 7787 BOLT,HEX-SCT 1 M5X25
31 630 077 4634 COVER(MOT0R) 1 739G--01B-032
32 411 051 1708 SCR TRS 4X6 1 M4X6 TRS

MODEL TCM-3700-2
0109-001
158
42
2
1
6-1
6
5
6-1
1
6
5
37
38
37
34
30
29
28
25
24
26
27-1
25
26
27
20
16
6-1
6
7
4
3
8
9
7
4
2
22
21
23
17
35
36
33
39
8
9
7
8
9
A
A
41
See Fig.7-1
Key No.2
TCM-3700-2
TCM-3700
Fig.7-3
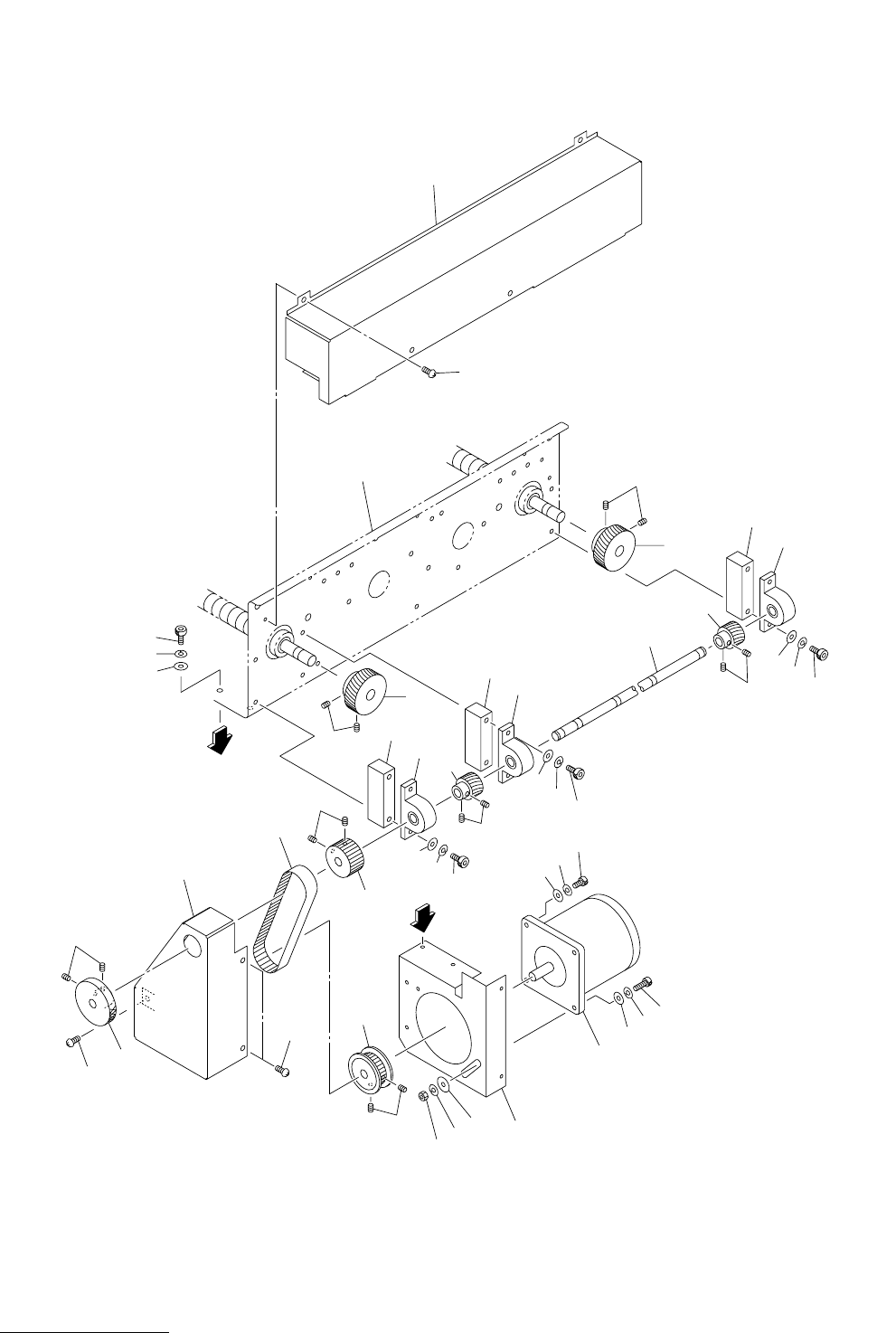
㧸ࠦࡦࡌࠕㇱ L CONVEYOR SECTION
Fig. 7-3 ࠼ࠗࡉࠪࡖࡈ࠻ Driving Shaft

MODEL TCM-3700-2
0109-001
159
Key No. PART No. PART NAME Q’ty REMARKS
NOTE
7-3
1 630 028 9493 GEAR 2 739G--01H-006
2 630 000 8951 SET SCREW 4 M5X8 SET
3 630 077 4573 SHAFT 1 739G--01B-009
4 630 028 9480 GEAR 2 739G--01H-007
5 630 008 2296 SET SCREW 4 M4X4 SET
6 630 001 1890 BEARING,UNIT 3 739G--01H-005
6 -1 630 057 7297 COLLAR 3 739G--01B-036
7 411 141 4107 WASHER V 5X10X1 6 FW5
8 411 141 6705 WASHER SPR 5 6 SW5
9 630 000 7800 BOLT,HEX-SCT 6 M5X35
16 630 056 3924 PULLEY,TIMING 1 739G--01H-041
17 630 000 8951 SET SCREW 2 M5X8 SET
20 630 077 4641 BRACKET(MOTOR L) 1 739G--01B-043
21 411 141 4107 WASHER V 5X10X1 2 FW5
22 411 141 6705 WASHER SPR 5 2 SW5
23 630 000 7749 BOLT,HEX-SCT 2 M5X10
24 630 009 5869 MOTOR,STEPPING 1 PM101(CVW1), #103-8572-7041
739G--01H-040
25 411 141 4107 WASHER V 5X10X1 2 FW5
26 411 141 6705 WASHER SPR 5 2 SW5
27 630 000 7763 BOLT,HEX-SCT 1 M5X16
27 -1 630 000 7787 BOLT,HEX-SCT 1 M5X25
28 630 001 0220 WASHER 1 739G--01H-027
29 411 141 6705 WASHER SPR 5 1 SW5
30 411 141 0505 NUT HEX 5 1 M5
33 630 056 3917 PULLEY,TIMING 1 739G--01H-042
34 630 000 8951 SET SCREW 2 M5X8 SET
35 630 048 9668 BELT,TIMING 1 739G--01H-043
36 630 077 4658 COVER(L) 1 739G--01B-044
37 411 051 1708 SCR TRS 4X6 3 M4X6 TRS
38 630 035 8384 BOSS(HANDLE) 1 739G--01B-047
39 630 008 2296 SET SCREW 2 M4X4 SET
41 630 077 4535 COVER 1 739G--01B-018
42 411 051 1708 SCR TRS 4X6 4 M4X6 TRS