P-199-001e - 第245页
MODEL TCM-3700-2 0109-001 243 Key N o. P AR T No . P AR T NAME Q’ t y REMA RKS NOTE 11 - 2 1 1 630 094 2965 P AN EL 1 739FB -01V-0 52 2 630 001 0220 WA SH E R 4 BW5 3 4 1 1 1 41 6 7 05 WASHER SPR 5 4 SW5 4 630 000 7756 B…

MODEL TCM-3700-2
0109-001
242
㔚᳇ᓮㇱ ELECTRICAL SECTION
Fig.11-21 ࿁↢ᛶ᛫ Regenerative Resistance
33
32
31
30
31
32
29
28
27
38
26
35
35
34
39
40
4
20
12
11
6
7
8
8
7
6
5
3
2
13
1
10
See Fig.1-1
Key No.2
10
9
14
15
37
44
47
49
46
45
45
48
.
22
21
24
20
19
18
17
16
23
.
43
42
41
36
33

MODEL TCM-3700-2
0109-001
243
Key No. PART No. PART NAME Q’ty REMARKS
NOTE
11-21
1 630 094 2965 PANEL 1 739FB-01V-052
2 630 001 0220 WASHER 4 BW5
3 411 141 6705 WASHER SPR 5 4 SW5
4 630 000 7756 BOLT,HEX-SCT 4 M5X12
5 630 094 2866 COVER 1 739FB-01V-053
6 411 119 2104 WASHER V 4X9X0.8 6 FW4 F
7 411 008 1706 WASHER SPR 4 6 SW4 F
8 411 042 3001 SCR PAN 4X10 6 M4X10 PAN
9 630 094 2873 COVER 1 739FB-01V-054
10 411 051 2804 SCR TRS 4X8 6 M4X8 TRS
11 630 094 7250 RESISTOR,SPECIAL 4 RR11, RR12, RR13, RR14
739FB-01D-906
12 411 113 2209 SCR PAN 4X16 8 M4X16 PAN
13 411 119 2104 WASHER V 4X9X0.8 8 FW4 F
14 411 008 1706 WASHER SPR 4 8 SW4 F
15 411 054 8506 NUT HEX 4 8 M4 F
17 411 119 2104 WASHER V 4X9X0.8 2 FW4 F
18 411 008 1706 WASHER SPR 4 2 SW4 F
19 411 042 3001 SCR PAN 4X10 2 M4X10 PAN
20 630 049 3672 BRACKET,WIRING 2 739FB-01D-158
21 630 049 3757 ACCESSORY,WIRING 1 739FB-01D-174
22 630 049 3696 TERMINAL 8 739FB-01D-918
23 630 049 3726 ACCESSORY,WIRING 1 739FB-01D-919
24 630 049 3733 ACCESSORY,WIRING 1 739FB-01D-156
26 630 094 2965 PANEL 1 739FB-01V-052
27 630 001 0220 WASHER 4 BW5
28 411 141 6705 WASHER SPR 5 4 SW5
29 630 000 7756 BOLT,HEX-SCT 4 M5X12
30 630 094 2866 COVER 1 739FB-01V-053
31 411 119 2104 WASHER V 4X9X0.8 6 FW4 F
32 411 008 1706 WASHER SPR 4 6 SW4 F
33 411 042 3001 SCR PAN 4X10 6 M4X10 PAN
34 630 094 2873 COVER 1 739FB-01V-054
35 411 051 2804 SCR TRS 4X8 6 M4X8 TRS
36 630 094 7250 RESISTOR,SPECIAL 4 RR21, RR22, RR23, RR24
739FB-01D-906
37 411 113 2209 SCR PAN 4X16 8 M4X16 PAN
38 411 119 2104 WASHER V 4X9X0.8 8 FW4 F
39 411 008 1706 WASHER SPR 4 8 SW4 F
40 411 054 8506 NUT HEX 4 8 M4 F
42 411 119 2104 WASHER V 4X9X0.8 2 FW4 F
43 411 008 1706 WASHER SPR 4 2 SW4 F
44 411 042 3001 SCR PAN 4X10 2 M4X10 PAN
45 630 049 3672 BRACKET,WIRING 2 739FB-01D-158
46 630 049 3757 ACCESSORY,WIRING 1 739FB-01D-174
47 630 049 3696 TERMINAL 8 739FB-01D-918
48 630 049 3726 ACCESSORY,WIRING 1 739FB-01D-919
49 630 049 3733 ACCESSORY,WIRING 1 739FB-01D-156

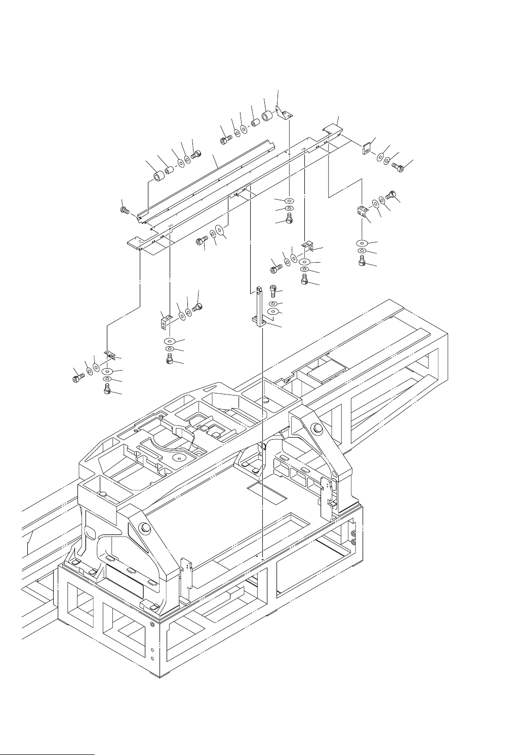
MODEL TCM-3700-2
0109-001
244
ࠞࡃㇱ COVER SECTION
Fig.12-1 ᚻߔࠅ Handrail
13
14
15
13
14
15
2
1
3
4
6
10
9
8
6
13
14
15
9
8
10
7
13
14
15
13
14
15
34
35
41
42
43
44
45
11
12
41
42
43
44
45
30
31
32
33
16
18
17
9
8
10
7
8
9
10