P-273-004e - 第12页
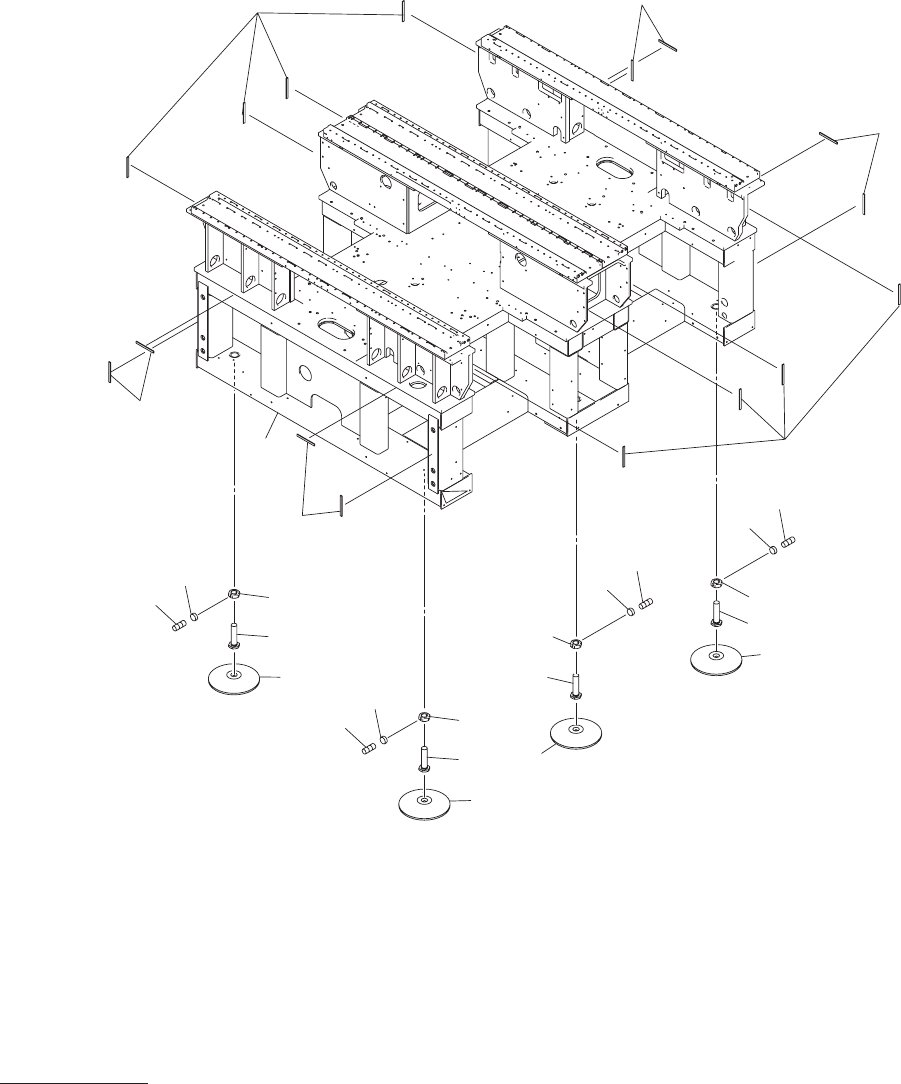
MODEL GXH-3PH 0712-002 架台 FRAME Fig. BK-1 フレーム部 Frame Section 13 12 23 24 13 1 23 24 24 23 24 23 12 13 12 13 2 2 2 2 2 2 12 1 1 1 1 1 1 1 1 BK-1 illust-1

MODEL GXH-3PH
0712-002
Fig. BK
架台
FRAME
BK illust-1

MODEL GXH-3PH
0712-002
架台
FRAME
Fig. BK-1
フレーム部
Frame Section
13
12
23
24
13
1
23
24
24
23
24
23
12
13
12
13
2
2
2
2
2
2
12
11
11
11
11
BK-1 illust-1

Key No. PART No. PART NAME Q’ty REMARKS New Code
NOTE
MODEL GXH-3PH
1004-004
1 6301611914 FRAME 1 845BK-100-001 910B0964
2 6301414249 MECH PARTS(URETHAN SHEET) 16 845BK-100-002 226J2211
11 6300425673 BOLT,HEX 6 845BK-100-011 221B0068
12 6300425697 NUT 6 845BK-100-012 221G0054
13 6300892475 BLOCK,LOCATE 6 845BK-100-013 216R0229
23 6300416770 COLLAR 6 845SA-100-013 216A0334
24 6300008975 SET SCREW 6 M6X6 SET 845SA-100-014 221C0010
BK-1
BK-1 list-1