DFD6361-Maintenance - 第22页
A-6 Structure of the top ma chine out er covers To remove the top machine outer covers, unsc rew the mounting screws. [V] TOP SI DE Mounting sc rews

A-5
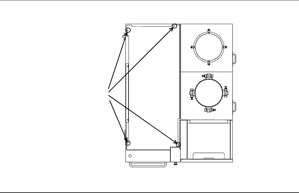
Structure of the machine outer cover of the touch panel section
The machine outer cover [P] of the touch panel section is secured with the
mounting screws.
Since the cover [P] has a hinge on its left side, when the mounting screws are
removed, the cover opens towards the left side of the machine.
FRONT SIDE
[P]
:Positionofthe
mounting screws
Mounting screw (M4)
Mounting screw (M4)
[A]
Procedures for opening the machine outer cover of the touch panel section
Step No.
Do This
1
Remove the cover [A]. Store the removed outer covers sufficiently
away from the working area.
2
Remove the cover [P]'s mounting screws (M4) which are located
at both upper and lower part of the cover.
3
While holding the right edge of the cover [P], open it toward the
left side of the machine.

A-6
Structure of the top machine outer covers
To remove the top machine outer covers, unscrew the mounting screws.
[V]
TOP SIDE
Mounting screws

A-7
2. Axis Section
Summary of this section
This section describes the structure and function of each axis.
Section No. Title Contents
2-1 Axis Arrangement - Axis arrangement of the machine
2-2 X-axis Section - Component name of the X-axis
section
- Drive section mechanism of the X-
axis section
- Axis position detection sensor of the
X-axis section
2-3 Y (Y1 and Y2)-axis
Section
- Component name of the Y (Y1 and
Y2)-axis section
- Drive section mechanism of the Y
(Y1 and Y2)-axis section
- Axis position detection sensor of the
Y (Y1 and Y2)-axis section
2-4 Z (Z1 and Z2)-axis
Section
- Component name of the Z (Z1 and
Z2)-axis section
- Drive section mechanism of the Z
(Z1 and Z2)-axis section
- Axis position detection sensor of the
Z (Z1 and Z2)-axis section
2-5
θ -axis Section
- Component name of the θ axis
section
- Drive section mechanism of the
θ-axis section
- Axis position detection sensor of the
θ-axis section
2-6 Spinner Section - Component name of the spinner
section
- Mechanism of the spinner section
2-7 Elevator Section - Component name of the elevator
section
- Drive section mechanism of the
elevator section
- Cassette setting position
- Inspection cassette setting position
- Components of UV irradiation unit