00191915-01.pdf - 第376页
7 Cosa fare ... Istruzioni per l’uso SIPLACE 80S-20/F4 7.5 Quando in qualità di utente eseguite un proc esso di controllo Versione software SR.406.xx Edizione 02 /2000 IT 374 7 Fig. 7.5 - 2 Lamiere di divisione del conte…

Istruzioni per l’uso SIPLACE 80S-20/F4 7 Cosa fare ...
Versione software SR.406.xx Edizione 02/2000 IT 7.5 Quando in qualità di utente eseguite un processo di controllo
373
Å Controllare la posizione dello stopper del circuito stampato.
Fare attenzione dello stopper sia posizionato all’esterno di eventuali scanalature del circuito
stampato.
Å Controllare i supporti magnetici sul tavolo elevatore. Essi devono essere disposti in modo tale
che non si scontrino con i componenti del lato inferiore dei circuiti stampati.
NOTA:
Tagliare i nastri per tempo in modo tale che i caricatori non si svuotino altrimenti potrebbero
verificarsi elevati tempi di arresto.
Fare tuttavia attenzione a non tagliare i nastri troppo presto poiché se dopo averle tagliate le
arrotolate alla fine del nastro vecchio del nuovo rullo, può accadere che il rullo del nuovo na-
stro si riempia troppo e il nastro potrebbe slittare, rimanendo agganciato da qualche parte.
Ciò causa errori di prelievo ed elevati tempi di arresto. 7
Å Per rulli del nastro grandi inserire assi ad innesto nel contenitore del nastro.
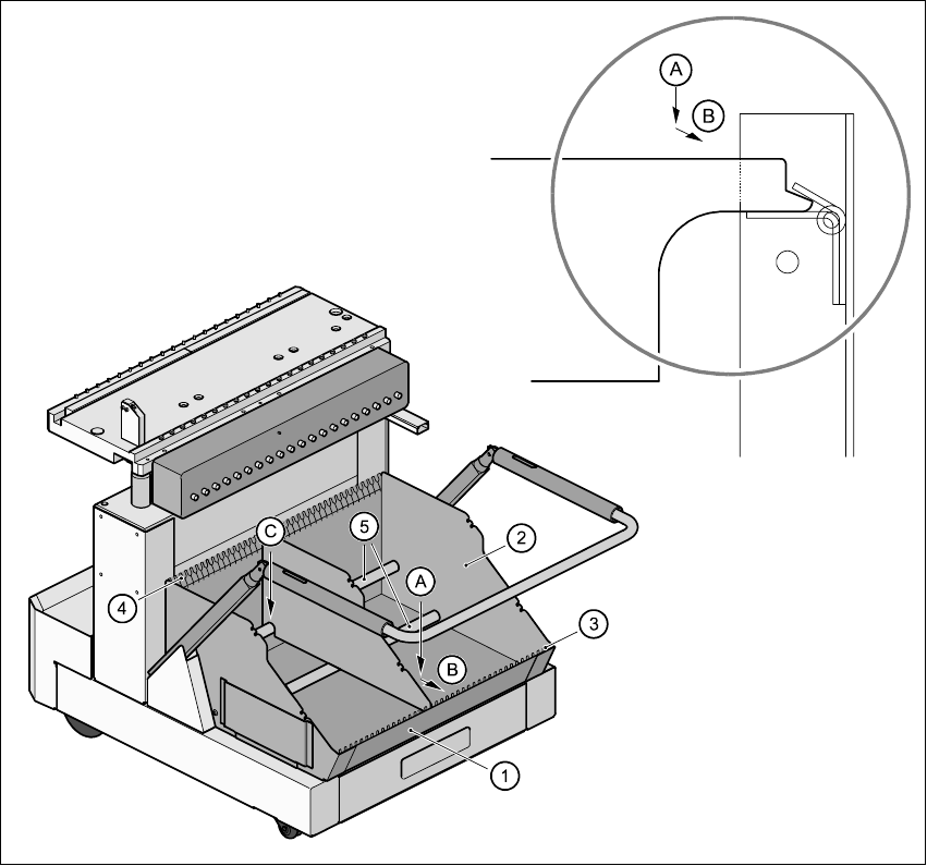
Å Inserire lamiere di divisione, come illustrato nella fig. 7.5 - 2 e fare attenzione che la divisione più
piccola del contenitore del nastro sia una divisione da 2; ciò permette di evitare errori di montag-
gio.
7
7
7

7 Cosa fare ... Istruzioni per l’uso SIPLACE 80S-20/F4
7.5 Quando in qualità di utente eseguite un processo di controllo Versione software SR.406.xx Edizione 02/2000 IT
374
7
Fig. 7.5 - 2 Lamiere di divisione del contenitore nastro
Didascalia della Fig. 7.5 - 2
(1) Contenitore per cinghia
(2) Lamiera divisoria
(3) Guida delle lamiere divisorie sul lato anteriore del contenitore
(4) Guida delle lamiere divisorie sul lato posteriore del contenitore
(5) Barra d‘appoggio delle lamiere divisorie
Sequenza delle operazioni della Fig. 7.5 - 2
A Inserire la lamiera divisoria con il nasello sotto alla guida nella parte anteriore del conteni-
tore.
B Spingere la lamiera divisoria in direzione (B).
C Spingere la lamiera divisoria fino a farla incastrare nella barra d‘appoggio (5)

Istruzioni per l’uso SIPLACE 80S-20/F4 7 Cosa fare ...
Versione software SR.406.xx Edizione 02/2000 IT 7.6 Preallestimento della stazione di montaggio
375
7.6 Preallestimento della stazione di montaggio
Per preallestire la stazione di montaggio eseguire quanto descritto qui a seguito.
Å Togliere i nastri dai caricatori e, servendosi di un aspirapolvere, aspirare bene la superficie dei
caricatori e l’area della guida del nastro.
Å Svuotare la pellicola di rivestimento dei contenitori dei rifiuti del nastro (Pos. 2).
7
Fig. 7.6 - 1 Contenitore scarti cinghia
(1) Tavolo di sostituzione CO (2) Contenitore scarti cinghia, estraibile 7
Å Pulire le superfici di appoggio dei caricatori con un panno imbevuto d’alcool.
Å Passare infine le superfici d’appoggio con un po’ di anticorrosivo WD40 servendosi di un
panno che non lasci peli.
Å Aspirare i tavoli dei componenti con un aspirapolvere o servirsi di un pennello
a setole corte per togliere componenti sciolti
.