00191915-01.pdf - 第384页
7 Cosa fare ... Istruzioni per l’uso SIPLACE 80S-20/F4 7.9 Come evitare errori di traccia Versione software SR.406.xx Edizione 02/2000 IT 382 7.9 Come evit are errori di traccia 7.9.1 In generale Å Fare at tenzione che l…

Istruzioni per l’uso SIPLACE 80S-20/F4 7 Cosa fare ...
Versione software SR.406.xx Edizione 02/2000 IT 7.8 Tavolo di sostituzione CO, spostabile
381
7.8.3 Agganciare il tavolo di sostituzione CO
AVVERTENZA 7
Controllare che la testa di montaggio si trovi fuori dall’area del tavolo di sostituzione CO. 7
ATTENZIONE 7
Durante l’aggancio del tavolo di sostituzione CO assicurarsi che il piano del tavolo CO si trovi alla
posizione finale superiore e che il telaio (Pos. 7) sia piegato verso l’alto. 7
Å Accorciare la cinghia vuota dei caricatori.
Å Controllare che la posizione d’appoggio (Pos. 10) del piano del tavolo CO sia pulita.
Å Spingere attentamente il tavolo di sostituzione CO nel dispositivo automatico.
Å Attaccare la spina d’alimentazione dell’aria compressa (Pos. 3).
Å Attaccare il cavo di comando (Pos. 1).
Å Attaccare il cavo d’alimentazione della corrente (Pos. 2) del tavolo di sostituzione CO.
Å Tirare contemporaneamente i due tubi d’azionamento (Pos. 6) nella Vostra direzione e piegare
poi verso il basso il telaio (Pos. 7) del tavolo di sostituzione CO per potere abbassare il piano
del tavolo di sostituzione CO.
Å Controllare che i fori di centraggio del piano del tavolo CO si trovino esattamente sui bulloni di
centraggio del dispositivo automatico.
Å Premere il tasto (Pos. 5) finché il piano del tavolo CO si trova alla posizione finale superiore.
Å Lasciare andare il tasto. Il piano del tavolo CO si abbasserà.
Å Accertarsi che le spine di centraggio entrino nei fori di centraggio del piano del tavolo CO e che
il piano del tavolo CO si sia completamente abbassato.
Å Piegare verso l’alto il telaio (Pos. 7) del tavolo di sostituzione CO.
Å Bloccare i due tenditori orizzontali (Pos. 11).
Å Chiudere le vetrate laterali e la cappa di protezione.
Å Accendere il dispositivo automatico con il tasto di avvio.
7
7

7 Cosa fare ... Istruzioni per l’uso SIPLACE 80S-20/F4
7.9 Come evitare errori di traccia Versione software SR.406.xx Edizione 02/2000 IT
382
7.9 Come evitare errori di traccia
7.9.1 In generale
Å Fare attenzione che le aree dei caricatori siano pulite e che nell’area di trasporto o sotto i ca-
ricatori non si trovino componenti sparsi.
Å Fare in modo che le superfici di appoggio dei caricatori e in particolare modo le guide magne-
tiche dei tavoli CO siano pulite e piane.
Å Effettuare per tempo il riempimento di componenti.
Å Tagliare i nastri per tempo. Di regola ciò significa preparare il materiale di taglio quando sul
rullo ci sono ancora 1,5 metri di nastro.
Å Quando inserite o togliete o caricatori nel tavolo dei componenti, maneggiateli con molta cau-
tela, poiché sono di apparecchi di precisione.
Å Quando inserite i caricatori fate attenzione a non premere inavvertitamente i tasti del pro-
gramma, poiché potreste p. e. spostare il ciclo dei caricatori S da 8 mm, da 4 a 2 mm.
Å Chiudere i coperchi dei caricatori poiché quando sono aperti sono facilmente soggetti a dan-
neggiamenti.
Å Controllare che nei caricatori S tutti i componenti vengano prelevati dalla posizione esatta in
relazione allo loro grandezza (vedi esempio seguente).
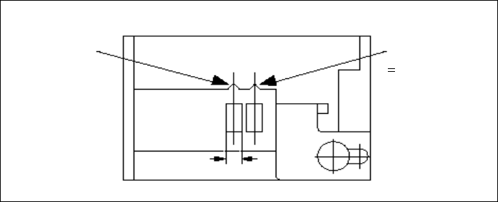
Esempio di caricatori a S di 8mm 7
7
Å Controllare se i connettori dei caricatori sono collegati alle prese giuste.
Posiz. prelievo per
Posiz. prelievo per
> 3 mm
componenti
< 3 mm
componenti
Larghezza
Istruzioni per l’uso SIPLACE 80S-20/F4 7 Cosa fare ...
Versione software SR.406.xx Edizione 02/2000 IT 7.9 Come evitare errori di traccia
383
7.9.2 ... nel caricatore nastro S da 8mm
Å Non aprire mani il coperchio senza aver prima scaricato l’aspirazione della pellicola di rivesti-
mento.
Å Impostare la posizione di prelievo e la divisione del nastro sulla base delle brevi istruzioni al-
legate ad ogni caricatore del nastro.
Å Inserire il materiale del nastro nel caricatore tramite la molla.
7.9.3 ... nel contenitore del nastro
Å Inserire bene le lamiere di divisione (vedi fig. 7.5 - 2).
Å Munire di assi ad innesto i rulli del nastro grandi.