N7202A019B - 第325页
Ref No. Remark s R 1 Q'ty 40-A ツイントレイフィーダリフト 部 :NPM-W Tw in Tray Feeder Lift Section:NPM -W イラスト No. Part No. 品 名 品番 数量 R 2 パーツリスト Kit N o . キット品 番 Kit Name キット名称 N610121141AA Part Nam e 備 考 セクションNo. PARTS LIST Sect…

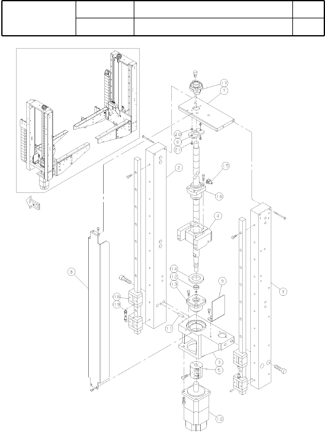
40-A
ツイントレイフィーダリフト
部
:NPM-W
Twin Tray Feeder Lift Section:NPM-W
パーツレイアウト
Ki
t
N
o
.
キット
品番
Kit Name
キット名称
N610121141AA
セクションNo.
PARTS LAYOUT
Section No.
--
O139
( KN610121141AA-07-1 )

Ref
No.
Remarks
R
1
Q'ty
40-A
ツイントレイフィーダリフト
部
:NPM-W
Twin Tray Feeder Lift Section:NPM-W
イラスト
No.
Part No.
品 名品番 数量
R
2
パーツリスト
Kit N
o
.
キット品
番
Kit Name
キット名称
N610121141AA
Part Name
備 考
セクションNo.
PARTS LIST
Section No.
R
3
FRAME
2
1 N210143541AC
FRAME
2
2 N210143542AC
BRACKET
2
3 N210063354AA
BRACKET
2
4 N210170086AA
COUPLING
2
5 KXFB017QA00
STOPPER
2
6 N210096604AA
CONNECT-BLOCK
2
7 N210096607AA
COVER
2
8 N210040290AB
COVER
2
9 N210063355AA
MOTOR
2
10 N510022126AA
S
HF-MP23B-S25
PIN
2
11 N510020618AA MMS6-15
SPACER
2
12 KXF0DX0BA00 B86012061-301
SUPPORT-UNIT
2
13 KXF043EAA00 WBK12-11
DAMPER
2
14 N510063456AA D25A9
JOINT
2
15 KXF0CX0AA00 IN-233-797(Delivery drawing available)
BALL-SCREW
2
16 N510040426AA BLK1616-3.6ZZGS+589LC8T(B)(32185496K000)
BEARING-UNIT
2
17 KXF0A00AA00 KFL001
LINEAR-WAY
4
18 N510040427AA SSR15XV2UUE+605LY-II(00995183G020)
JOINT
8
19 KXF02T7AA00 M-5H-4
SPACER
4
20 N510019911AA CB-302E
BOLT
12
21 N510000323AA
Hexagon socket button head screw M3X6 Steel Black oxide finish 12.9
O140
--
( KN610121141AA-07-1 )

40-B
ツイントレイフィーダリフト
部
:NPM-W
Twin Tray Feeder Lift Section:NPM-W
パーツレイアウト
Ki
t
N
o
.
キット
品番
Kit Name
キット名称
N610121141AA
セクションNo.
PARTS LAYOUT
Section No.
--
O141
( KN610121141AA-07-2 )