SIPLACE D4-D4i 工程师手册_EN - 第157页
Service Work 4.5.9 Replacing the Valve Positi oning Drive for the Reject C irc uit [00367768-xx] C&P12 Placement Head Service Manual SIPLACE D4/D4i 157 4.5.9 4 . 5 . 9 R e p la c in g t h e V a lv e P o s it io n in …

Service Work
C&P12 Placement Head 4.5.8 Replacing the Valve Positioning Drive for the Placement Circuit [00368075-
156 Service Manual SIPLACE D4/D4i
4.5.8.3
4.5.8.3 Mechanical Adjustment (All Versions)
Mechanical Adjustment (All Versions)
Setting the valve positioning drive for the placement position
NOTICE
Adjustment valve plunger
The DLM1 (placement position) and all valve positioning drives of the DLM2, DLM3 and DLM4
heads can be set with the adjustment valve plungers.
► Fit the dismantled placement head onto the head
mount and place both down on the front or place the
placement head down on a soft, ESD conductible
surface on its front.
► The lockscrew (1) and the fastening screw (2) of the
valve positioning drive need to be loosened or are
only screwed in slightly during assembly of the drive.
► Instead of using a valve plunger, the adjustment
plunger is now inserted for the placement position
(P), as can be seen in the diagram.
► Turn the adjustment valve plunger so that the tips of
the two centering pins are near to the cam disk be-
hind the ball bearing. Use a pointed object to careful-
ly turn the cam disk so that it is in the "starting
position" (ball bearing horizontally aligned next to the
drive shaft).
► Carefully turn the star to the valve positioning drive so
that the two centering pins behind the ball bearing
grasp the fixtures on the cam disk.
The adjustment valve plunger swivels in the correct
position (centering pins parallel to cam disk).
► Press the valve positioning drive in the direction of
the placement star and fasten the drive holder with
the 2.5 mm Allen key.

Service Work
4.5.9 Replacing the Valve Positioning Drive for the Reject Circuit [00367768-xx] C&P12 Placement Head
Service Manual SIPLACE D4/D4i 157
4.5.9
4.5.9 Replacing the Valve Positioning Drive for the Reject Circuit [00367768-xx]
Replacing the Valve Positioning Drive for the Reject Circuit [00367768-xx]
Tools and equipment
▪ Standard tool
▪ Used up to version 2: distance gauge 0.2 mm [00325445-01]
▪ Available from version 3, valid for all versions: adjustment valve plunger
► Now tighten the locking threaded pin with an Allen
key of size 0.89 mm. Press the valve positioning
drive against it. Do not tighten excessively as this
could push the valve positioning drive "backwards".
► Remove the adjustment plunger by turning the place-
ment star back and then rotating the adjustment
plunger out of the valve housing.
C&P6/12 adjustment valve plunger
Legend
1. Adjustment valve plunger for reject circuit C&P12
[03064290-01]
2. Adjustment valve plunger for placement circuit
C&P12 [03068816-01]
3. Adjustment valve plunger for reject circuit C&P6
[03068854-01]
4. Adjustment valve plunger for placement circuit C&P6
[03065628-01]
The labeling on the plungers has the following meaning:
▪ 6 = C&P6
▪ 12 = C&P12
▪ P = placement circuit
▪ R = reject circuit

Service Work
C&P12 Placement Head 4.5.9 Replacing the Valve Positioning Drive for the Reject Circuit [00367768-xx]
158 Service Manual SIPLACE D4/D4i
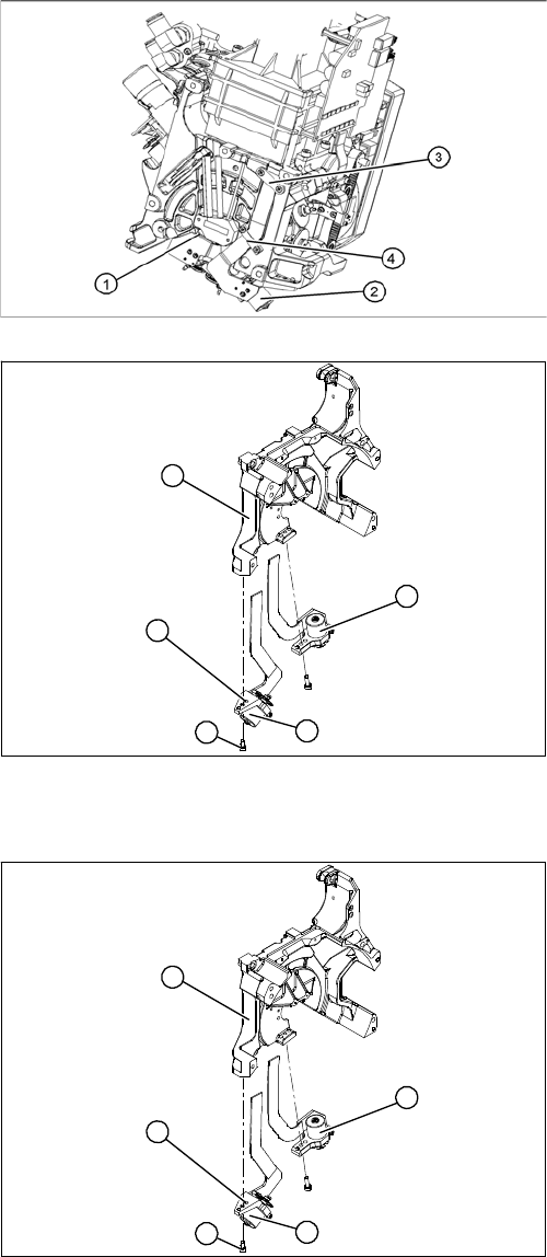
Removal
Installation
Legend
1. Valve positioning drive for the placement circuit
[00368075-xx]
2. Valve positioning drive for the reject circuit
[00367768-xx]
3. Flat ribbon cable clamp
4. Flat ribbon cable clamp
► Dismantle the C&P head.
► Loosen the two M2x6 Phillips screws on the flat rib-
bon cable clamp (3) and (4).
Legend
1. Valve positioning drive for the placement circuit
[00368075-xx]
2. Valve positioning drive for the reject circuit
[00367768-xx]
► Loosen the fastening screw (4).
► Carefully remove the valve positioning drive (2).
5
1
4
3
2
► Insert the valve positioning drive. Make sure that it is
seated correctly on the parallel pins (5).
► Loosely screw in the hexagon socket-head screw (4)
► Use the cable clamps to fix the ribbon cable in posi-
tion. Make sure that the ribbon cables are not
pinched.
5
1
4
3
2