SIPLACE D4-D4i 工程师手册_EN - 第57页
Service Work 4.1.2 Measuring the Power Supply Unit Electrical System Service Manual SIPLACE D4/D4i 57 Terminal panel of the power supply unit Terminal panel of the po wer supply unit The pin a ssignments of the individua…

Service Work
Electrical System 4.1.2 Measuring the Power Supply Unit
56 Service Manual SIPLACE D4/D4i
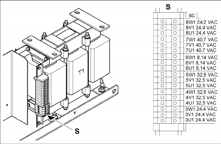
Secondary side of transformer T1
Secondary terminals of transformer T1
Transformer T1 supplies the following voltages on the secondary side:
▪ 3 x 24.4 VAC
▪ 3 x 40.7 VAC
▪ 3 x 8.14 VAC
▪ 3 x 32.5 VAC
▪ 3 x 32.5 VAC
▪ 3 x 24.4 VAC

Service Work
4.1.2 Measuring the Power Supply Unit Electrical System
Service Manual SIPLACE D4/D4i 57
Terminal panel of the power supply unit
Terminal panel of the power supply unit
The pin assignments of the individual plugs are shown in the detailed circuit diagrams in section 3 "Cir-
cuit diagrams".
T1 11.1 kVA three-phase transformer
X14 P200 V - screwed connection M6 (+) for supplying the X/Y axis servo amplifier
X15,16,17, EEP N200 V - screwed connection M8/M6 (-) for supplying the X/Y axis servo amplifier
X2 To the monitor 1, 2
X3 Box PC
X4 Micro Box PC
X5 Main distributor/subdistributor (regulated voltage)
X6 PCB conveyor
X7 Subdistributor (unregulated voltage)
X8 Axis unit 1
X9 Axis unit 2
X10 Main distributor (unregulated voltage)
X12 From/to the main distribution unit, (control signals, power supply)
X13 From/to the main distribution unit, (SSK peripherals)

Service Work
Electrical System 4.1.3 Distributors in Sectors 1-4
58 Service Manual SIPLACE D4/D4i
4.1.3
4.1.3 Distributors in Sectors 1-4
Distributors in Sectors 1-4
4.1.3.1
4.1.3.1 Replacing parts
Replacing parts
The assemblies are located behind the covers in the relevant sectors. The assemblies are fixed to profile
rails and are connected via terminal strips.
► Undo and remove the fastening screws from the relevant cover. Remove the cover.
► Mark the assembly connections for later reference.
► Loosen the assembly connections.
► Lift the assembly off the profile bar. Loosen any fastening screws.
4.1.4
4.1.4 Axis Unit
Axis Unit
4.1.4.1
4.1.4.1 Replacing parts
Replacing parts
► End all placement operations with the machine.
► Switch the placement system off at the main switch.
► You can now access the axis unit at the required location (1/4 or 2/3).
Complete Axis Unit
DIP switch on the backplane
Legend
If the axis unit has been replaced, you will need to configure the axis unit for the relevant installation po-
sition. This involves adjusting the DIP switch on the backplane accordingly.
1 Position of DIP switch on the backplane 3 Setting for axis unit at location 2/3
2 Setting for axis unit at location 1/4