Cable trees_20211124_032445 - 第62页
Cable trees Page 62 / 87 24.11.2021 Pos. Item no. Description Part marking 03052209-01 CABLE 7G0,75 BKNR D9,9 OELFLEX-150 UL 03072411-02 CABLE: POWER VACUUM TERMINAL BOX 03075762-01 CABLE: SUB DISTRIBUTOR - VACUUM PUMP 0…

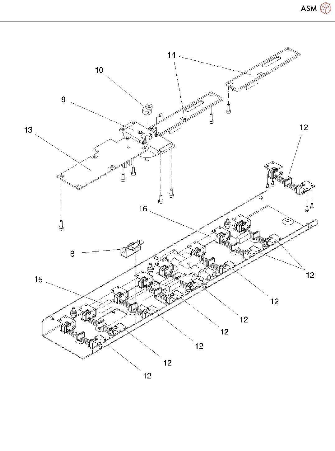
Cable trees
Page 61 / 87 24.11.2021

Cable trees
Page 62 / 87 24.11.2021
Pos. Item no. Description Part marking
03052209-01 CABLE 7G0,75 BKNR D9,9
OELFLEX-150 UL
03072411-02 CABLE: POWER VACUUM TERMINAL
BOX
03075762-01 CABLE: SUB DISTRIBUTOR -
VACUUM PUMP
00345937-01 CABLE: HS50,PWR.
SOCKET,MACHINE (U.S.A.)
SPARE PART
31 03020181-01 CABLE / SWITCH UNIT/NC C+P20
37 03021608-01 CABLE / LED/NC C+P20
40 00334212-01 KABEL: STEUERPL.
PIPETTENWECHS. - VENTIL
17 03072807-01 CONNECTING CABLE CPX
18 03073078-01 CONNECTING CABLE CPX
00334212-01 KABEL: STEUERPL.
PIPETTENWECHS. - VENTIL
03020656-03 CABLE POWER/DATA EDIF
UNLOCKING BAR
SPARE PART
03033390-01 CABLE X-S GROUNDING: BASIC
FRAME - COVERS
03033391-01 CABLE X-SERIES / SETUP AREA
POWER
03033392-01 CABLE X-SERIES / SETUP AREA CAN-
BUS
03033393-01 CABLE X-SERIES / SETUP AREA
ADDRESSING
03033394-01 CABLE X-SERIES / QUERY
COMPONENTS CARRIAGE LOCK
SETUP
03033395-01 SWITCH DOCKING STATION X COT
LOCKING
SPARE PART
03033735-01 CABLE X-SERIES / SIGNAL LAMP
SETUP AREA
03033736-01 CABLE X-SERIES / POWER LINE
SETUP AREA
03036957-02 SWITCH DOCKING STATION X
UNLOCKING
SPARE PART
03036958-01 CABLES X-SERIES /COT SET-UP
STATION
SPARE PART
03020656-03 CABLE POWER/DATA EDIF
UNLOCKING BAR
SPARE PART
34 03081940-01 TRAILING CABLE 2P G /X4I

Cable trees
Page 63 / 87 24.11.2021
Pos. Item no. Description Part marking
03080616-01 CABLE / CE TRANSDUCER / CPP SPARE PART
03063596S01 CABLE / HD - PRESSURE CONTROL
VALVE CPP
SPARE PART
03063595S01 CABLE / COMPONENT-SENSOR / CPP SPARE PART
159 03032879-02 CYLINDER SENSOR - CABLE ASSY,
COMPLETE
SPARE PART
00372913-01 CABLE EXTENSION STEPPING
MOTOR
00369020-01 CABLE LIFTING TABLE PLACEM.
AREA 1 TR. 1
00369071-01 CABLE LIFTING TABLE
PLACEM.AREA 2 TR. 1
00369073-01 CABLE LIFTING TABLE PLACEM.
AREA 1 TR. 2
SPARE PART
00369074-01 CABLE LIFTING TABLE PLACEM.
AREA 2 TR. 2
00365723-01 CABLE PCB CONVEYOR SIDE PANEL
A
00365724-01 CABLE PCB CONVEYOR SIDE PANEL
B
00365725-01 CABLE PCB CONVEYOR SIDE PANEL
C
00365726-01 CABLE PCB CONVEYOR SIDE PANEL
D
00365546-02 ADAPTER CABLE POWER SUPPLY
00369003-01 CABLE SMEMA INTERFACE TRACK 1
UPSTR. ST.
00369004-01 CABLE SMEMA INTERF. TRACK 1
DOWNSTR. ST.
00369005-02 ADAPTER CABLE SMEMA INTERFACE
TRACK 2V
00369006-02 ADAPTER CABLE SMEMA INTERFACE
TRACK 2N
00369054-04 GROUNDING WIRE HOUSING
00369053-04 GROUNDING WIRE CONVEYOR
CONTROL
00372329-01 CABLE: DISTRIBUTOR PCB
BARCODE READER
SPARE PART
31 03039849-01 GROUND WIRE 2.5QMM 570MM
159 03032879-02 CYLINDER SENSOR - CABLE ASSY,
COMPLETE
SPARE PART