JM-100-Rev02 - 第105页
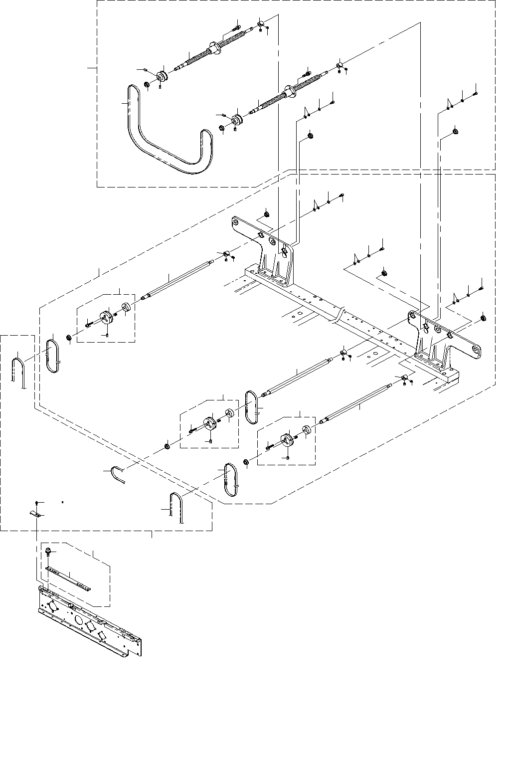
- 100 - REF.NO NOTE PART NO D E S C R I P T I O N 品 名 Qty 1 402-13923 CONVEYOR_RAIL_R_A SM コンベアレールR組 1 2 402-13783 CONV_SUPPORT_P LATE_CL コンベアサポートプレートCL (1) 3 SL-6041092-TN SCREW M4 L=10 座金付き六角穴ボルト M4 L=10 (10) 4 SL-6041…

- 99 -
50.CLINCH UNIT COMPONENTS (5) (CONVEYOR)
クリンチユニット関係(5)(搬送)
38
41
42
42
41
40
39
30
6
23
27
7
21
1
B
24
17
3
25
22
23
8
25
22
34
56
55
56
52
49
57
48
35
46
50
47
53
53
45
51
32
33
47
37
36
43
54
40
42
41
40
44
58
21
59
61
60
59
61
45
28
26
29
64
65
94
96
98
95
97
98
99
85
66
87
79
90
87
79
90
95
97
101
102
96
98
98
99
100
100
94
93
65
93
73
84
80
81
81
82
92
2
81
71
70
69
68
81
75
74
76
75
74
76
74
76
75
76
88
72
68
89
91
92
82
79
75
67
4
83
84
80
69
70
71
91
78
77
88
90
74
86
A
B
A
4
5
16
12
14
13
10
15
13
15
13
12
14
10
13
9
11
11
C
C
20
19
21
18
60
62
63
31

- 100 -
REF.NO NOTE PART NO D E S C R I P T I O N
品 名
Qty
1 402-13923 CONVEYOR_RAIL_R_ASM
コンベアレールR組
1
2 402-13783 CONV_SUPPORT_PLATE_CL
コンベアサポートプレートCL
(1)
3 SL-6041092-TN SCREW M4 L=10
座金付き六角穴ボルト M4 L=10
(10)
4 SL-6041292-TN SCREW M4 L=12
座金付き六角穴ボルト M4 L=12
(8)
5 HX-0070600-00 MOUNT BASE
マウントベース
(9)
6 402-13941 CONVEYOR_RAIL_RC_ASM
コンベアレールRC組
(1)
7 402-13786 RAIL_GUIDE_R_CL
レールガイドR_CL
(1)
8 402-13785 CONNEYOR_RAIL_RC_CL
コンベアレールRC_CL
(1)
9 402-13922 CLAMP_CYLINDER_ASM
クランプシリンダ組
(1)
10 402-13777 CLAMP_CYLINDER
クランプシリンダ
(2)
11 402-13872 SCREW
皿小ねじ
(4)
12 401-64345 SPEED_CONTROLLER_ELB
スピードコントローラELB
(4)
13 WP-0320516-KP WASHER 3.2X10X0.5
平座金 3.2X10X0.5
(4)
14 402-13846 JOINT_COLLAR_30_50
ジョイントカラー_30_50
(2)
15 402-13843 SCREW_M3_L6
スクリュー_M3_L6
(2)
16 402-13479 PCB CLAMP DOWN SENS F ASM
基板クランプダウンセンサF組
(1)
17 E2111-715-0A0 CONVEYOR PULLEY ASM.
搬送プーリ(組)
(4)
18 E2123-721-000 PWB GUIDE PLATE F
PWBガイドプレートF
(2)
19 E2124-721-000 PWB GUIDE PLATE RA
PWBガイドプレートRA
(2)
20 E2125-721-000 PWB GUIDE PLATE RB
PWBガイドプレートRB
(2)
21 SL-6030892-TN SCREW M3 L=8
座金付き六角穴ボルト M3 L=8
(10)
22 E4105-729-0A0 SHAFT SUPPORT B ASM.
シャフトサポート組
(2)
23 SL-6041092-TN SCREW M4 L=10
座金付き六角穴ボルト M4 L=10
(4)
24 SM-4040855-SC SCREW
なべ小ねじ M4 L=8
(4)
25 SM-8030302-TP SCREW M3X3
止めねじ M3X3
(2)
26 SM-4041601-SC SCREW M4X0.7 L=16
なべ小ねじ M4X0.7 L=16
(2)
27 WP-0430800-SC WASHER M4
平座金小形丸 M4
(4)
28 401-38303 RESIST_LIGHTEN_ROLLER_ASM
レイジストライテンローラ組
(2)
29 401-38182 ROLLER_SPACER
ローラスペーサ
(2)
30 402-13942 RAIL_PLATE_RL_ASM
レールプレートRL組
(1)
31 WP-0320501-SC WASHER M3
平座金 M3
(1)
32 402-13842 CONVEYOR_RAIL_CL
コンベアレールCL
(1)
33 402-13779 RAIL_PLATE_RL_CL
レールプレートRL_CL
(1)
34 400-00839 DRIVE_PULLEY_R_ASM
ドライブプーリR組
(1)
35 400-00840 DRIVE_PULLEY_R
ドライブプーリR
(1)
36 E2160-721-000 PULLEY FLANGE
プーリフランジ
(1)
37 SL-6030892-TN SCREW M3 L=8
座金付き六角穴ボルト M3 L=8
(3)
38 402-13924 SUPPORT PLATE RL ASM
サポートプレートRL組
(1)
39 402-13778 SUPPORT_PLATE_RL_CL
サポートプレートRL_CL
(1)
40 E2111-715-0A0 CONVEYOR PULLEY ASM.
搬送プーリ(組)
(3)
41 WP-0430800-SC WASHER M4
平座金小形丸 M4
(3)
42 SM-4040855-SC SCREW
なべ小ねじ M4 L=8
(3)
43 E2055-721-000 PULLEY SPACER
プーリスペーサ
(1)
44 E2089-721-0A0 CONVEYOR PULLEY B ASM.
搬送プーリB組
(1)
45 E2111-715-0A0 CONVEYOR PULLEY ASM.
搬送プーリ(組)
(2)
46 E2160-721-000 PULLEY FLANGE
プーリフランジ
(1)
47 E3931-750-000 PULLEY WASHER
プーリ スラスト ワッシャ
(2)
48 NM-6040001-SC NUT M4X0.7 TYPE1
六角ナット M4X×0.7 1種
(1)
49 SB-8200001-00 BEARING
ころがり軸受
(2)
50 SL-6030892-TN SCREW M3 L=8
座金付き六角穴ボルト M3 L=8
(3)
51 SL-6031492-TN SCREW M3 L=14
座金付き六角穴ボルト M3 L=14
(4)
52 SL-6041092-TN SCREW M4 L=10
座金付き六角穴ボルト M4 L=10
(2)
53 SM-4040855-SC SCREW
なべ小ねじ M4 L=8
(2)
54 SM-4042501-SC SCREW M4X0.7 L=25
なべ小ねじ M4X0.7 L=25
(1)
55 SM-6051002-TN SCREW
六角穴ボルト
(8)
56 WP-0430800-SC WASHER M4
平座金小形丸 M4
(2)
57 WP-0430801-SC WASHER M4
平座金 M4
(1)
58 WS-0410002-KN SPRING WASHER M4
ばね座金 M4
(1)
59 401-38303 RESIST_LIGHTEN_ROLLER_ASM
レイジストライテンローラ組
(2)
60 SM-4041201-SC SCREW M4X0.7 L=12
なべ小ねじ M4X0.7 L=12
(2)
61 WP-0430800-SC WASHER M4
平座金小形丸 M4
(2)
62 HX-0034400-00 FIXED BASE
束線パーツ
(6)
63 SL-4030591-SC SCREW M3 L=5
座金付きなべ小ねじ M3 L=5
(6)
64 402-13925 RAIL_PLATE_RR_ASM
レールプレートRR組
(1)
65 WP-0430800-SC WASHER M4
平座金小形丸 M4
(2)
66 402-13842 CONVEYOR_RAIL_CL
コンベアレールCL
(1)
67 402-13845 RAIL_PLATE_RR_CL
レールプレートRR_CL
(1)
68 400-00839 DRIVE_PULLEY_R_ASM
ドライブプーリR組
(2)
69 400-00840 DRIVE_PULLEY_R
ドライブプーリR
(1)
70 E2160-721-000 PULLEY FLANGE
プーリフランジ
(1)
71 SL-6030892-TN SCREW M3 L=8
座金付き六角穴ボルト M3 L=8
(3)
72 401-37181 SUPPORT PLATE RR ASM
サポートプレートRR組
(1)
73 401-36816 SUPPORT_PLATE_RR
サポートパネルRR
(1)
74 E2111-715-0A0 CONVEYOR PULLEY ASM.
搬送プーリ(組)
(6)
75 WP-0430800-SC WASHER M4
平座金小形丸 M4
(6)
76 SM-4040855-SC SCREW
なべ小ねじ M4 L=8
(6)
77 E2055-721-000 PULLEY SPACER
プーリスペーサ
(1)
78 E2089-721-0A0 CONVEYOR PULLEY B ASM.
搬送プーリB組
(1)
79 E2111-715-0A0 CONVEYOR PULLEY ASM.
搬送プーリ(組)
(3)
80 E2160-721-000 PULLEY FLANGE
プーリフランジ
(2)
81 E3931-750-000 PULLEY WASHER
プーリ スラスト ワッシャ
(4)
82 NM-6040001-SC NUT M4X0.7 TYPE1
六角ナット M4X×0.7 1種
(2)
83 SB-8200001-00 BEARING
ころがり軸受
(2)
84 SL-6030892-TN SCREW M3 L=8
座金付き六角穴ボルト M3 L=8
(6)
85 SL-6031492-TN SCREW M3 L=14
座金付き六角穴ボルト M3 L=14
(4)
86 SL-6041092-TN SCREW M4 L=10
座金付き六角穴ボルト M4 L=10
(2)
87 SM-4040855-SC SCREW
なべ小ねじ M4 L=8
(2)
88 SM-4042501-SC SCREW M4X0.7 L=25
なべ小ねじ M4X0.7 L=25
(2)
89 SM-6051002-TN SCREW
六角穴ボルト
(8)
90 WP-0430800-SC WASHER M4
平座金小形丸 M4
(3)
91 WP-0430801-SC WASHER M4
平座金 M4
(2)
92 WS-0410002-KN SPRING WASHER M4
ばね座金 M4
(2)
93 401-38303 RESIST_LIGHTEN_ROLLER_ASM
レイジストライテンローラ組
(2)
94 SM-4041201-SC SCREW M4X0.7 L=12
なべ小ねじ M4X0.7 L=12
(2)
95 401-37167 GUIDE_SHAFT_ASM_L
ガイドシャフト組L
4
96 SL-6052042-TN SCREW M5 L=20
座金付き六角穴ボルト M5 L=20
(1)
97 401-36819 GUIDE_SHAFT_L
ガイドシャフトL
(1)
98 WP-0501046-SC WASHER 5 X 14 X 1
平座金 5X14X1
(2)
99 SL-6051292-TN SCREW M5 L=12
座金付き六角穴ボルト M5 L=12
(1)
100 SL-6052092-TN SCREW
座金付き六角穴ボルト
4
101 401-36817 RAIL_STAND_RL
レールスタンドRL
1
102 401-36818 RAIL_STAND_RR
レールスタンドRR
1

- 101 -
51.CLINCH UNIT COMPONENTS (6) (CONVEYOR)
クリンチユニット関係(6)(搬送)
36
35
31
28
30
16
18
17
16
18
17
15
35
33
34
32
29
15
4
4
3
9
9
2
3
2
7
5
8
10
8
6
11
11
12
10
4
6
7
5
4
1
13
15
27
14
19
20
15
15
15
27
26
14
14
19
20
19
20
16
18
17
21
23
25
22
24
22
25
23
24
21
22
25
23
24
21