JM-100-Rev02 - 第112页
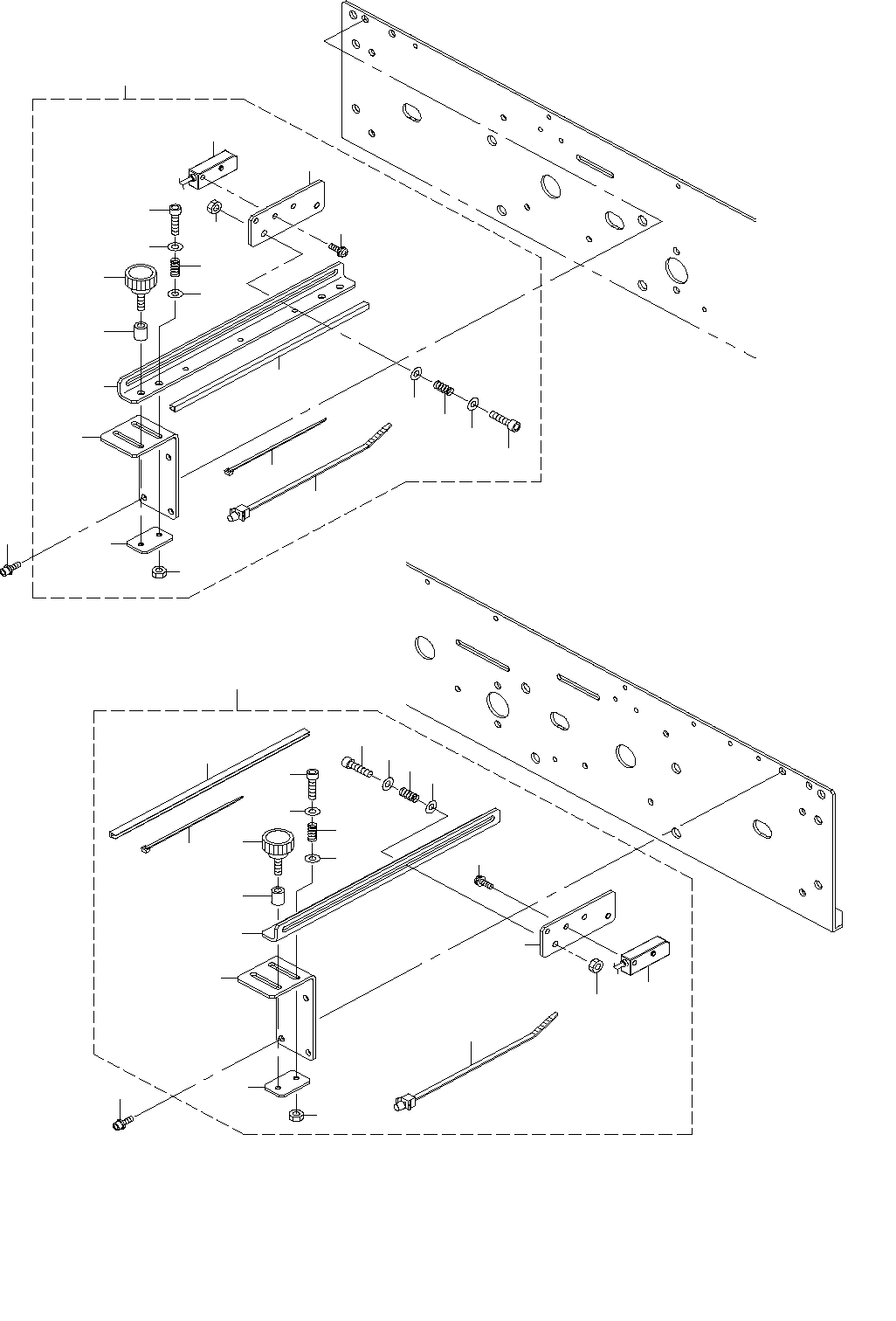
- 107 - 54. CLINCH UNIT COMPO NENTS (9) (CONVEYOR) クリンチユニット関係(9) (搬送) 33 2 18 1 17 17 32 16 15 31 26 27 11 11 7 21 27 27 26 19 25 24 20 23 27 11 11 10 10 24 8 7 9 4 3 28 12 6 29 28 22 13 12 30 14 5

- 106 -
REF.NO NOTE PART NO D E S C R I P T I O N
品 名
Qty
1 402-16986 CLINCH_CONV_UNIT_STOPPER_ASM
クリンチ搬送ユニット_ストッパ組
1
2 402-13854 STOPPER_UNIT_BASE_PL
ストッパユニットベースPL
(1)
3 400-76113 CYLINDER
シリンダ
(1)
4 401-64345 SPEED_CONTROLLER_ELB
スピードコントローラELB
(2)
5 SL-6032542-TN SCREW M3 L=25
座金付き六角穴ボルト M3 L=25
(2)
6 WP-0320500-SE WASHER 3.2X0.5
平座金小形丸 M3
(2)
7 402-13851 STOPPER_CYLINDER_PL
ストッパシリンダPL
(1)
8 NM-6050003-SC NUT M5X0.8 TYPE3
六角ナット M5X0.8 3種
(2)
9 WP-0531001-SC WASHER M5
平座金みがき丸 M5
(1)
10 WS-0510002-KN SPRING WASHER M5
ばね座金 M5
(1)
11 402-13852 STOPPER_LINK
ストッパリンク
(1)
12 E1120-706-C00 FREE LINK JOINT SCREW
フリーリンクジョイントスクリュウ
(2)
13 SL-6030592-TN SCREW M3 L=5
座金付き六角穴ボルト M3 L=5
(1)
14 E6607-705-000 LOCK HOLDER PIN
ロックホルダピン
(1)
15 RE-0400000-K0 E-RING 4
E形止め輪 4
(1)
16 402-13853 STOPPER_PL
ストッパー_PL
(1)
17 401-60376 BALL SLIDE (BSP720SLT1)
ボ−ルスライド(BSP720SLT1)
(1)
18 SM-1020501-SC SCREW M2 L=5
皿ねじ M2 L=5
(2)
19 SL-4020491-SC SCREW M2 L=4
座金付きなべ小ねじ M2 L=4
(2)
20 WP-0220301-SC WASHER M2
平座金みがき丸 M2
(2)
21 402-13855 STOPPER_FIX_PL
ストッパ_FIX_PL
(1)
22 SL-6030592-TN SCREW M3 L=5
座金付き六角穴ボルト M3 L=5
(2)
23 402-16989 STOPPER_GUIDE_BLOCK_L
ストッパガイドブロックL
(1)
24 SL-6030892-TN SCREW M3 L=8
座金付き六角穴ボルト M3 L=8
(1)
25 402-16990 STOPPER_GUIDE_BLOCK_R
ストッパガイドブロックR
(1)
26 E1426-726-000 CHUCK O-S SD
チャック開閉SD
(1)
27 RE-0200000-K0 E-RING 2
E形止め輪 2
(1)
28 SB-1030002-00 BEARING
ころがり軸受
(1)
29 SL-6030892-TN SCREW M3 L=8
座金付き六角穴ボルト M3 L=8
(1)
30 SD-0400356-TN SHOULDER SCREW D=4 H=3.5
段ねじ D=4 H=3.5
(1)
31 402-13928 STOP SENSOR ASM
ストップセンサ組
1
32 400-46992 FIBER_NUT
ファイバナット
(1)
33 400-93923 FIBER_HOLDER
ファイバーホルダ
(1)
34 SM-1031001-SC SCREW M3X0.5 L=10
皿小ねじ M3X0.5 L=10
(2)
35 SM-8030802-TP SCREW M3X0.5 L=8
止めねじ
(1)
36 401-81868 STOP SENSOR CABLE ASM
ストップセンサケーブル組
(1)
37 400-92512 FIBER
ファイバー
(1)
38 402-13929 C.OUT SENSOR ASM
C.OUTセンサ組
1
39 400-46992 FIBER_NUT
ファイバナット
(1)
40 400-93923 FIBER_HOLDER
ファイバーホルダ
(1)
41 SM-1031001-SC SCREW M3X0.5 L=10
皿小ねじ M3X0.5 L=10
(2)
42 SM-8030802-TP SCREW M3X0.5 L=8
止めねじ
(1)
43 401-81868 STOP SENSOR CABLE ASM
ストップセンサケーブル組
(1)
44 400-92512 FIBER
ファイバー
(1)
45 402-13930 WAIT_SENSOR_UNIT
ウェイトセンサユニット
1
46 400-46992 FIBER_NUT
ファイバナット
(1)
47 L179E-421-000 WAIT SENSOR BLOCK R
ウエイト センサー ブロック R
(1)
48 SL-6031092-TN SCREW M3 L=10
座金付き六角穴ボルト M3 L=10
(2)
49 SM-8020202-UZ SCREW M2 L=2
止めねじ M2 L=2
(1)
50 401-81868 STOP SENSOR CABLE ASM
ストップセンサケーブル組
(1)
51 400-92512 FIBER
ファイバー
(1)
52 402-13932 CLINCH_HEAD_SENSOR_ASM
クリンチヘッド検出センサ組
1
53 402-13869 SENSOR_BR_FR
センサブラケットFR
(1)
54 402-13870 SENSOR_BR_R
センサブラケットR
(2)
55 402-13871 NUT_PLATE
ナットプレート
(4)
56 402-13780 SENSOR_BR
センサブラケット
(2)
57 SL-6040892-TN SCREW M4 L=8
座金付き六角穴ボルト M4 L=8
(4)
58 SL-4031291-SC SCREW M3 L=12
座金付きなべ小ねじ M3 L=12
(4)
59 SL-6030892-TN SCREW M3 L=8
座金付き六角穴ボルト M3 L=8
(8)
60 401-61236 BU PIN EMISSION SENS ASM
BU ピン投光センサ組
(1)
61 401-61237 BU PIN RECEIVE SENS ASM
BU ピン受光センサ組
(1)
62 SM-4020801-SC SCREW M2 X 8
なべ小ねじ M2 L=8
(8)
63 402-13516 CY LMT SENS RECEIVE ASM
CY LMTセンサ受光組
(2)
64 402-13517 CY LMT SENS EMISSON ASM
CY LMTセンサ投光組
(2)
65 HX-0067100-0A GROMMET
グロメット
(0.04)
66 402-13868 SENSOR_BR_FL
センサブラケットFL
(1)

- 107 -
54.CLINCH UNIT COMPONENTS (9) (CONVEYOR)
クリンチユニット関係(9)(搬送)
33
2
18
1
17
17
32
16
15
31
26
27
11
11
7
21
27
27
26
19
25
24
20
23
27
11
11
10
10
24
8
7
9
4
3
28
12
6
29
28
22
13
12
30
14
5

- 108 -
REF.NO NOTE PART NO D E S C R I P T I O N
品 名
Qty
1 401-88588 LEFT SENSOR UNIT_RS-1
レフトセンサユニット_RS−1
1
2 HX-0044000-00 CABLE BAND
束線バンド
(1)
3 401-46990 SENSOR_BR_A
センサBR_A
(1)
4 401-46991 SENSOR_BR_B
センサBR_B
(1)
5 400-01079 SENSOR BRACKET C
センサブラケットC
(1)
6 400-01076 SENSOR_SLIDE_PLATE
センサスライドプレート
(1)
7 400-00912 SENSOR_ADJUST_SPRING
センサアジャストスプリング
(3)
8 400-58815 SPACER
スペーサ
(1)
9 G6518-880-000 SET PICK-UP
セットつまみ
(1)
10 SM-6041602-TN SCREW M4X16
六角穴ボルト M4X16
(3)
11 WP-0430801-SC WASHER M4
平座金 M4
(6)
12 NM-6040002-SE NUT M4X0.7 TYPE2
六角ナット M4X0.7 2種
(3)
13 401-29046 SIDE SENSOR CABLE ASM
サイドセンサケーブル組
(1)
14 SL-4031091-SC SCREW M3 L=10
座金付きなべ小ねじ M3 L=10
(2)
15 HX-0036700-0A GROMMET
エッジングブッシュ
(0.16)
16 EA-9500B00-00 CABLE BAND
束線バンド
(5)
17 SL-6031092-TN SCREW M3 L=10
座金付き六角穴ボルト M3 L=10
2
18 401-88589 RIGHT SENSOR UNIT_RS-1
ライトセンサユニット_RS−1
1
19 400-58815 SPACER
スペーサ
(1)
20 401-46990 SENSOR_BR_A
センサBR_A
(1)
21 401-46991 SENSOR_BR_B
センサBR_B
(1)
22 400-01079 SENSOR BRACKET C
センサブラケットC
(1)
23 400-01076 SENSOR_SLIDE_PLATE
センサスライドプレート
(1)
24 400-00912 SENSOR_ADJUST_SPRING
センサアジャストスプリング
(3)
25 G6518-880-000 SET PICK-UP
セットつまみ
(1)
26 SM-6041602-TN SCREW M4X16
六角穴ボルト M4X16
(3)
27 WP-0430801-SC WASHER M4
平座金 M4
(6)
28 NM-6040002-SE NUT M4X0.7 TYPE2
六角ナット M4X0.7 2種
(3)
29 401-29046 SIDE SENSOR CABLE ASM
サイドセンサケーブル組
(1)
30 SL-4031091-SC SCREW M3 L=10
座金付きなべ小ねじ M3 L=10
(2)
31 HX-0036700-0A GROMMET
エッジングブッシュ
(0.16)
32 EA-9500B00-00 CABLE BAND
束線バンド
(5)
33 HX-0044000-00 CABLE BAND
束線バンド
(1)