12-segm. collect place head compl._DLM4_20211124_095349 - 第15页
12-segm. collect+place head compl./DLM4 Page 15 / 21 24.11.2021 Pos. Item no. Description Part marking 1 03082532-01 12-SEGM. COLLECT+PLACE HEAD COMPL./DLM4 2 03082533S02 12-SEGM. C+P HEAD DLM4 / W. OUT SLEEVES Spare Par…

12-segm. collect+place head compl./DLM4
Page 14 / 21 24.11.2021

12-segm. collect+place head compl./DLM4
Page 15 / 21 24.11.2021
Pos. Item no. Description Part marking
1 03082532-01 12-SEGM. COLLECT+PLACE HEAD
COMPL./DLM4
2 03082533S02 12-SEGM. C+P HEAD DLM4 / W.
OUT SLEEVES
Spare Part
3 03082535-01 FRONT UNIT DLM4 COMPLETE
4 03000926-01 FONT PART DLM2 / FINISHED PART
5 03031187S03 STAR MOTOR C28 CPLT. SPARE PART
6 03083864S01 Z-ENGINE WITH INTERFERENCE
SUPPREES DLM4
SPARE PART
00341011-02 Z-AXIS-DRIVE, DLM1
03028761-01 FASTENING CLIP COMPL. SPARE PART
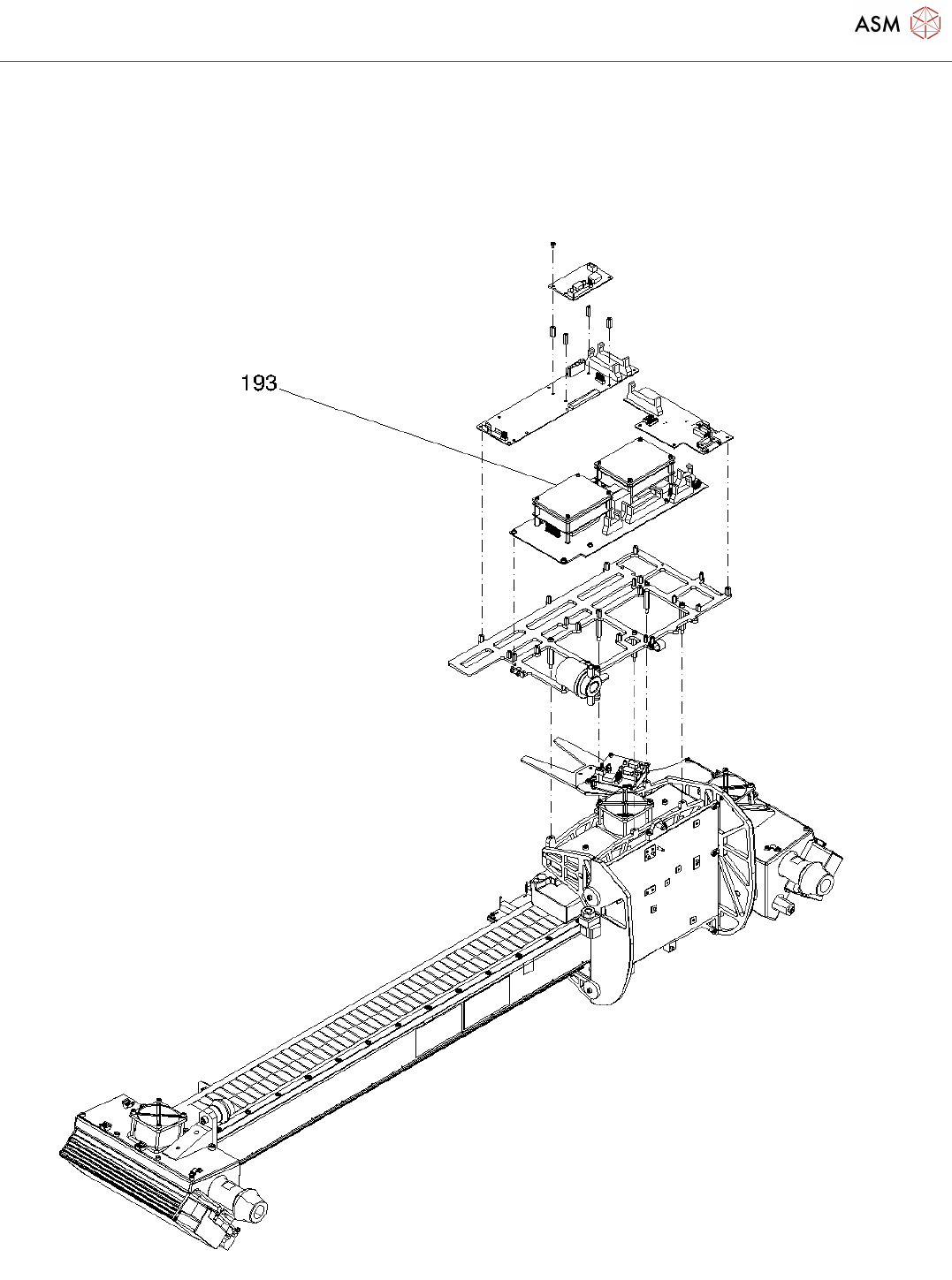
7 03082806S01 INTERFERENCE SUPPRESS. PCB Z
MOTOR DLM4
SPARE PART
8 00337640S01 1401GUIDE GEAR WHEEL, DLM1 SPARE PART
9 03001959S01 Z-AXIS CPL. DLM2 SPARE PART
10 00367793S03 BLISTER UNIT DLM2/DLM3 SPARE PART
03001695-01 DISTRIBUTOR BLOCK /DLM2
00368050-01 THREADED JOINT SMC M-5ALN-4
11 00342849-02 TUBE 20/DLM1
03049879-01 TEE HOSE NIPPLE LO 3000-2.5 STANDARD PARTS
14 00342863-02 HOSE
15 00342850-02 TUBE 21/DLM1
17 03003526-03 MICRO SWITCHING VALVE BLOWING
UNIT 15V
SPARE PART
18 03065594-01 BANJO BOLT M5 / R
19 03002197S01 DRIVER ARM ASSY SPARE PART
20 03002196S01 LIMIT BUFFER, DRIVER ARM DLM2
21 03086965-01 HANDLE COMPLETE
22 00319327S06 BEARING RACE /Z-AXIS
GUIDE/SEGM. GUIDE
SPARE PART
23 00329631-01 SLEEVE MOUNT 1
24 03039046S01 COVER Z-LIGHT BARRIER TOP II SPARE PART
25 00337715S01 MOTOR CLIP1 (Z-AXIS DRIVE), DLM1 SPARE PART
26 00343111S01 MOTOR CLIP2 (Z-AXIS DRIVE), DLM1 SPARE PART
27 00320965-02 STOP
28 00334801-01 ANGLE CLIP /DLM1
29 03043700S01 INSTEP LOCK / Z-AXIS SPARE PART

12-segm. collect+place head compl./DLM4
Page 16 / 21 24.11.2021
Pos. Item no. Description Part marking
30 03002008S01 BLAST PIPE DLM2 SPARE PART
31 00329280S01 1401TUBE 2X0,2 SPARE PART
32 00334936S01 TOOTH BELT T2, DLM1 WEAR PART
33 03053294S01 LIGHT BARRIER Z-AXIS TOP SPARE PART
34 00321524S05 SENSOR, Z-AXIS, BOTTOM SPARE PART
35 03082809S01 DISTRIBUTOR SP6_12 DIGITAL
DLM4
SPARE PART
37 00368063-01 CLIP, PANDUIT, CC S12-S08 D.3.1, B
8.2
STANDARD PARTS
03023760-01 ECCENTRIC DISC SPARE PART
46 00303193-01 DIN912-M3 X 8-A2-70
56 03082534-01 12 SEGM. C+P HEAD BACK UNIT
CPL. DLM4
57 03000510-01 REAR PART DLM2-12 / FINISHED
PART
58 03083835S01 TURNING SYSTEM CPL. DLM4 SPARE PART
59 03022671S02 DRIVE UNIT WITH SS-PINION
COMPL.
SPARE PART
60 00319387-03 MOTOR MOUNT
61 00320041S02 TOOTHED BELT SYNCHROFLEX 2.5
T2/90
WEAR PART
62 00319409-01 MOTOR CLAMP
63 03082808-01 INTERFERENCE SUPPRESS. PCB DP
MOTOR DLM4
68 03065216S01 SWING TOP COMPL. / R2 SPARE PART
69 00320043S01 O-RING 16X2 E 70 B WEAR PART
70 03029481-02 ADJUSTMENT UNIT FOR ROTARY
STATION CPLT.
71 03041056-01 SILIKON TUBE FOR DRIVE ENGINE /
R
SPARE PART
72 03047191-01 CABEL TRACK / R
73 03048125S01 PUTTING UNITY F. TRICK STATION SPARE PART
84 00319827S02 DISTRIBUTOR PIECE SPARE PART
85 00201179S01 O-RING 8*1 NBR 70B WEAR PART
86 03001653S01 BRAKE FOR STAR ASSY DLM1/2 SPARE PART
87 03001510-01 SPRING FOR BRAKE
00329722-01 LABEL 12*8
88 00328823S01 BRAKE BLOCK SPARE PART