CX-1-Rev10PDF.pdf - 第40页
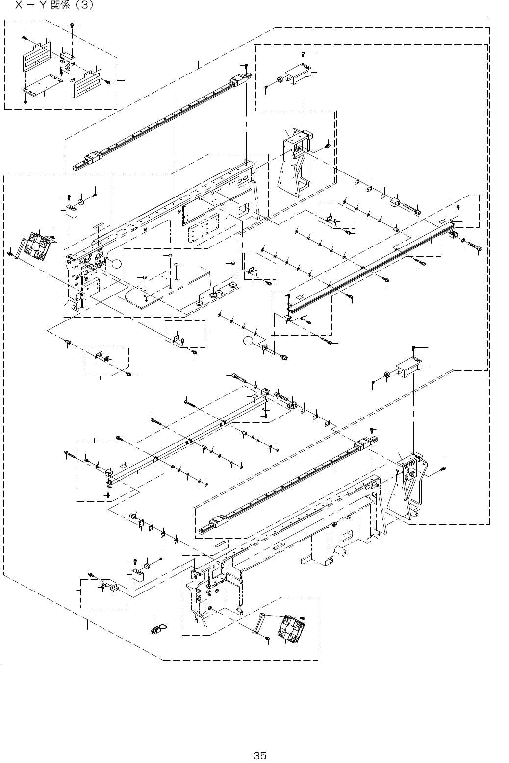
- - 18. X-Y COMPONEN TS (3) 7 7 2 7 0 7 5 7 6 7 4 5 0 5 1 6 1 6 1 5 8 5 9 5 5 5 4 4 9 6 2 6 3 8 7 8 9 8 8 8 9 8 8 8 6 9 0 9 1 1 1 3 5 7 7 7 6 4 6 4 6 5 6 5 7 1 6 5 2 6 9 6 9 4 1 6 6 6 6 6 8 7 8 1 4 1 4 7 9 7 9 8 0 4 7 …

- -
REF.NO NOTE PART NO D E S C R I P T I O N Qty
1 400-34338 X AXIS FRAME ASSY (CX-1) 1
2 400-21168 X AXIS FRAME (1)
3 400-00657 X FRAME END L (1)
4 400-00658 X FRAME END R (1)
5 SL-6064092-TN SCREW (8)
6 WP-0841601-SC WASHER 8.4X17.4X1.6 (8)
7 400-00661 PLATE NUT (4)
8 SM-1051052-TN SCREW M5 L=10 (8)
9 400-00659 LM GUIDE X (2)
10 SM-6041402-TN SCREW M4X0.7 L=14 (34)
11 400-21295 BACK RAIL (2)
12 SM-6041402-TN SCREW M4X0.7 L=14 (38)
13 400-00662 X END ADJUST SHIM A (4)
14 400-00663 X END ADJUST SHIM B (2)
15 400-00664 X END ADJUST SHIM C (2)
16 PH-0600164-C0 PIN (2)
17 HX-0029400-00 FIXED BASE (13)
18 ST-4040651-SN SCREW M4 X 6 (10)
19 SM-4040601-SC SCREW M4X0.7 L=6 (3)
20 SM-9062003-SC SCREW M6 L=20 (2)
21 NM-6060001-SC NUT M6 (2)
22 400-15660 X END ADJUST SHIM D (2)
23 400-33623 X END ADJUST SHIM E (2)
24 400-00676 XA PULLEY BRACKET L ASSY 1
25 SM-8050412-TP SCREW M5 L=4 (2)
26 HX-0029400-00 FIXED BASE (6)
27 ST-4040651-SN SCREW M4 X 6 (6)
28 SL-6062092-TN SCREW M6 L=20 (3)
29 SM-8052502-TP SCREW M5X0.8 L=25 1
30 NM-6050001-SC NUT M5 1
31 400-00683 XA PULLEY BRACKET R ASS'Y 1
32 SM-8050412-TP SCREW M5 L=4 (2)
33 HX-0029400-00 FIXED BASE (9)
34 ST-4040651-SN SCREW M4 X 6 (9)
35 SL-6062092-TN SCREW M6 L=20 (6)
36 SL-6064092-TN SCREW 6
37 SM-8052502-TP SCREW M5X0.8 L=25 1
38 NM-6050001-SC NUT M5 1
39 400-00675 TIMING BELT XM 2
40 400-00685 X MOTOR ASS'Y 2
41 SL-6051692-TN BOLT 8
42 SM-8053002-TP SCREW M5 L=30 2
43 NM-6050001-SC NUT M5 2
44 400-01685 TIMING BELT XB (60) ASS'Y 1
45 WP-0430801-SC WASHER 4.3X9X0.8 (16)
46 400-00688 TIMING BELT XB (1)
47 400-00689 X BELT STAY L (1)
48 SL-6053592-TN BOLT (4)
49 SL-6052592-TN BOLT (4)
50 WP-0641601-SC WASHER (4)
51 400-00690 X BELT STAY R (1)
52 SL-6052592-TN BOLT (3)
53 WP-0641601-SC WASHER (3)
54 400-01659 X BELT STAY HOLDER L (1)
55 SL-6053592-TN BOLT (4)
56 SM-6057552-TP SCREW M5 L=75 (1)
57 WP-0641601-SC WASHER (1)
58 400-00691 X BELT STAY (2) (2)
59 SM-6051602-TN BOLT (8)
60 SL-6064092-TN SCREW 6
61 400-00741 PLASTIC RAIL 2
62 400-00742 PLASTIC RAIL TABLE CLAMP C 1
63 400-58017 ENERGY CHAIN X 1
64 400-65019 PLASTIC RAIL BRACKET B 1
65 400-01674 PLASTIC RAIL BRACKET A 1
66 NM-6060001-SC NUT M6 4
67 SL-3061232-TN SCREW 4
68 400-00740 PLASTIC RAIL ASSY 1
69 SL-6041292-TN SCREW 2
70 400-31812 LINEAR SCALE X ASM 1
71 SL-6052592-TN BOLT 22
72 400-00682 XA PULLEY BASE 2
73 400-21329 X BELT COVER R 2
74 SL-6041092-TN SCREW 4
75 400-21330 X BELT COVER R BRACKET 4
76 SM-3040652-TN SCREW M4 L=6 8
77 NM-6040001-SC NUT M4 2
78
#01
400-69117 CABLE BEAR ASSY 1
79 400-58017 ENERGY CHAIN X (1)
80 400-65019 PLASTIC RAIL BRACKET B (1)
81 400-66028 CB SUPPORT A (1)
82 400-66027 PLASTIC RAIL SUPPORT A (1)
83 SL-6040892-TN BOLT (2)
84 SL-6041292-TN SCREW (4)
85 NM-6040001-SC NUT M4 (2)
86 MGR-EAS380G0 GREASE 380G 1

- -
18.X-Y COMPONENTS (3)
7
7 2
7 0
7 5
7 6
7 4
5 0
5 1
6 1
6 1
5 8
5 9
5 5
5 4
4 9
6 2
6 3
8 7
8 9
8 8
8 9
8 8
8 6
9 0
9 1
1 1
3
5
7
7 7
6 4
6 4
6 5
6 5
7 1
6
5 2
6 9
6 9
4
1
6 6
6 6
6
8
7 8
1 4
1 4
7 9
7 9
8 0
4 7
4 6
3 8
3 7
3 3
3 5
4 5
1 0
A
A
7 9
3 8
3 8
4 7
8 0
2
4 4
1 2
3 7
1 3
8 1
8 2
4 4
3 7
4 1
5 7
6 0
1 9
1 8
1 7
3 9
5 6
8 3
2 6
2 7
1 6
3 1
2 2
2 3
3 2
3 2
2 8
3 4
8 2
8 1
8 3
4 3
8 2
8 1
8 3
3 9
4 0
4 0
3 9
4 1
4 1
3 9
4 0
4 0
4 1
3 9
4 1
4 0
3 9
4 0
4 1
3 9
2 5
2 4
1 5
2 9
1 9
2 3
2 0
2 1
3 0
7 3
2 8
2 9
2 0
8 0
3 6
4 6
4 0
4 1
4 8
8 5
8
9
4 2
4 2
4 2
4 2
4 2
4 2
4 2
5 3
8 4
6 8
6 9
6 7
6 8
8 4
6 9
6 7
6 8
8 4
8 4
6 8

- -
REF.NO NOTE PART NO D E S C R I P T I O N Qty
1 400-34361 Y AXIS FRAME (CX-1) ASSY 1
2 400-30919 Y EXTENDED FRAME L(L) (1)
3 SL-6063092-TN SCREW M6 L=30 (8)
4 400-30918 Y EXTENDED FRAME R(L) (1)
5 SL-6063092-TN SCREW M6 L=30 (8)
6 400-00703 LINEAR WAY Y(L) (2)
7 SM-6052002-TN BOLT (48)
8 TA-1030402-R0 RUBBER PLUG D=10.3 L=4 (3)
9 TA-1030402-R0 RUBBER PLUG D=10.3 L=4 (2)
10 135-29607 SHUTTLE PACKING (2)
11 400-34362 Y AXIS SUB ASSY (CX-1) 1
12 SL-6061492-TN BOLT (2)
13 HX-0033900-00 STUD (2)
14 400-33189 Y STOPPER LONG (2)
15 400-35226 LINEAR SCALE YL RECOMMEND SET (1)
16 400-31813 LINEAR SCALE YL ASM (1)
17 400-34945 LINEAR SCALE CAP L (1)
18 400-34944 LIP CAP (1)
19 400-35179 PLATE WASHER (2)
20 SL-4031091-SC SCREW M3 X 10 (4)
21 SL-6030892-TN SCREW (2)
22 400-34947 LINEAR SCALE BRACKET L (3)
23 E3858-715-000 SEAL (2)
24 400-35227 LINEAR SCALE YR RECOMMEND SET (1)
25 400-31814 LINEAR SCALE YR ASM (1)
26 400-34945 LINEAR SCALE CAP L (1)
27 400-34944 LIP CAP (1)
28 400-35179 PLATE WASHER (2)
29 SL-6031092-TN SCREW (4)
30 SL-6030892-TN SCREW (2)
31 400-34948 LINEAR SCALE BRACKET R (3)
32 E3858-715-000 SEAL (2)
33 400-21280 SCALE SUPPORT FL (1)
34 400-21281 SCALE SUPPORT FR (1)
35 400-21282 SCALE SUPPORT RL (1)
36 400-21283 SCALE SUPPORT RR (1)
37 400-21284 SCALE SUPPORT C (3)
38 400-30895 SCALE SUPPORT C1 (3)
39 400-30860 LINEAR SCALE SHIM A (7)
40 400-30861 LINEAR SCALE SHIM B (7)
41 400-37294 LINEAR SCALE SHIM C (7)
42 400-43343 LINEAR SCALE SHIM D (7)
43 SL-6063592-TN SCREW (2)
44 SL-6043092-TN BOLT (4)
45 SL-6065092-TN BOLT (2)
46 SM-6064002-TN HEXAGONAL-HOLE BOLT (2)
47 WS-0610002-KN SPRING WASHER 6.1X12.2X1.5 (2)
48 SL-6061292-TN SCREW (1)
49 400-34363 Y MINUS LMT SENSOR ASSY (CX-1) (1)
50 400-21291 Y-LMT BRACKET A (1)
51 400-02068 YL MINUS LMT SENSOR ASM (1)
52 SL-6040892-TN BOLT (2)
53 400-34364 Y PLUS LMT SENSOR ASSY (CX-1) (1)
54 400-30862 Y-LMT SENSOR BRACKET S (1)
55 400-02070 YL+ LMTSENSOR(FEEDER)ASM (1)
56 SL-6040892-TN BOLT (2)
57 400-34365 Y++ LMT SENNSOR ASSY (CX-1) (1)
58 400-30862 Y-LMT SENSOR BRACKET S (1)
59 400-02069 YL+ LMTSENSOR(TRAY)ASM (1)
60 SL-6040892-TN BOLT (2)
61 400-00712 YM FAN BRACKET (2)
62 E9247-729-HA0 YL MOTOR FAN ASM. (1)
63 E9250-729-HA0 YR MOTOR FAN ASM. (1)
64 SL-6061092-TN SCREW (4)
65 SL-4033091-SC SCREW M3 L=30 (4)
66 E2333-715-000 CAUTION SEAL (2)
67 400-00708 Y STOPPER (2)
68 400-49671 COVER CUSHION (8)
69 SM-6126002-TN SCREW M12 L=60 (12)
70 400-01675 Y-ORG BRACKET L ASS'Y (1)
71 400-13313 Y-ORG BRACKET L (1)
72 400-02171 YL ORG SENSOR ASM (1)
73 SL-6040892-TN BOLT (2)
74 400-01676 Y-ORG BRACKET R ASS'Y (1)
75 400-00710 Y-ORG BRACKET R (1)
76 400-02172 YR ORG SENSOR ASM (1)
77 SL-6040892-TN BOLT (2)
78 400-02352 Y PLUS LMT SENSOR SHORT WIRE ASM (1)
79 SL-6041692-TN SCREW (3)
80 SL-6043092-TN BOLT (3)
81 400-33633 LINEAR SCALE SHIM A(BLK) (3)
82 400-33634 LINEAR SCALE SHIM B(BLK) (3)
83 400-37295 LINEAR SCALE SHIM C(BLK) (3)
84 SM-4030601-SC SCREW M3 X 6 (8)
85 400-01652 CONNECTOR BRACKET Y ASS'Y 1
86 SM-3040652-TN SCREW M4 L=6 (4)
87 400-01653 CONNECTOR BRACKET Y (1)
88 400-01654 CONNECTOR BRACKET SUPPORT (2)
89 SM-3040652-TN SCREW M4 L=6 (4)
90 400-01661 CONNECTOR BRACKET SUPPORT (1)
91 SL-3061232-TN SCREW 2