4OM-1141-001 - 第11页
0305-001 1 - B

ϕ㡗ϕ㡗
ϕ㡗ϕ㡗
ϕ㡗
㓉㓉
㓉㓉
㓉
gg
gg
g
ֲݐֲݐ
ֲݐֲݐ
ֲݐ
0305-001 1-A
Һ䖰㸡ᴁ㺚㕃ⱙ㓉Һ䖰㸡ᴁ㺚㕃ⱙ㓉
Һ䖰㸡ᴁ㺚㕃ⱙ㓉Һ䖰㸡ᴁ㺚㕃ⱙ㓉
Һ䖰㸡ᴁ㺚㕃ⱙ㓉
gg
gg
g
ֲݐЏᇎ䈶ͼֲݐЏᇎ䈶ͼ
ֲݐЏᇎ䈶ͼֲݐЏᇎ䈶ͼ
ֲݐЏᇎ䈶ͼ
䇉ᯣ݈ѣᅯ᳴㓉䇉ᯣ݈ѣᅯ᳴㓉
䇉ᯣ݈ѣᅯ᳴㓉䇉ᯣ݈ѣᅯ᳴㓉
䇉ᯣ݈ѣᅯ᳴㓉
gg
gg
g
ֲݐㄞݚᆎȢֲݐㄞݚᆎȢ
ֲݐㄞݚᆎȢֲݐㄞݚᆎȢ
ֲݐㄞݚᆎȢ

0305-001 1-B

1.1.
1.1.
1.
ᅯ᳴㓉ᅯ᳴㓉
ᅯ᳴㓉ᅯ᳴㓉
ᅯ᳴㓉
gg
gg
g
ֲݐֲݐ
ֲݐֲݐ
ֲݐ
1.11.1
1.11.1
1.1
㓉㓉
㓉㓉
㓉
gg
gg
g
ֲݐࠢⱙ⊽ᛤѠ乎ֲݐࠢⱙ⊽ᛤѠ乎
ֲݐࠢⱙ⊽ᛤѠ乎ֲݐࠢⱙ⊽ᛤѠ乎
ֲݐࠢⱙ⊽ᛤѠ乎
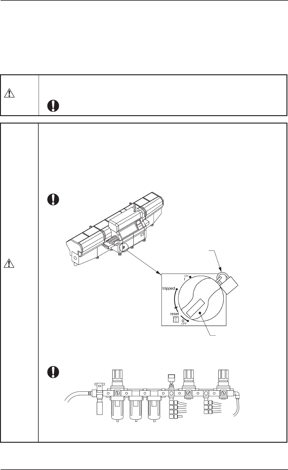
Џћ㛒Ք㺚㕃䖥䕁⢋ᗖ㡄དྷͼᇎ⚎ẕȡ⏚ᡀȡ㒮⊎䇘ᭉㄞ䖰㸡䇉
ᯣȢ䇌⹃ߜدདྷ㺚㕃ⱙᅯ᳴㓉ֲݐᎺԱȢ
1.1.
1.1.
1.
ᅯ᳴㓉ᅯ᳴㓉
ᅯ᳴㓉ᅯ᳴㓉
ᅯ᳴㓉
gg
gg
g
ֲݐֲݐ
ֲݐֲݐ
ֲݐ
0305-001 1-1
⇩⑥䚽⇩⑥䚽
⇩⑥䚽⇩⑥䚽
⇩⑥䚽
•
㓉ֲݐᯋͼ㓉ֲݐᯋͼ
㓉ֲݐᯋͼ㓉ֲݐᯋͼ
㓉ֲݐᯋͼ
ᖚ乐ߜᮂ⬊⑥⇩⑥ͼᖚ乐ߜᮂ⬊⑥⇩⑥ͼ
ᖚ乐ߜᮂ⬊⑥⇩⑥ͼᖚ乐ߜᮂ⬊⑥⇩⑥ͼ
ᖚ乐ߜᮂ⬊⑥⇩⑥ͼ
䫖ϟ⬊䯍䫖ϟ⬊䯍
䫖ϟ⬊䯍䫖ϟ⬊䯍
䫖ϟ⬊䯍Ȣ
•
䇌Ϣ㽖䅾㓉׃ҏਭҺⱙҏᣔࠅᣗ䫖ⱙ䩺࣮䇌Ϣ㽖䅾㓉׃ҏਭҺⱙҏᣔࠅᣗ䫖ⱙ䩺࣮
䇌Ϣ㽖䅾㓉׃ҏਭҺⱙҏᣔࠅᣗ䫖ⱙ䩺࣮䇌Ϣ㽖䅾㓉׃ҏਭҺⱙҏᣔࠅᣗ䫖ⱙ䩺࣮
䇌Ϣ㽖䅾㓉׃ҏਭҺⱙҏᣔࠅᣗ䫖ⱙ䩺࣮Ȣ
•
ᔨϷ༆ᤴത៦্݁ᦥհⱙ䫖ᯋͼᔨϷ༆ᤴത៦্݁ᦥհⱙ䫖ᯋͼ
ᔨϷ༆ᤴത៦্݁ᦥհⱙ䫖ᯋͼᔨϷ༆ᤴത៦্݁ᦥհⱙ䫖ᯋͼ
ᔨϷ༆ᤴത៦্݁ᦥհⱙ䫖ᯋͼ
䇌㸡䌂хᣗ䫖䇌㸡䌂хᣗ䫖
䇌㸡䌂хᣗ䫖䇌㸡䌂хᣗ䫖
䇌㸡䌂хᣗ䫖Ȣ
⬊⑥䚽⬊⑥䚽
⬊⑥䚽⬊⑥䚽
⬊⑥䚽
䄻ਟ䄻ਟ
䄻ਟ䄻ਟ
䄻ਟ
• 䇌
Ϩϯ㓉׃ҏਭϨϯ㓉׃ҏਭ
Ϩϯ㓉׃ҏਭϨϯ㓉׃ҏਭ
Ϩϯ㓉׃ҏਭᣞ✼
ᣜᅯⱙ乏ᑤᣜᅯⱙ乏ᑤ
ᣜᅯⱙ乏ᑤᣜᅯⱙ乏ᑤ
ᣜᅯⱙ乏ᑤ䖰㸡Ȣ
Fig.4A1Fig.4A1
Fig.4A1Fig.4A1
Fig.4A1
Fig.4A2Fig.4A2
Fig.4A2Fig.4A2
Fig.4A2
䄻ਟ䄻ਟ
䄻ਟ䄻ਟ
䄻ਟ
ᣗ䫖ᣗ䫖
ᣗ䫖ᣗ䫖
ᣗ䫖
((
((
(
No.2500 30No.2500 30
No.2500 30No.2500 30
No.2500 30
MM)MM)
MM)MM)
MM)
⬊䯍⬊䯍
⬊䯍⬊䯍
⬊䯍