4OM-1141-001 - 第18页
ߛ䜢ᵿ ߛ䜢ᵿ ߛ䜢ᵿ ߛ䜢ᵿ ߛ䜢ᵿ DG10KIT DG10KIT DG10KIT DG10KIT DG10KIT ⫽ఉ ⫽ఉ ⫽ఉ ⫽ఉ ⫽ఉ Table 4A7 Table 4A7 Table 4A7 Table 4A7 Table 4A7 㾙 㾙 㾙 㾙 㾙 ḑ ḑ ḑ ḑ ḑ ᔷ ᔷ ᔷ ᔷ ᔷ ⢋ ⢋ ⢋ ⢋ ⢋ ⍻⒦⊎Ք⫽ఉᭅ䞤 ⍻⒦⊎Ք⫽ఉᭅ䞤 ⍻⒦⊎Ք⫽ఉᭅ䞤 ⍻⒦⊎Ք⫽ఉᭅ䞤 ⍻⒦⊎Ք⫽…

(6) ߛ䜢ᵿ DG10KIT
ॗᆋৢ⿅ ΊSanei Tech
Ք⫽Ϟ⾢⍻⒦⊎䖰㸡⊽⊎Ȣ
ߛᓕՔ⫽⊽ᇙఽఉȢ
3 ⾢⍻⒦⊎Ί DAPHNE EPONEX GREASE No.1
DAPHNE EPONEX GREASE No.3
NEW MOLYNOC GREASE No.1
㾗㾗
㾗㾗
㾗
Fig. 4A4Fig. 4A4
Fig. 4A4Fig. 4A4
Fig. 4A4
䜢༬ݚᆎ䜢༬ݚᆎ
䜢༬ݚᆎ䜢༬ݚᆎ
䜢༬ݚᆎ
Table 4A6Table 4A6
Table 4A6Table 4A6
Table 4A6
ખખ
ખખ
ખ
ৢৢ
ৢৢ
ৢ
ᭅᭅ
ᭅᭅ
ᭅ
䞤䞤
䞤䞤
䞤
10CC ⫽ߛ䜢ᵿАԨ 1
⊽ᇙఽ 20
⌐ำ 20
ሓᐒ 20
⊽ᇙఽᐒ 20
Ք⫽ᮎ⊪Ք⫽ᮎ⊪
Ք⫽ᮎ⊪Ք⫽ᮎ⊪
Ք⫽ᮎ⊪
(6-1) 䗞ᢾ䇘ᭉ䪃⫽ “ 䆓ᅯ 1 ”Ȣ
䇌⊽ᛤͼ㢺⫽ “ 䆓ᅯ 2 ” ⍻⒦⊎ӯ䖜䞤Ȣ
ֲㅶߛ䜢ᵿᯋͼ⫽ “ 䆓ᅯ R ” Ȣ
(6-2) ⊎ᯋͼ䇌ᖚ乐ᇛᡟᶙⱙ䬄啔䚽ߛᳲϠՔ⫽Ȣ
(6-3) ⹃䅹⊎ⱙ䞤ৣͼհ⊎Ȣ
(6-4) ↤䕐䕐ॠᵔᴏৣͼ䖰㸡հ⊎Ȣ
Ք⫽ᮎ⊪䇌গ㗘䰙ᏻⱙߛ䜢ᵿ䇉ᯣлȢ
0305-001 1-6
1.21.2
1.21.2
1.2
㓉㓉
㓉㓉
㓉
gg
gg
g
ֲݐޛໜֲݐޛໜ
ֲݐޛໜֲݐޛໜ
ֲݐޛໜ
ఉఉ
ఉఉ
ఉ
⊽ᇙఽ⊽ᇙఽ
⊽ᇙఽ⊽ᇙఽ
⊽ᇙఽ
ᵔᴏᵔᴏ
ᵔᴏᵔᴏ
ᵔᴏ
䬄啔䚽ߛ䬄啔䚽ߛ
䬄啔䚽ߛ䬄啔䚽ߛ
䬄啔䚽ߛ
䗞ᢾ䇘ᭉ䪃䗞ᢾ䇘ᭉ䪃
䗞ᢾ䇘ᭉ䪃䗞ᢾ䇘ᭉ䪃
䗞ᢾ䇘ᭉ䪃

ߛ䜢ᵿߛ䜢ᵿ
ߛ䜢ᵿߛ䜢ᵿ
ߛ䜢ᵿ
DG10KITDG10KIT
DG10KITDG10KIT
DG10KIT
⫽ఉ⫽ఉ
⫽ఉ⫽ఉ
⫽ఉ
Table 4A7Table 4A7
Table 4A7Table 4A7
Table 4A7
㾙㾙
㾙㾙
㾙
ḑḑ
ḑḑ
ḑ
ᔷᔷ
ᔷᔷ
ᔷ
⢋⢋
⢋⢋
⢋
⍻⒦⊎Ք⫽ఉᭅ䞤⍻⒦⊎Ք⫽ఉᭅ䞤
⍻⒦⊎Ք⫽ఉᭅ䞤⍻⒦⊎Ք⫽ఉᭅ䞤
⍻⒦⊎Ք⫽ఉᭅ䞤
ܘӋ㓫ৌܘӋ㓫ৌ
ܘӋ㓫ৌܘӋ㓫ৌ
ܘӋ㓫ৌ
ໜໜ
ໜໜ
ໜ
⊽⊽
⊽⊽
⊽
DAPHNEDAPHNE
DAPHNEDAPHNE
DAPHNE
DAPHNEDAPHNE
DAPHNEDAPHNE
DAPHNE
NEWNEW
NEWNEW
NEW
ᘐՔ⫽ᭅᘐՔ⫽ᭅ
ᘐՔ⫽ᭅᘐՔ⫽ᭅ
ᘐՔ⫽ᭅ
EPONEXEPONEX
EPONEXEPONEX
EPONEX
EPONEXEPONEX
EPONEXEPONEX
EPONEX
MOLYNOCMOLYNOC
MOLYNOCMOLYNOC
MOLYNOC
No.1No.1
No.1No.1
No.1
⫽⫽
⫽⫽
⫽
No.3No.3
No.3No.3
No.3
⫽⫽
⫽⫽
⫽
1.21.2
1.21.2
1.2
㓉㓉
㓉㓉
㓉
gg
gg
g
ֲݐޛໜֲݐޛໜ
ֲݐޛໜֲݐޛໜ
ֲݐޛໜ
0305-001 1-7
No.14No.14
No.14No.14
No.14
((
((
(
’Ὑ㡇’Ὑ㡇
’Ὑ㡇’Ὑ㡇
’Ὑ㡇
))
))
)
No.18No.18
No.18No.18
No.18
((
((
(
㓔㡇㓔㡇
㓔㡇㓔㡇
㓔㡇
))
))
)
No.19No.19
No.19No.19
No.19
((
((
(
㤋㡇㤋㡇
㤋㡇㤋㡇
㤋㡇
))
))
)
No.20No.20
No.20No.20
No.20
((
((
(
㉞㑷㡇㉞㑷㡇
㉞㑷㡇㉞㑷㡇
㉞㑷㡇
))
))
)
HL2HL2
HL2HL2
HL2
ᔷᔷ
ᔷᔷ
ᔷ
RRRR
RRRR
RR
ᔷᔷ
ᔷᔷ
ᔷ
11
11
1
00
00
0
11
11
1
2 2
2 2
2
630 062 2591630 062 2591
630 062 2591630 062 2591
630 062 2591
11
11
1
00
00
0
00
00
0
11
11
1
630 062 2607630 062 2607
630 062 2607630 062 2607
630 062 2607
00
00
0
11
11
1
11
11
1
22
22
2
630 062 2621630 062 2621
630 062 2621630 062 2621
630 062 2621
11
11
1
00
00
0
11
11
1
22
22
2
630 062 2614630 062 2614
630 062 2614630 062 2614
630 062 2614
00
00
0
11
11
1
00
00
0
11
11
1
630 105 4445630 105 4445
630 105 4445630 105 4445
630 105 4445
00
00
0
11
11
1
00
00
0
11
11
1
630 110 5307630 110 5307
630 110 5307630 110 5307
630 110 5307
ॗᆋॗᆋ
ॗᆋॗᆋ
ॗᆋ
::
::
:
Sanei TechSanei Tech
Sanei TechSanei Tech
Sanei Tech
ݚᕙݚᕙ
ݚᕙݚᕙ
ݚᕙ
ΊΊ
ΊΊ
Ίφ
1.61.6
1.61.6
1.6
TaperedTapered
TaperedTapered
Tapered
ఉఉ
ఉఉ
ఉ
#5114TT-B #5114TT-B
#5114TT-B #5114TT-B
#5114TT-B
ॗᆋॗᆋ
ॗᆋॗᆋ
ॗᆋ
::
::
:
Sanei TechSanei Tech
Sanei TechSanei Tech
Sanei Tech
ݚᕙݚᕙ
ݚᕙݚᕙ
ݚᕙ
ΊΊ
ΊΊ
Ίφ
1.61.6
1.61.6
1.6
TaperedTapered
TaperedTapered
Tapered
ఉఉ
ఉఉ
ఉ
#5118TT-B #5118TT-B
#5118TT-B #5118TT-B
#5118TT-B
ॗᆋॗᆋ
ॗᆋॗᆋ
ॗᆋ
ΊΊ
ΊΊ
Ί
NiproNipro
NiproNipro
Nipro
ݚᕙݚᕙ
ݚᕙݚᕙ
ݚᕙ
ΊΊ
ΊΊ
Ίφ
0.790.79
0.790.79
0.79
䭔䭔
䭔䭔
䭔
::
::
:
65 mm65 mm
65 mm65 mm
65 mm
ሓツ᠖ᑈሓツ᠖ᑈ
ሓツ᠖ᑈሓツ᠖ᑈ
ሓツ᠖ᑈ
ॗᆋॗᆋ
ॗᆋॗᆋ
ॗᆋ
ΊΊ
ΊΊ
Ί
Sanei TechSanei Tech
Sanei TechSanei Tech
Sanei Tech
ݚᕙݚᕙ
ݚᕙݚᕙ
ݚᕙ
ΊΊ
ΊΊ
Ίφ
0.580.58
0.580.58
0.58
TaperedTapered
TaperedTapered
Tapered
ఉఉ
ఉఉ
ఉ
#5120TT-B#5120TT-B
#5120TT-B#5120TT-B
#5120TT-B
ॗᆋॗᆋ
ॗᆋॗᆋ
ॗᆋ
:SHC:SHC
:SHC:SHC
:SHC
ॗᆋॗᆋ
ॗᆋॗᆋ
ॗᆋ
:SHC:SHC
:SHC:SHC
:SHC

0305-001 1-8
1.31.3
1.31.3
1.3
㓉㓉
㓉㓉
㓉
gg
gg
g
ֲݐഏ᠕ֲݐഏ᠕
ֲݐഏ᠕ֲݐഏ᠕
ֲݐഏ᠕
1.3.11.3.1
1.3.11.3.1
1.3.1
ᭉԨᭉԨ
ᭉԨᭉԨ
ᭉԨ
䆻㒛䇉ᯣ䇌গ✼ “1.3.2” Һৣⱙサ㡗Ȣ
•
㓉ֲݐᯋͼ㓉ֲݐᯋͼ
㓉ֲݐᯋͼ㓉ֲݐᯋͼ
㓉ֲݐᯋͼ
䇌ࡶᖚߜᮂ⬊⑥Һট⇩⑥ͼ䇌ࡶᖚߜᮂ⬊⑥Һট⇩⑥ͼ
䇌ࡶᖚߜᮂ⬊⑥Һট⇩⑥ͼ䇌ࡶᖚߜᮂ⬊⑥Һট⇩⑥ͼ
䇌ࡶᖚߜᮂ⬊⑥Һট⇩⑥ͼ
䫖ϟ䫖ϟ
䫖ϟ䫖ϟ
䫖ϟ
बब
बब
ब
ҁ䬂ҁ䬂
ҁ䬂ҁ䬂
ҁ䬂
ȢȢ
ȢȢ
Ȣ
••
••
•
䇌⽖ℷ㓉׃ҏਭҺⱙҏՔ⫽ᣗ䫖ⱙ䩺࣮Ȣ䇌⽖ℷ㓉׃ҏਭҺⱙҏՔ⫽ᣗ䫖ⱙ䩺࣮Ȣ
䇌⽖ℷ㓉׃ҏਭҺⱙҏՔ⫽ᣗ䫖ⱙ䩺࣮Ȣ䇌⽖ℷ㓉׃ҏਭҺⱙҏՔ⫽ᣗ䫖ⱙ䩺࣮Ȣ
䇌⽖ℷ㓉׃ҏਭҺⱙҏՔ⫽ᣗ䫖ⱙ䩺࣮Ȣ
••
••
•
ফᥞ㺚㕃ⱙᴏⲫৣ䖰㸡ᎺԱȢফᥞ㺚㕃ⱙᴏⲫৣ䖰㸡ᎺԱȢ
ফᥞ㺚㕃ⱙᴏⲫৣ䖰㸡ᎺԱȢফᥞ㺚㕃ⱙᴏⲫৣ䖰㸡ᎺԱȢ
ফᥞ㺚㕃ⱙᴏⲫৣ䖰㸡ᎺԱȢ
㓉ֲݐ㒨ᴴৣͼ㓉ֲݐ㒨ᴴৣͼ
㓉ֲݐ㒨ᴴৣͼ㓉ֲݐ㒨ᴴৣͼ
㓉ֲݐ㒨ᴴৣͼ
䇌ࡶᖚᇛ㺚㕃ᴏⲫⲫདྷȢ䇌ࡶᖚᇛ㺚㕃ᴏⲫⲫདྷȢ
䇌ࡶᖚᇛ㺚㕃ᴏⲫⲫདྷȢ䇌ࡶᖚᇛ㺚㕃ᴏⲫⲫདྷȢ
䇌ࡶᖚᇛ㺚㕃ᴏⲫⲫདྷȢ
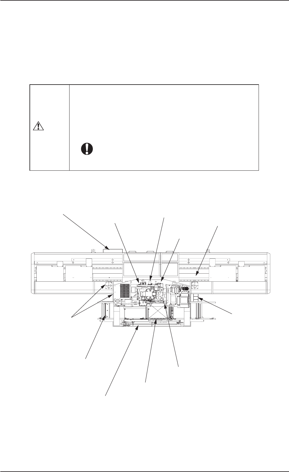
Fig.4A5Fig.4A5
Fig.4A5Fig.4A5
Fig.4A5
㺚㕃ׄ㾛㺚㕃ׄ㾛
㺚㕃ׄ㾛㺚㕃ׄ㾛
㺚㕃ׄ㾛
1.31.3
1.31.3
1.3
㓉㓉
㓉㓉
㓉
gg
gg
g
ֲݐഏ᠕ֲݐഏ᠕
ֲݐഏ᠕ֲݐഏ᠕
ֲݐഏ᠕
⊽ᛤ⊽ᛤ
⊽ᛤ⊽ᛤ
⊽ᛤ
(18)(18)
(18)(18)
(18)
ফ傭ᑻ㸺ℸ䚽ফ傭ᑻ㸺ℸ䚽
ফ傭ᑻ㸺ℸ䚽ফ傭ᑻ㸺ℸ䚽
ফ傭ᑻ㸺ℸ䚽
(22)(22)
(22)(22)
(22)
䗖᭮ᏻपԢ䚽䗖᭮ᏻपԢ䚽
䗖᭮ᏻपԢ䚽䗖᭮ᏻपԢ䚽
䗖᭮ᏻपԢ䚽
(13) (13)
(13) (13)
(13)
᭮䔻䚽᭮䔻䚽
᭮䔻䚽᭮䔻䚽
᭮䔻䚽
(20)(20)
(20)(20)
(20)
䌉㺚傭ᑻ㸺ℸ䚽䌉㺚傭ᑻ㸺ℸ䚽
䌉㺚傭ᑻ㸺ℸ䚽䌉㺚傭ᑻ㸺ℸ䚽
䌉㺚傭ᑻ㸺ℸ䚽
(8)(8)
(8)(8)
(8)
ܘӋ䅹䆛ܞ⑥㺚㕃ܘӋ䅹䆛ܞ⑥㺚㕃
ܘӋ䅹䆛ܞ⑥㺚㕃ܘӋ䅹䆛ܞ⑥㺚㕃
ܘӋ䅹䆛ܞ⑥㺚㕃
(7)XY(7)XY
(7)XY(7)XY
(7)XY
ᎺԱ䚽ᎺԱ䚽
ᎺԱ䚽ᎺԱ䚽
ᎺԱ䚽
(2)(2)
(2)(2)
(2)
く㋐㒴く㋐㒴
く㋐㒴く㋐㒴
く㋐㒴
(3)(3)
(3)(3)
(3)
ᇭఽȡᇭఽȡ
ᇭఽȡᇭఽȡ
ᇭఽȡ
൘ഓㆆ൘ഓㆆ
൘ഓㆆ൘ഓㆆ
൘ഓㆆ
(5)(5)
(5)(5)
(5)
Ђ䯉ᅞ㺚Ђ䯉ᅞ㺚
Ђ䯉ᅞ㺚Ђ䯉ᅞ㺚
Ђ䯉ᅞ㺚
(26)(26)
(26)(26)
(26)
䚽䖜Ⓓఽ䚽䖜Ⓓఽ
䚽䖜Ⓓఽ䚽䖜Ⓓఽ
䚽䖜Ⓓఽ
ތॉ亣ތॉ亣
ތॉ亣ތॉ亣
ތॉ亣
(27)L/R(27)L/R
(27)L/R(27)L/R
(27)L/R
ӵ䗖ᏻ䚽ӵ䗖ᏻ䚽
ӵ䗖ᏻ䚽ӵ䗖ᏻ䚽
ӵ䗖ᏻ䚽
(17) (17)
(17) (17)
(17)
㒔䏄ᵔᨁ䖥䚽㒔䏄ᵔᨁ䖥䚽
㒔䏄ᵔᨁ䖥䚽㒔䏄ᵔᨁ䖥䚽
㒔䏄ᵔᨁ䖥䚽