文档中心
/
Base gantry_20211122_045823
Base gantry_20211122_045823 - 第2页
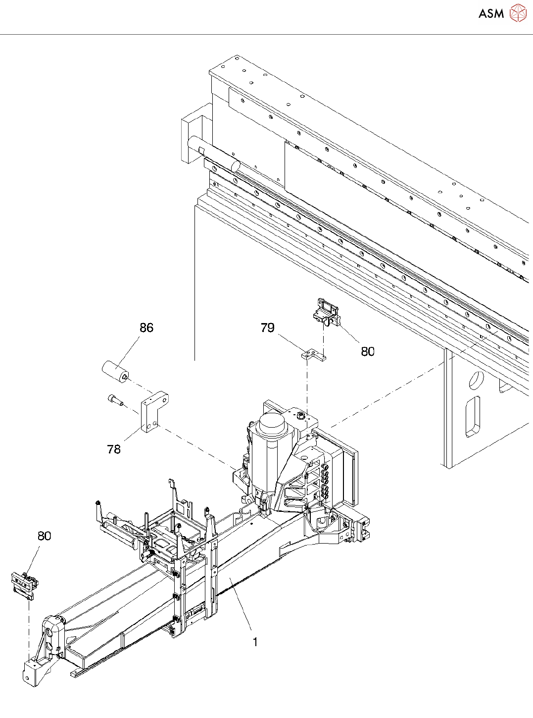
Base gantry Page 2 / 11 22.11.2021
目录
100%
显示:宽度
宽度
1 / 11
回到旧版
旧版
?
Base gantry
Page 1 / 11
22.11.2021
Base gantry
Page 2 / 11
22.11.2021
Base gantry
Page 3 / 11
22.11.2021
该页面需要启用 JavaScript 才能进行交互式预览。