00196371-0102_ AI_Kopfständer_ DE EN - 第13页
Universal Head Stand item no. 03056231-01 Ausgabe 04/2008 Edition 13 1.3 Design und function of the head st and The head st and consists o f a foldable frame (1) and a turnable hea d mounting plate (2) . Af ter the assem…

12
1.2 General
This document describes the assembly and folding of the head mount and the installation of the
placement heads on the head stand.
The head stand was developed primarily for the maintenance of the placement heads C&P20 and
C&P20A.
Furthermore the following placement heads can be installed on the head stand:
- Pick&Place module (Twin Head)
- C&P 6/12 DLM 2 and DLM3
- C&P20, C&P20 A
- CPP
- IC Head
- C&P6/12 DLM1 resp. 10000 series (only with restrictions)
fig. 1.2 - 1 Universal head stand - folded together

Universal Head Stand item no. 03056231-01
Ausgabe 04/2008 Edition
13
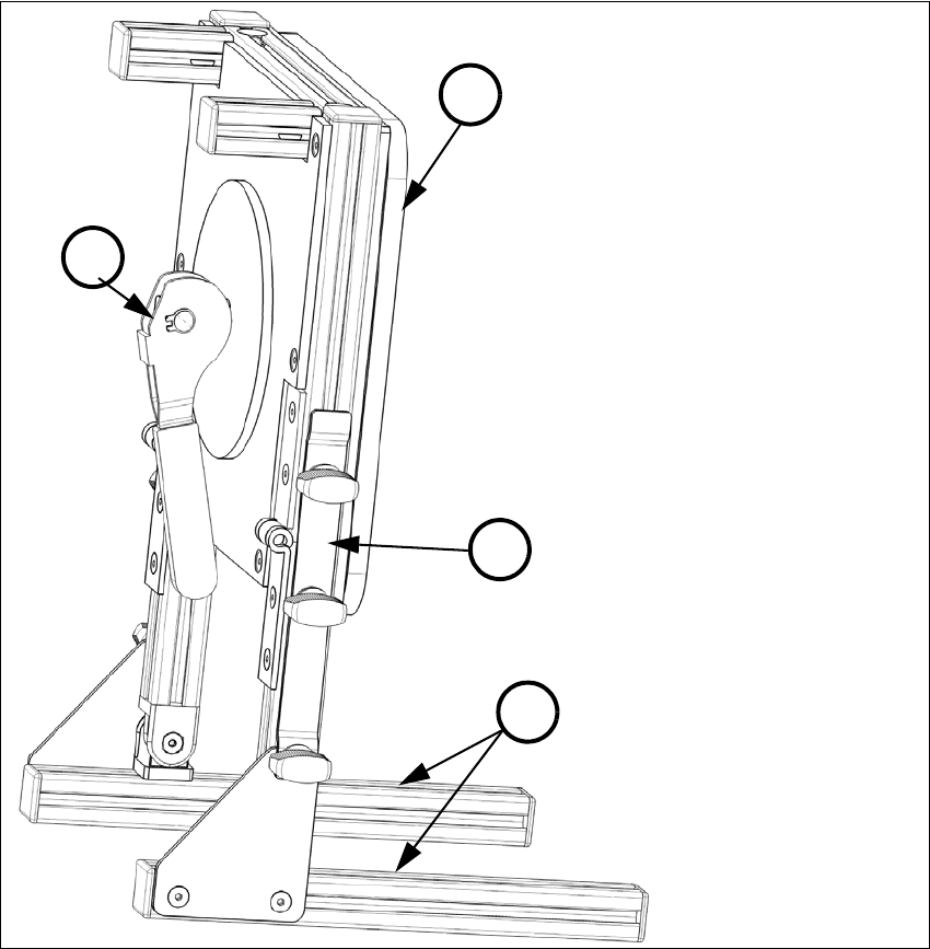
1.3 Design und function of the head stand
The head stand consists of a foldable frame (1) and a turnable head mounting plate (2). After the
assembly of the head mount the placement head can be installed in "zero degree position". The
head can be turned in the desired position and is fixed by means of the red lever (3).
(1) foldable frame (2) head mounting plate
(3) red lever - fixing the head mounting plate (4) locking rail with mounting bolts
3
2
1
4

14
1.3.1 Assembly of the head
Æ Put the head stand with the mounting plate down onto an even table.
Æ Losen the screws (1) on the left and the right side - 3 screws on each side.
Æ Move the left and the right locking rail (2) forward.
Æ Unfold the two feet of the head stand (2).
Æ Attention: Don’t push the feet of the head stand downward!
Æ Move the locking rail backward again in order to unfold the head stand comple.(3)
Æ Now move the locking rail forward so that the mounting screws lock into the notch (4).
Æ Fix the screws easily and put the head stand onto the table.
Æ Align both feet of the head stand so that the head stand doesn’t tilt and tighten all 6 mounting
screws (5).
fig. 1.3 - 1 Sequence of the head stand assembly
1
3
2
4
5