00196371-0102_ AI_Kopfständer_ DE EN - 第6页
Universal Head Stand item no. 030562 31-01 Ausgabe 04/2008 Edition 6 1.2 Allgemeines Dieses Dokumen t beschreibt den Aufbau u nd das Zusammenlegen des Kopfstä nders, sowie die Montage der Köpf e an den Ko pfständer . Der…

Universal Head Stand item no. 03056231-01
Ausgabe 04/2008 Edition
5
1 Universal Bestückkopf Montageständer
Artikel Nr. 03056231-01
1.1 Sicherheitshinweise
WARNUNG
Übergeordnet gelten die Sicherheitshinweise im Kapitel Betriebssicherheit der Betriebsanleitung
und der Serviceanleitung.
Die Automaten SIPLACE werden mit Netzspannung versorgt.
Teile der Anlage führen daher gefährliche Spannungen! Diese Spannung liegt im Maschinenstän-
der-Innenraum an bestimmten Baugruppen auch bei ausgeschaltetem Hauptschalter an!
Unsachgemäßer Umgang mit dem Automaten oder die Berührung spannungsführender Teile
des Automaten kann zu Tod oder schwerer Körperverletzung sowie zu erheblichem Sachscha-
den führen.
Vor allen Arbeiten muß - nach ordnungsgemäßem Herunterfahren des Betriebssystems - die
Maschine am Hauptschalter ausgeschaltet und vom Netz getrennt worden sein. Zusätzlich muß
anschließend die Druckluftzuführung am Hauptventil der Drucklufteinheit im Maschinenständer
abgeschaltet worden sein.
In der Nähe der Linearmotoren besteht Gefahr für Träger von Herzschrittmachern, wie im Detail
im Kapitel "Spezielle Sicherheitshinweise für Arbeiten in der Nähe starker Magnetfelder" in der
Betriebs- und Serviceanleitung beschrieben.
Beachten Sie jederzeit die geltenden Unfallverhütungs- und DIN-Vorschriften und die speziellen
Sicherheitsvorschriften Ihres Landes.
Beachten Sie die Ausführungen zu den Restpannungen im Kapitel "Betriebssicherheit".
Beachten Sie die EGB -Vorschriften wie in der Betriebsanleitung, Kap. Betriebssicherheit,
beschrieben.
Sichern Sie die Maschine während der Servicearbeiten gewissenhaft gegen andere Personen
und gegen unbefugtes Wiedereinschalten, wie in der Betriebsanleitung im Kapitel "Verriegeln
des Automaten...." beschrieben.
Bei der Arbeit mit dem SITEST-Programm besteht zusätzliche, erhöhte Unfallgefahr.
Das SITEST-Programm darf nur durch hierfür autorisierte und geschulte Personen gestartet wer-
den.
1

Universal Head Stand item no. 03056231-01
Ausgabe 04/2008 Edition
6
1.2 Allgemeines
Dieses Dokument beschreibt den Aufbau und das Zusammenlegen des Kopfständers, sowie die
Montage der Köpfe an den Kopfständer.
Der Kopfständer wurde vorrangig für die Instandhaltung der Bestückköpfe C&P20 und C&P20A
entwickelt.
Weiterhin können an den Kopfständer folgende Bestückköpfe montiert werden:
- Pick-Place-Modul (Twin Head)
- C&P 6/12 DLM 2 und 3
- C&P20, C&P20 A
- CPP
- IC Kopf
- C&P6/12 DLM1 bzw. 10000er mit Einschränkung
Abb. 1.2 - 1 Universal Bestückkopf Montageständer "Zusammengefaltet"

Universal Head Stand item no. 03056231-01
Ausgabe 04/2008 Edition
7
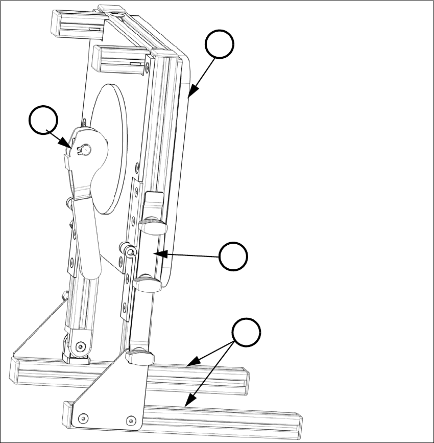
1.3 Aufbau und Funktion des Kopfständers
Der Kopfständer besteht aus einem klappbaren Grundgestell (1) und einer drehbaren Kopfmon-
tageplatte (2). Nach Aufbau des Kopfständers kann der Kopf in der "0 Gradlage" montiert werden
und am Kopfgehäuse in jede beliebige Position gedreht und mit Hilfe des roten Hebels (3) fixiert
werden.
(1) klappbares Grundgestell (2) Kopfmontageplatte
(3) Roter Hebel, zum Fixieren der Kopfmonta-
geplatte
(4) Verriegelungsleiste mit Befesti-
gungsschrauben
3
2
1
4