N7202A058B[201707].pdf - 第210页
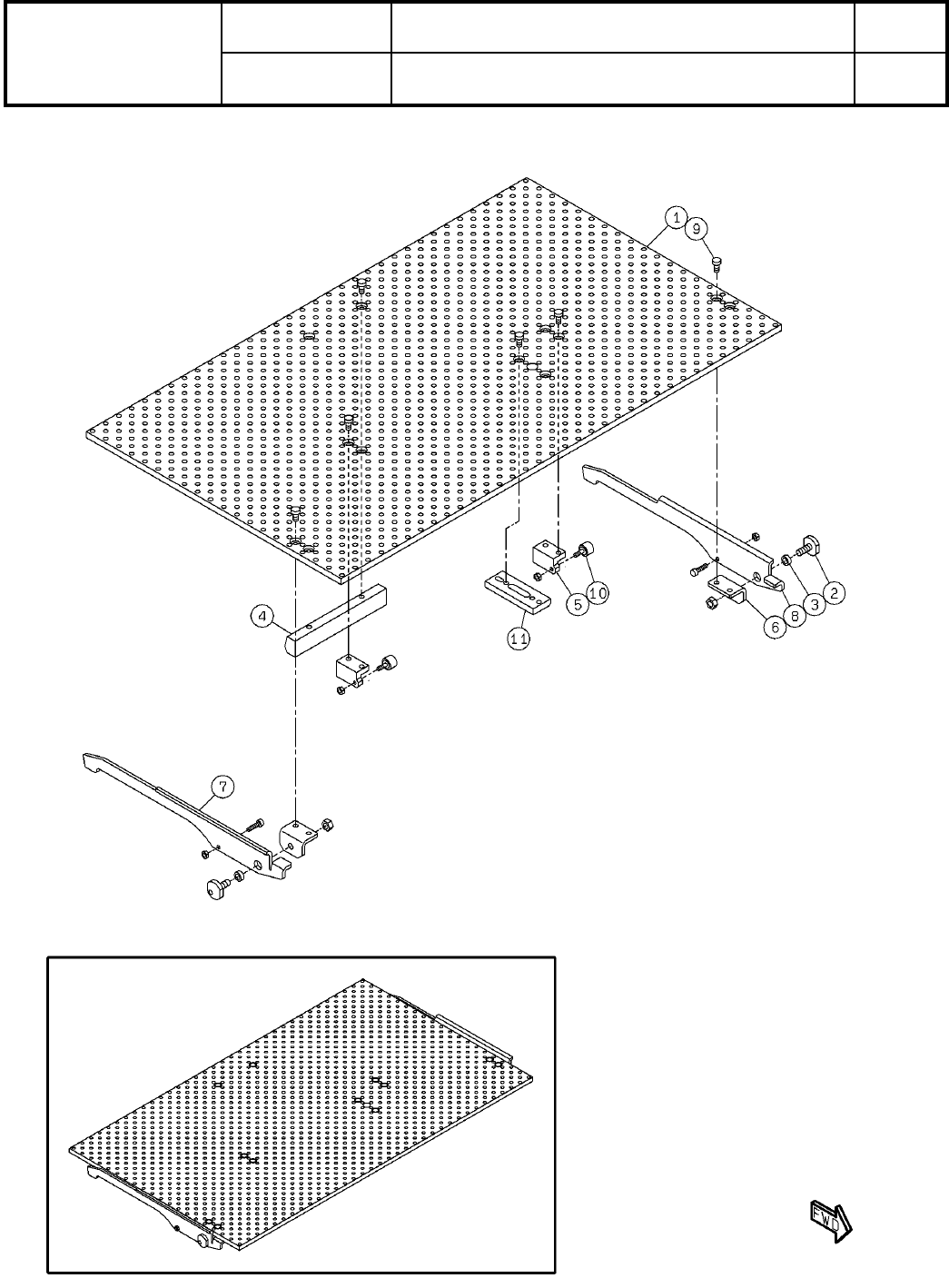
3 基板下受けブロックデュアル対応:NPM-TT Board Support Block For Dual:NPM -TT パーツレイアウト Kit No. キット 品番 Kit Name キット名称 N610136590AA セクションNo. PARTS LAYOUT Section No. - - O25 ( KN610136590AA-07 )

Ref
No.
Remarks R
1
Q'ty
2-C
基板ホルダデュアル対応:NPM-TT2
Board Holder For Dual:NPM-TT2
イラスト
No.
Part No.
品 名品 番 数量
R
2
パーツリスト
Kit No.
キット品番
Kit Name
キット名称
MTKA008435AA
Part Name
備 考
セクションNo.
PARTS LIST
Section No.
R
3
BRACKET
2
1 MTPB009294AA
BRACKET
2
3 N210134081AA
BRACKET
2
4 N210159012AA
JOINT
2
5 N510066749AA KQ2E06-00NJ
VALVE
2
6 KXF0BV4AA00 SYJ514R-5LOZ-01
JOINT
2
7 N510066461AA KQ2L06-M5A
SPEED-CONTROLLER
2
8 KXF09WUAA00 ASD330F-01-06S
VALVE
2
9 MTNP001299AA 4GA130-M5-A2NFS-FL640398-3-ST
SPEED-CONTROLLER
4
10 KXF00YVAA00 AS1211F-M5-06
SILENCER
4
11 KXF0BB2AA00 SLM-M5
JOINT
2
12 N431GWL6M5 GWL6-M5
JOINT
2
13 N510066456AA KQ2U06-00A
JOINT
2
14 N510066452AA KQ2U06-99A
O24
--
( KMTKA008435AA-04-3 )

3
基板下受けブロックデュアル対応:NPM-TT
Board Support Block For Dual:NPM-TT
パーツレイアウト
Kit No.
キット品番
Kit Name
キット名称
N610136590AA
セクションNo.
PARTS LAYOUT
Section No.
--
O25
( KN610136590AA-07 )

Ref
No.
Remarks R
1
Q'ty
3
基板下受けブロックデュアル対応:NPM-TT
Board Support Block For Dual:NPM-TT
イラスト
No.
Part No.
品 名品 番 数量
R
2
パーツリスト
Kit No.
キット品番
Kit Name
キット名称
N610136590AA
Part Name
備 考
セクションNo.
PARTS LIST
Section No.
R
3
PLATE
1
1 N210161350AB
PIN
2
2 N210161075AA
COLLAR
2
3 N210156596AA
BRACKET
1
4 N210168109AB
BRACKET
2
5 N210161077AA
BRACKET
2
6 N210156599AA
LEVER
1
7 N210161078AB
LEVER
1
8 N210161079AB
BOLT
12
9 N510067773AA Low Head Cap Screw M4X8-8.8 A2J(Trivalent)
CAM-FOLLOWER
2
10 KXF00BFAA00 CF3UU-A
BLOCK
1
11 N210165840AC
O26
--
( KN610136590AA-07 )