N7202A058B[201707] - 第217页
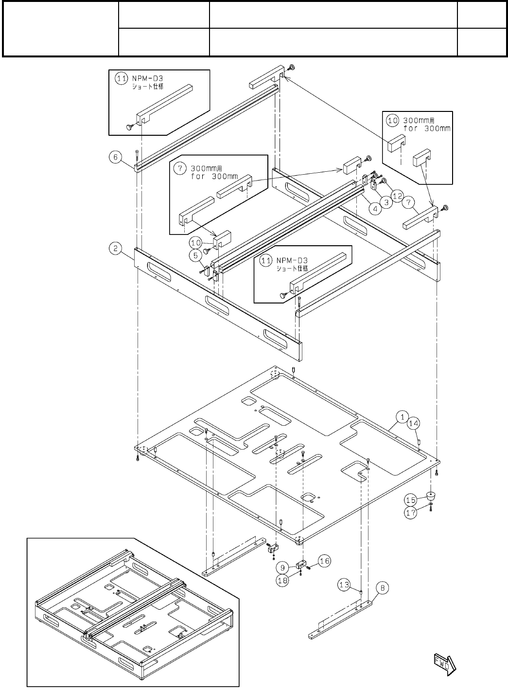
Ref No. Remarks R 1 Q'ty 6 基板下受けブロックシングル対応:NPM-TT Board Support Block For Single:NPM -TT イラスト No. Part No. 品 名 品 番 数量 R 2 パーツリスト Kit No. キット品番 Kit Name キット名称 N610136589AA Part Nam e 備 考 セク ション No . PARTS LIST Sectio…

6
基板下受けブロックシングル対応:NPM-TT
Board Support Block For Single:NPM-TT
パーツレイアウト
Kit No.
キット品番
Kit Name
キット名称
N610136589AA
セクションNo.
PARTS LAYOUT
Section No.
--
O31
( KN610136589AA-06 )

Ref
No.
Remarks R
1
Q'ty
6
基板下受けブロックシングル対応:NPM-TT
Board Support Block For Single:NPM-TT
イラスト
No.
Part No.
品 名品 番 数量
R
2
パーツリスト
Kit No.
キット品番
Kit Name
キット名称
N610136589AA
Part Name
備 考
セクションNo.
PARTS LIST
Section No.
R
3
PLATE
1
1 N210161349AB
PIN
2
2 N210161075AA
COLLAR
2
3 N210156596AA
BRACKET
1
4 N210168109AB
BRACKET
2
5 N210161077AA
BRACKET
2
6 N210156599AA
LEVER
1
7 N210161078AB
LEVER
1
8 N210161079AB
BOLT
12
9 N510067773AA Low Head Cap Screw M4X8-8.8 A2J(Trivalent)
CAM-FOLLOWER
2
10 KXF00BFAA00 CF3UU-A
BLOCK
1
11 N210166704AA
O32
--
( KN610136589AA-06 )

7
下受ピンセット治具:NPM-TT2
Support Pin Setting Jig:NPM-TT2
パーツレイアウト
Kit No.
キット品番
Kit Name
キット名称
MTKA008691AA
セクションNo.
PARTS LAYOUT
Section No.
--
O33
( KMTKA008691AA-01 )