N7202A058B[201707].pdf - 第221页
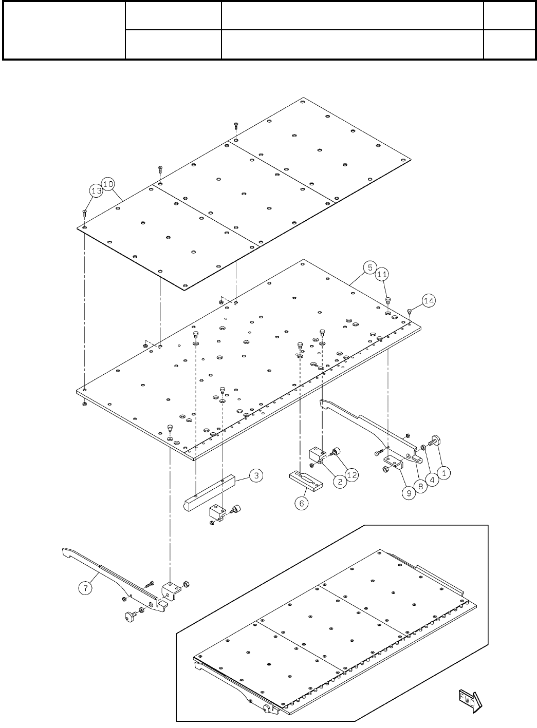
Ref No. Remarks R 1 Q'ty 8 基板下受けブロック260mm対応(自動交換用)(Front側):NPM-TT2 Board Support Block260mmSuppor t(Automatic Change)(F):N イラスト No. Part No. 品 名 品 番 数量 R 2 パーツリスト Kit No. キット品番 Kit Name キット名称 MTKA005139AA Part Nam e…

8
基板下受けブロック260mm対応(自動交換用)(Front側):NPM-TT2
Board Support Block260mmSupport(Automatic Change)(F):N
パーツレイアウト
Kit No.
キット品番
Kit Name
キット名称
MTKA005139AA
セクションNo.
PARTS LAYOUT
Section No.
--
O35
( KMTKA005139AA-01 )

Ref
No.
Remarks R
1
Q'ty
8
基板下受けブロック260mm対応(自動交換用)(Front側):NPM-TT2
Board Support Block260mmSupport(Automatic Change)(F):N
イラスト
No.
Part No.
品 名品 番 数量
R
2
パーツリスト
Kit No.
キット品番
Kit Name
キット名称
MTKA005139AA
Part Name
備 考
セクションNo.
PARTS LIST
Section No.
R
3
PIN
2
1 N210161075AA
BRACKET
2
2 N210161077AA
BRACKET
1
3 N210170229AB
COLLAR
2
4 N210156596AA
PLATE
1
5 MTPA008312AB
BLOCK
1
6 MTPA008313AA
LEVER
1
7 N210161078AB
LEVER
1
8 N210161079AB
BRACKET
2
9 N210156599AA
PLATE
3
10 MTKA005155AA
BOLT
12
11 N510067772AA Low Head Cap Screw M4X6-8.8 A2J(Trivalent)
CAM-FOLLOWER
2
12 KXF00BFAA00 CF3UU-A
BOLT
45
13 N510017610AA
Hexagon socket Flat head bolt M3X10-10.9 A2J (Trivalent)
BOLT
32
14 XVE3B4VW Hexagon socket head cap screw M3X4-A2-70
O36
--
( KMTKA005139AA-01 )

9
基板下受けブロック260mm対応(自動交換用)(Rear側):NPM-TT2
Board Support Block260mmSupport(Automatic Change)(R):N
パーツレイアウト
Kit No.
キット品番
Kit Name
キット名称
MTKA005140AA
セクションNo.
PARTS LAYOUT
Section No.
--
O37
( KMTKA005140AA-02 )