N7202A058B[201707] - 第455页
Ref No. Remarks R 1 Q'ty 84-D 下受けピン自動交換ユニット:NPM-TT2 Support Pin Automatic Change Unit:NPM -TT 2 イラスト No. Part No. 品 名 品 番 数量 R 2 パーツリスト Kit No. キット品番 Kit Name キット名称 MTKA008316AA Part Nam e 備 考 セク ション No . PARTS LIST…

84-D
下受けピン自動交換ユニット:NPM-TT2
Support Pin Automatic Change Unit:NPM-TT2
パーツレイアウト
Kit No.
キット品番
Kit Name
キット名称
MTKA008316AA
セクションNo.
PARTS LAYOUT
Section No.
--
O263
( KMTKA008316AA-00-4 )

Ref
No.
Remarks R
1
Q'ty
84-D
下受けピン自動交換ユニット:NPM-TT2
Support Pin Automatic Change Unit:NPM-TT2
イラスト
No.
Part No.
品 名品 番 数量
R
2
パーツリスト
Kit No.
キット品番
Kit Name
キット名称
MTKA008316AA
Part Name
備 考
セクションNo.
PARTS LIST
Section No.
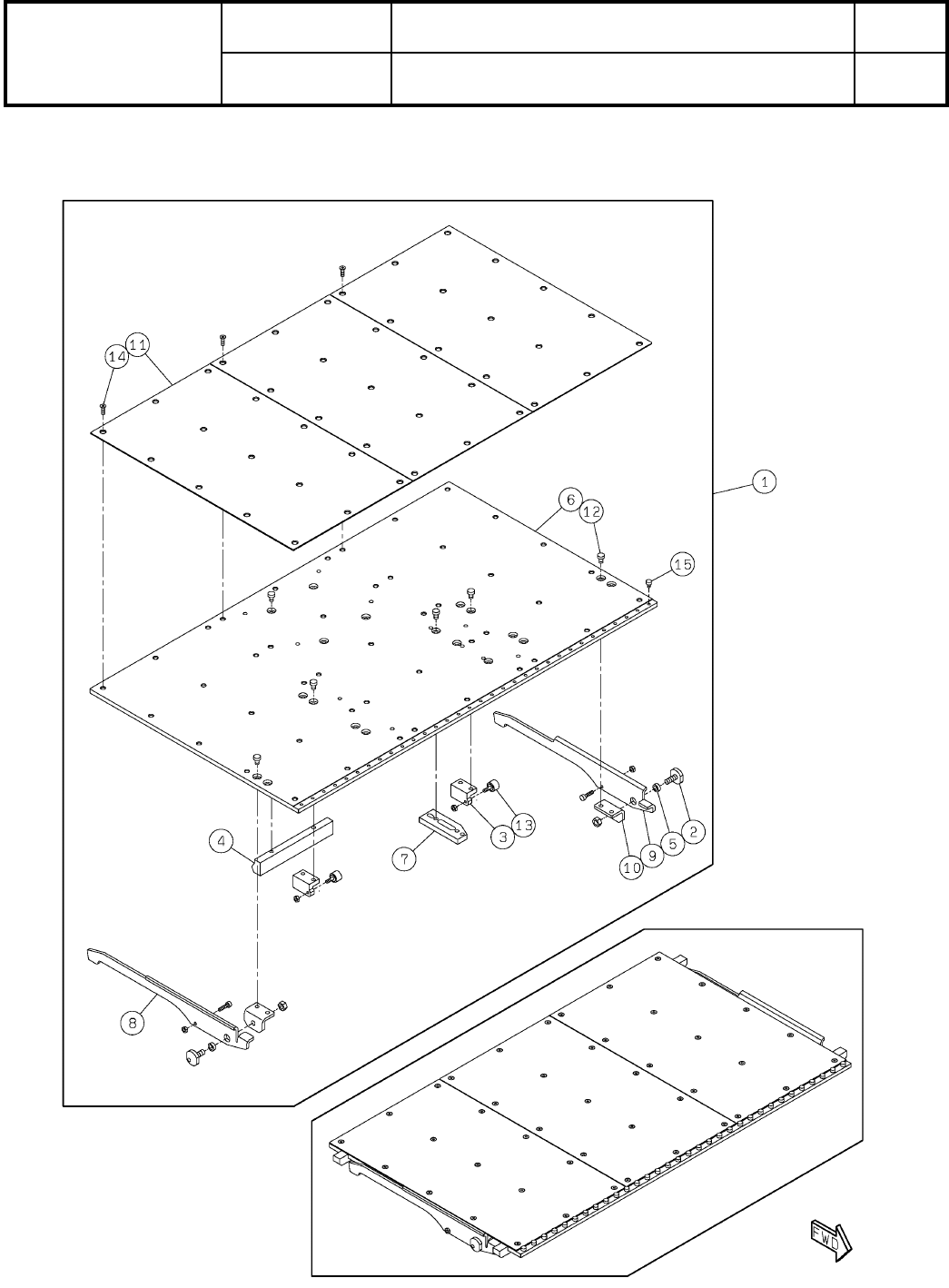
R
3
Support Pin Nozzle Changer
1
1 N610142677AB
HOLDER
2
2 N210166791AF
BLOCK
2
3 MTPA014500AA
PLATE
2
4 N210166793AA
PLATE
2
5 N210166794AB
BOLT
8
6 N510056643AA SPECIAL LOW HEAD CAP M3X6L(SCM435.Fe3O4)
COVER
2
7 MTPB007952AA
BLOCK
2
8 MTPA014620AA
O264
--
( KMTKA008316AA-00-4 )

84-E
下受けピン自動交換ユニット:NPM-TT2
Support Pin Automatic Change Unit:NPM-TT2
パーツレイアウト
Kit No.
キット品番
Kit Name
キット名称
MTKA008316AA
セクションNo.
PARTS LAYOUT
Section No.
--
O265
( KMTKA008316AA-00-5 )