N7202A058B[201707] - 第515页
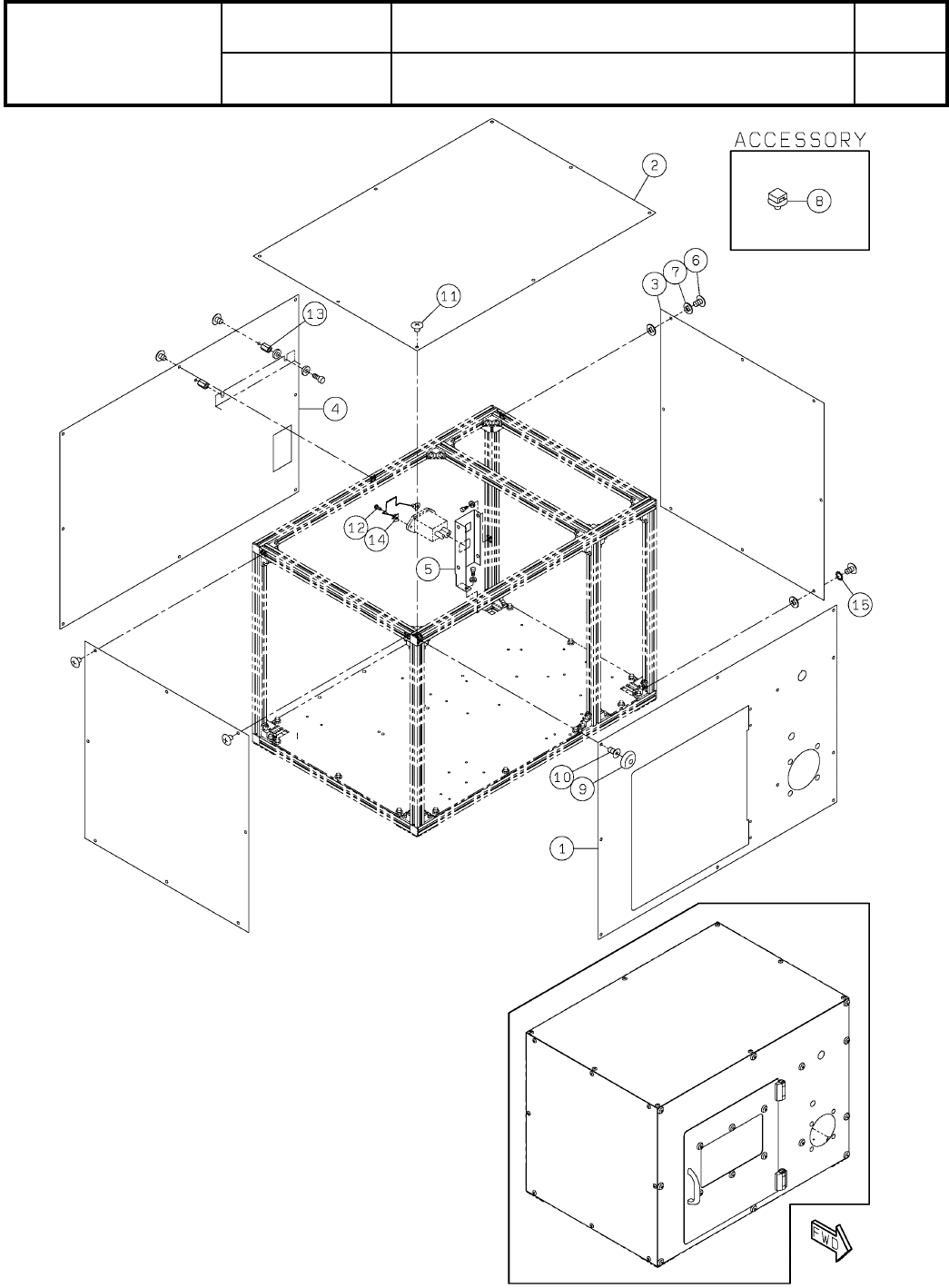
Ref No. Remarks R 1 Q'ty 105- A 全体カバーキット W hole Cover Kit イラスト No. Part No. 品 名 品 番 数量 R 2 パーツリスト Kit No. キット品番 Kit Name キット名称 N610124454AB Part Nam e 備 考 セク ション No . PARTS LIST Section No. R 3 COVER 1 1 N210157575A…

105-A
全体カバーキット
Whole Cover Kit
パーツレイアウト
Kit No.
キット品番
Kit Name
キット名称
N610124454AB
セクションNo.
PARTS LAYOUT
Section No.
--
O323
( KN610124454AB-07-1 )

Ref
No.
Remarks R
1
Q'ty
105-A
全体カバーキット
Whole Cover Kit
イラスト
No.
Part No.
品 名品 番 数量
R
2
パーツリスト
Kit No.
キット品番
Kit Name
キット名称
N610124454AB
Part Name
備 考
セクションNo.
PARTS LIST
Section No.
R
3
COVER
1
1 N210157575AA
COVER
1
2 N210157576AA
COVER
2
3 N210157577AA
COVER
1
4 N210157578AA
BRACKET
1
5 N210157599AA
SCREW
8
6 N510056143AA PFS-D0508
WASHER
14
7 N510013725AA TM-147-3V
CABLE-SUPPORT
30
8 N510048517AA FT4
CAP
17
9 KXF0DYESA00 CP-328-B-5-ivory
BOLT
11
10 N510017629AA
Hexagon socket Flat head bolt M5X10-10.9 A2J (Trivalent)
SCREW
26
11 N510018300AA
Cross recessed Truss head machine screw M5X6-4.8 A2J (Trivalent)
BOLT
2
12 N510017514AA
SSS 003 Hexagon socket button head screw M3X8-10.9 A2J (Trivalent)
SPACER
2
13 N510060062AA ASB-512E
CLAMP
1
14 N510037216AA AT-01+AT-04R
WASHER
2
15 N510018765AA
Toothed lock washer 5 External toothed Steel Unichrome white (Trivalent)
O324
--
( KN610124454AB-07-1 )

105-B
全体カバーキット
Whole Cover Kit
パーツレイアウト
Kit No.
キット品番
Kit Name
キット名称
N610124454AB
セクションNo.
PARTS LAYOUT
Section No.
--
O325
( KN610124454AB-07-2 )