N7202A058B[201707] - 第75页
Ref No. Remarks R 1 Q'ty 17 XY軸制御:NPM-TT2 XY -Axis (H):NPM -TT 2 イラスト No. Part No. 品 名 品 番 数量 R 2 パーツリスト Kit No. キット品番 Kit Name キット名称 MTKA005516AA Part Nam e 備 考 セク ション No . PARTS LIST Section No. R 3 PCB 2 1 N61011…

17
XY軸制御:NPM-TT2
XY-Axis (H):NPM-TT2
パーツレイアウト
Kit No.
キット品番
Kit Name
キット名称
MTKA005516AA
セクションNo.
PARTS LAYOUT
Section No.
--
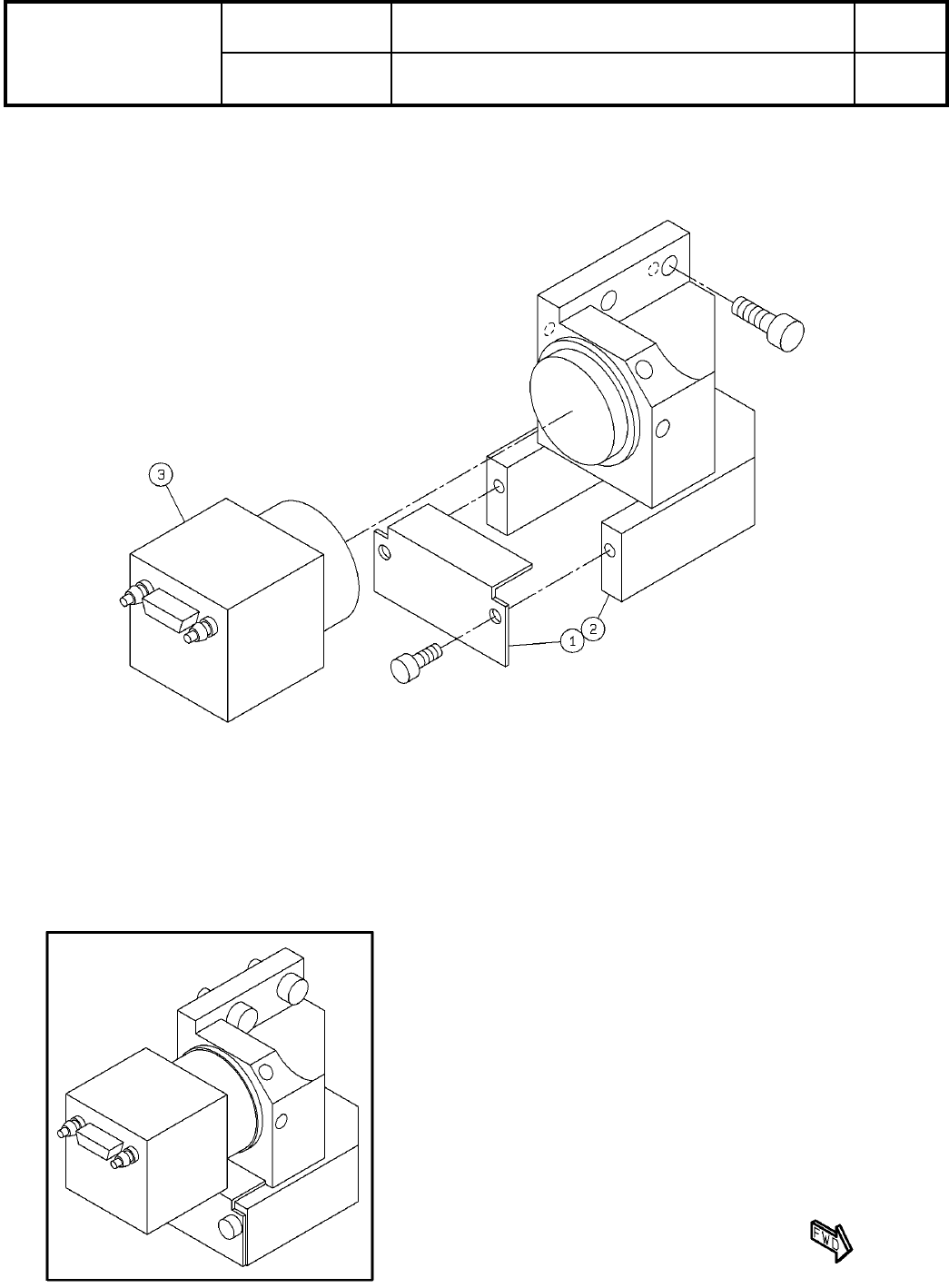
S53
( KMTKA005516AA-02 )

Ref
No.
Remarks R
1
Q'ty
17
XY軸制御:NPM-TT2
XY-Axis (H):NPM-TT2
イラスト
No.
Part No.
品 名品 番 数量
R
2
パーツリスト
Kit No.
キット品番
Kit Name
キット名称
MTKA005516AA
Part Name
備 考
セクションNo.
PARTS LIST
Section No.
R
3
PCB
2
1 N610112763AB
S
NPM highly accurate beem LED control PCB
SHIELD
2
2 KXFP6GNSA00 FGC-8-M4
NOISE-FILTER
10
3 J0KG00000014
S
ZCAT3035-1330
NOISE-FILTER
2
4 N263ZCAT-027
S
ZCAT1518-0730
SCREW
18
5XYN4+J8FN
Cross recessed Pan head machine screw with SW & Small round-plain was
S54
--
( KMTKA005516AA-02 )

18
ヘッドカメラ:NPM
Head Camera:NPM
パーツレイアウト
Kit No.
キット品番
Kit Name
キット名称
N610041187AA
セクションNo.
PARTS LAYOUT
Section No.
--
S55
( KN610041187AA-08 )