N7202A058B[201707] - 第91页
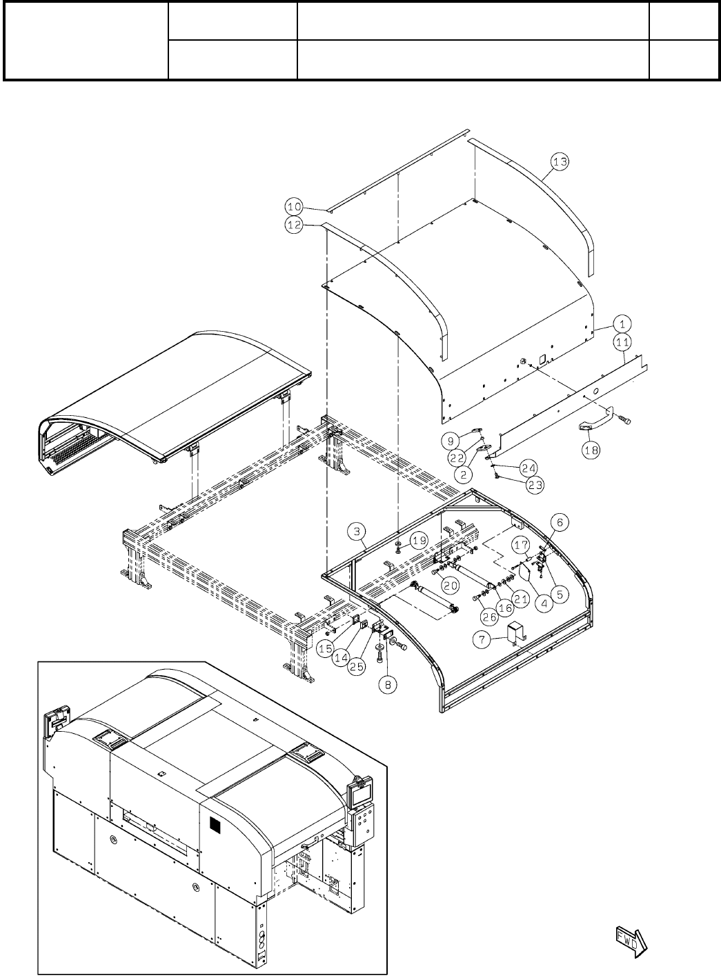
Ref No. Remarks R 1 Q'ty 21-D 全体カバー:NPM-TT2 W hole Cover:NPM -TT 2 イラスト No. Part No. 品 名 品 番 数量 R 2 パーツリスト Kit No. キット品番 Kit Name キット名称 MTKA007681AA Part Nam e 備 考 セク ション No . PARTS LIST Section No. R 3 COVER 2 1 N2…

21-D
全体カバー:NPM-TT2
Whole Cover:NPM-TT2
パーツレイアウト
Kit No.
キット品番
Kit Name
キット名称
MTKA007681AA
セクションNo.
PARTS LAYOUT
Section No.
--
S69
( KMTKA007681AA-08-4 )

Ref
No.
Remarks R
1
Q'ty
21-D
全体カバー:NPM-TT2
Whole Cover:NPM-TT2
イラスト
No.
Part No.
品 名品 番 数量
R
2
パーツリスト
Kit No.
キット品番
Kit Name
キット名称
MTKA007681AA
Part Name
備 考
セクションNo.
PARTS LIST
Section No.
R
3
COVER
2
1 N210149683AB
WASHER
4
2 MTPA004915AA
FRAME
2
3 MTPA016975AB
COVER
2
4 N210143036AA
BRACKET
2
5 N210143037AC
NUT-PLATE
2
6 N210186760AA
COVER
2
7 N210147088AB
PLATE
4
8 N210164816AA
NUT-PLATE
4
9 N210186756AA
COVER
2
10 MTKP000693AA
COVER
2
11 N610168763AC
COVER
2
12 MTKP000694AA
COVER
2
13 MTKP000695AA
NUT
72
14 N510013277AA SFN-TS6
CAP
106
15 KXF0ATFAA00 SFA-906
GAS-SPRING
4
16 MTNK000363AA
S
KPF70-40M
SPACER
4
17 N510030568AA CB-418E
PULL
2
18 KXF0DX62A00 AP-829-2
SCREW
58
19 MTNK002299AA
Cross recessed Truss head machine screw M4X10-4.8 A2J (Trivalent) (PA-
BOLT
4
20 N510020762AA MMSB10-10
WASHER
20
21 N510018506AA
Round finish plain washer (JIS B 1256:1978) 10 10H A2J (Trivalent)
SPACER
8
22 N510068123AA CF-502.5ZE
SCREW
8
23 N510068146AA
Cross recessed Truss head machine screw M4X10-4.8 A2S(Trivalent)(UG-
WASHER
8
24 N510018763AA
Toothed lock washer 4 External toothed Steel Unichrome black (Trivalent)
HINGE
4
25 N610124459AA
BOLT
4
26 N510032427AA MMSB10-15
S70
--
( KMTKA007681AA-08-4 )

21-E
全体カバー:NPM-TT2
Whole Cover:NPM-TT2
パーツレイアウト
Kit No.
キット品番
Kit Name
キット名称
MTKA007681AA
セクションNo.
PARTS LAYOUT
Section No.
--
S71
( KMTKA007681AA-08-5 )