N7202A047B00 - 第238页
9 交換台車ガイド部(前側):NPM-W Feeder Cart Guide(Front Side):NPM -W パーツレイアウト Kit No. キット 品番 Kit Name キット名称 N610120771AA セクションNo. PARTS LAYOUT Section No. - - O37 ( KN610120771AA-06 )

Ref
No.
Remarks R
1
Q'ty
8-B
30連交換台車駆動部(左側):NPM-W2
30 Slot Feeder Cart Drive Unit(Left Side):NPM-W2
イラスト
No.
Part No.
品 名品 番 数量
R
2
パーツリスト
Kit No.
キット品番
Kit Name
キット名称
N610156869AA
Part Name
備 考
セクションNo.
PARTS LIST
Section No.
R
3
BLOCK
1
1 N210091236AC
GUIDE
1
2 N210094054AC
GUIDE
1
3 N210150031AB
SHAFT
1
4 N210143117AA
COLLAR
1
5 N210143118AA
COLLAR
1
6 N210143223AA
COVER
1
7 N210184901AC
PLATE
1
8 N210184900AA
BRACKET
1
9 MTPB001861AA
BRACKET
1
10 KXFB00JJA01
COVER
1
11 MTPB001409AB
SWITCH(400mm)
1
12 N610076513AA
SPACER
2
13 N510038787AA 3382330-50120
CYLINDER
1
14 N510056930AA CDQ2D50-135DC-XB10
ROD-END
1
15 N510014419AA SAJK10C
BOLT
1
16 N510032427AA MMSB10-15
SPACER
4
17 N510038834AA ASF-870E
SPACER
2
18 N510009576AA 3382330-40020
BOLT
9
20 N510017569AA
Hexagon socket button head screw M8X10-10.9 A2J (Trivalent)
JOINT
2
21 N510066458AA KQ2L06-02AS
ORIFICE-RING
2
22 N210157884AB
BRACKET
1
23 N210201229AB
SWITCH
1
24 N510037368AA
S
D4N-1122
JOINT
1
25 KXF06F4AA00 53015030-WM
O36
--
( KN610156869AA-06-2 )

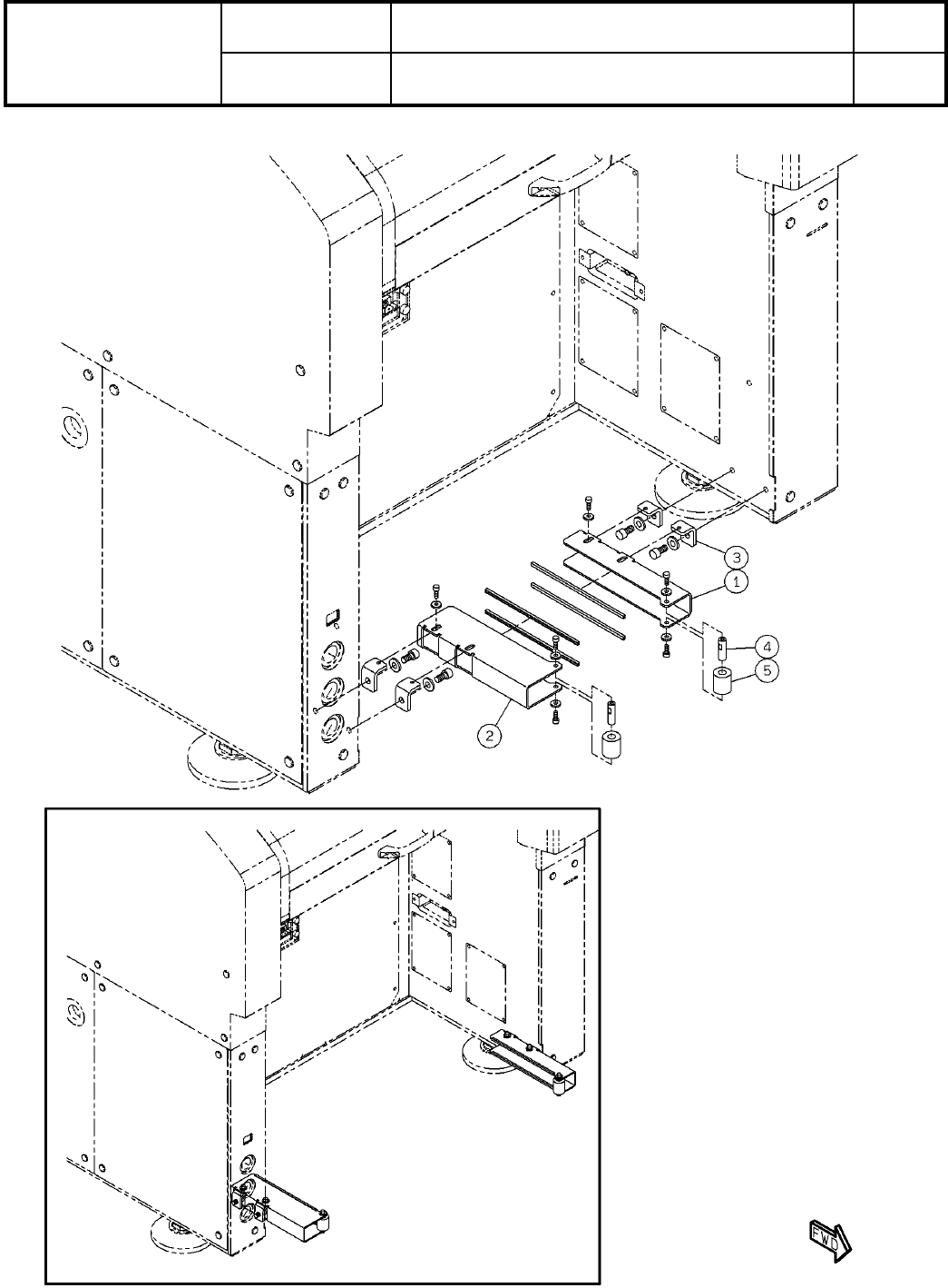
9
交換台車ガイド部(前側):NPM-W
Feeder Cart Guide(Front Side):NPM-W
パーツレイアウト
Kit No.
キット品番
Kit Name
キット名称
N610120771AA
セクションNo.
PARTS LAYOUT
Section No.
--
O37
( KN610120771AA-06 )

Ref
No.
Remarks R
1
Q'ty
9
交換台車ガイド部(前側):NPM-W
Feeder Cart Guide(Front Side):NPM-W
イラスト
No.
Part No.
品 名品 番 数量
R
2
パーツリスト
Kit No.
キット品番
Kit Name
キット名称
N610120771AA
Part Name
備 考
セクションNo.
PARTS LIST
Section No.
R
3
BRACKET
1
1 N210153442AA
BRACKET
1
2 N210153443AA
BRACKET
4
3 N210153444AA
POST
2
4 N210160041AB
URETHANE
2
5 N510046210AA 87AXNHK30-35
O38
--
( KN610120771AA-06 )