N7202A047B00 - 第344页
42-A ツイントレイフィーダリフト部:NPM-W Tw in Tray Feeder Lift Section:NPM -W パーツレイアウト Kit No. キット 品番 Kit Name キット名称 N610121141AA セクションNo. PARTS LAYOUT Section No. - - O143 ( KN610121141AA-11-1 )

Ref
No.
Remarks R
1
Q'ty
41-F
ツイントレイフィーダ本体部:NPM-W
Twin Tray Feeder Main Body :NPM-W
イラスト
No.
Part No.
品 名品 番 数量
R
2
パーツリスト
Kit No.
キット品番
Kit Name
キット名称
N610121083AA
Part Name
備 考
セクションNo.
PARTS LIST
Section No.
R
3
COLLAR
20
1 KXFB014DA00
SHAFT
4
2 N210041096AA
PLATE
8
3 N210175499AA
STOPPER
8
4 KXFB014RA00
PLATE
2
5 KXFB07F0A00
COLLAR
8
6 KXFB015BA00
BRACKET
4
7 KXFB015LA00
PLATE
2
8 KXFB07F3A00
BRACKET
8
9 KXFB015QA00
BRACKET
8
10 KXFB015RA00
LINK
2
11 KXFB07F5A00
LINK
2
12 KXFB07F6A00
SPACER
8
13 N510017095AA CB-403E
SPRING
8
14 KXF0DWZ8A00 6657
BEARING
16
15 KXF0A1CAA00 F604ZZ
PLATE
4
16 KXF05EMAA00 GP5-1
WASHER
2
17 N210160217AA
JOINT
2
18 N510051100AA Y-P016A
SPACER
8
19 N510030566AA CB-412E
NUT
18
21 N510017865AA
Hexagon nut Type-3 Best class M5-6H-4T A2J (Trivalent)
COLLAR
8
22 N210160097AA
BOLT
4
23 N510017518AA
Hexagon socket button head screw M4X14-10.9 A2J (Trivalent)
SENSOR
1
24 N610080223AA GT7SN
CYLINDER
1
25 N610076227AB CDQSBS12-20-DCL7078L
CYLINDER
1
26 N610076228AB CDQSBS12-20-DCL7078L
CYLINDER
1
27 N610082929AB CDQSBS12-20-DCL7078L
CYLINDER
1
28 N610121090AB CDQSBS12-20-DCL7078L
CYLINDER
1
29 N610121091AB CDQSBS12-20-DCL7078L
SENSOR
1
30 N610121092AA GT7SN
CYLINDER
1
31 N610121093AA CDQSBS12-20-DCL7078L
O142
--
( KN610121083AA-22-6 )

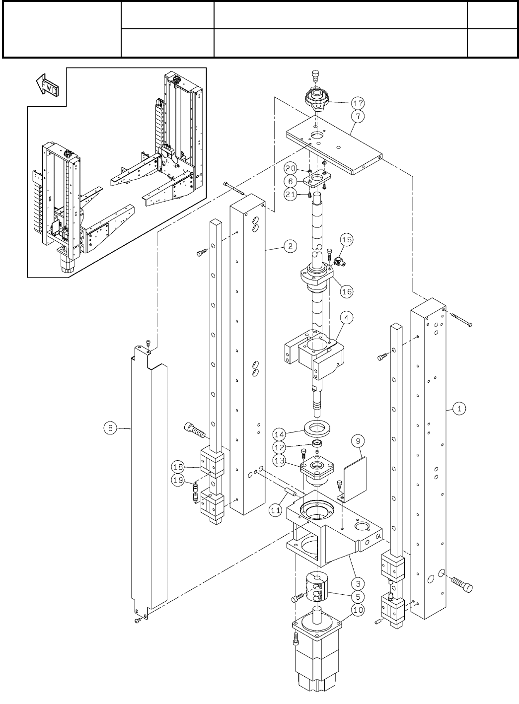
42-A
ツイントレイフィーダリフト部:NPM-W
Twin Tray Feeder Lift Section:NPM-W
パーツレイアウト
Kit No.
キット品番
Kit Name
キット名称
N610121141AA
セクションNo.
PARTS LAYOUT
Section No.
--
O143
( KN610121141AA-11-1 )

Ref
No.
Remarks R
1
Q'ty
42-A
ツイントレイフィーダリフト部:NPM-W
Twin Tray Feeder Lift Section:NPM-W
イラスト
No.
Part No.
品 名品 番 数量
R
2
パーツリスト
Kit No.
キット品番
Kit Name
キット名称
N610121141AA
Part Name
備 考
セクションNo.
PARTS LIST
Section No.
R
3
FRAME
2
1 N210143541AD
FRAME
2
2 N210143542AD
BRACKET
2
3 N210063354AA
BRACKET
2
4 N210170086AA
COUPLING
2
5 KXFB017QA00
STOPPER
2
6 N210096604AA
CONNECT-BLOCK
2
7 N210096607AA
COVER
2
8 N210040290AB
COVER
2
9 N210063355AA
MOTOR
2
10 N510022126AA
S
HF-MP23B-S25
PIN
2
11 N510020618AA MMS6-15
SPACER
2
12 KXF0DX0BA00 B86012061-301
SUPPORT-UNIT
2
13 KXF043EAA00 WBK12-11
DAMPER
2
14 N510063456AA D25A9
JOINT
2
15 KXF0CX0AA00 IN-233-797(Delivery drawing available)
BALL-SCREW
2
16 N510068298AA BLK1616E-3.6ZZGS+589LC8T(33020747K000)
BEARING-UNIT
2
17 KXF0A00AA00 KFL001
LINEAR-WAY
4
18 N510040427AA SSR15XV2UUE+605LY-II(00995183G020)
JOINT
8
19 KXF02T7AA00 M-5H-4
SPACER
4
20 N510019911AA CB-302E
BOLT
12
21 N510000323AA
Hexagon socket button head screw M3X6 Steel Black oxide finish 12.9
O144
--
( KN610121141AA-11-1 )