N7202A047B00 - 第707页
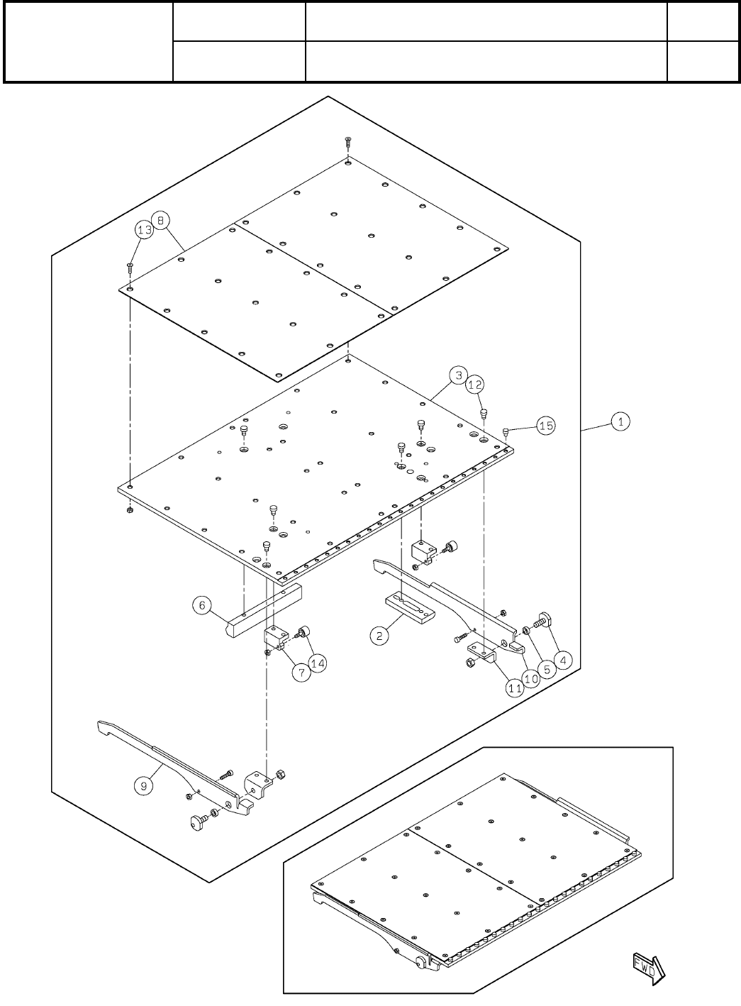
Ref No. Remarks R 1 Q'ty 158-F 下受けピン自動交換ユニット:NPM-W Support Pin Automatic Change Unit:NPM -W イラスト No. Part No. 品 名 品 番 数量 R 2 パーツリスト Kit No. キット品番 Kit Name キット名称 N610145977AA Part Nam e 備 考 セク ショ ンNo . PARTS LIST Sec…

158-F
下受けピン自動交換ユニット:NPM-W
Support Pin Automatic Change Unit:NPM-W
パーツレイアウト
Kit No.
キット品番
Kit Name
キット名称
N610145977AA
セクションNo.
PARTS LAYOUT
Section No.
--
O505
( KN610145977AA-04-6 )

Ref
No.
Remarks R
1
Q'ty
158-F
下受けピン自動交換ユニット:NPM-W
Support Pin Automatic Change Unit:NPM-W
イラスト
No.
Part No.
品 名品 番 数量
R
2
パーツリスト
Kit No.
キット品番
Kit Name
キット名称
N610145977AA
Part Name
備 考
セクションNo.
PARTS LIST
Section No.
R
3
Stopper Unit
1
1 N610149812AA
SHAFT
8
2 N210172667AB
STOPPER
8
3 MTPA002719AA
POST
4
4 N210176220AA
SCREW
12
5 XXE6D20FT
Hexagon socket set screw Cup point M6X20-45H SOB
SPACER
8
6 MTPA003400AA
O506
--
( KN610145977AA-04-6 )

158-G
下受けピン自動交換ユニット:NPM-W
Support Pin Automatic Change Unit:NPM-W
パーツレイアウト
Kit No.
キット品番
Kit Name
キット名称
N610145977AA
セクションNo.
PARTS LAYOUT
Section No.
--
O507
( KN610145977AA-04-7 )