N7202A047B00 - 第71页
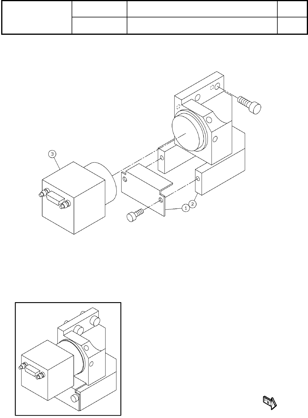
Ref No. Remarks R 1 Q'ty 15 ヘッドカメラ:NPM Head Camera:NPM イラスト No. Part No. 品 名 品 番 数量 R 2 パーツリスト Kit No. キット品番 Kit Name キット名称 N610041187AA Part Nam e 備 考 セク ショ ンNo . PARTS LIST Section No. R 3 BRACKET 1 1 N210067363AA…

15
ヘッドカメラ:NPM
Head Camera:NPM
パーツレイアウト
Kit No.
キット品番
Kit Name
キット名称
N610041187AA
セクションNo.
PARTS LAYOUT
Section No.
--
S47
( KN610041187AA-06 )

Ref
No.
Remarks R
1
Q'ty
15
ヘッドカメラ:NPM
Head Camera:NPM
イラスト
No.
Part No.
品 名品 番 数量
R
2
パーツリスト
Kit No.
キット品番
Kit Name
キット名称
N610041187AA
Part Name
備 考
セクションNo.
PARTS LIST
Section No.
R
3
BRACKET
1
1 N210067363AA
LENS
1
2 N510027781AA OKP-46X
CAMERA
1
3 N510029003AA
S
CSCX30BC3-10
S48
--
( KN610041187AA-06 )

16
ヘッドカメラLED照明:NPM
LED Lighting Unit:NPM
パーツレイアウト
Kit No.
キット品番
Kit Name
キット名称
N610168882AA
セクションNo.
PARTS LAYOUT
Section No.
--
S49
( KN610168882AA-03 )