Conveyor module DC_20211122_064713 - 第42页
Conveyor module DC Page 42 / 76 22.11.2021

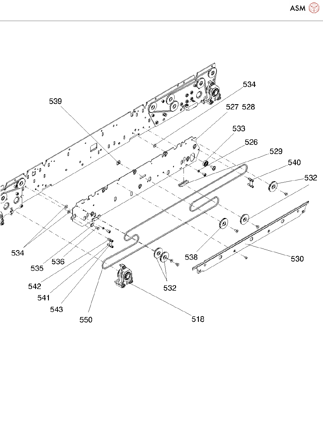
Conveyor module DC
Page 41 / 76 22.11.2021

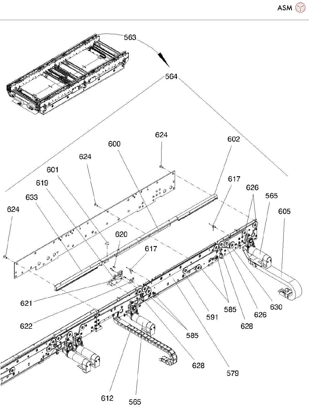
Conveyor module DC
Page 42 / 76 22.11.2021

Conveyor module DC
Page 43 / 76 22.11.2021
Conveyor module DC Page 42 / 76 22.11.2021


