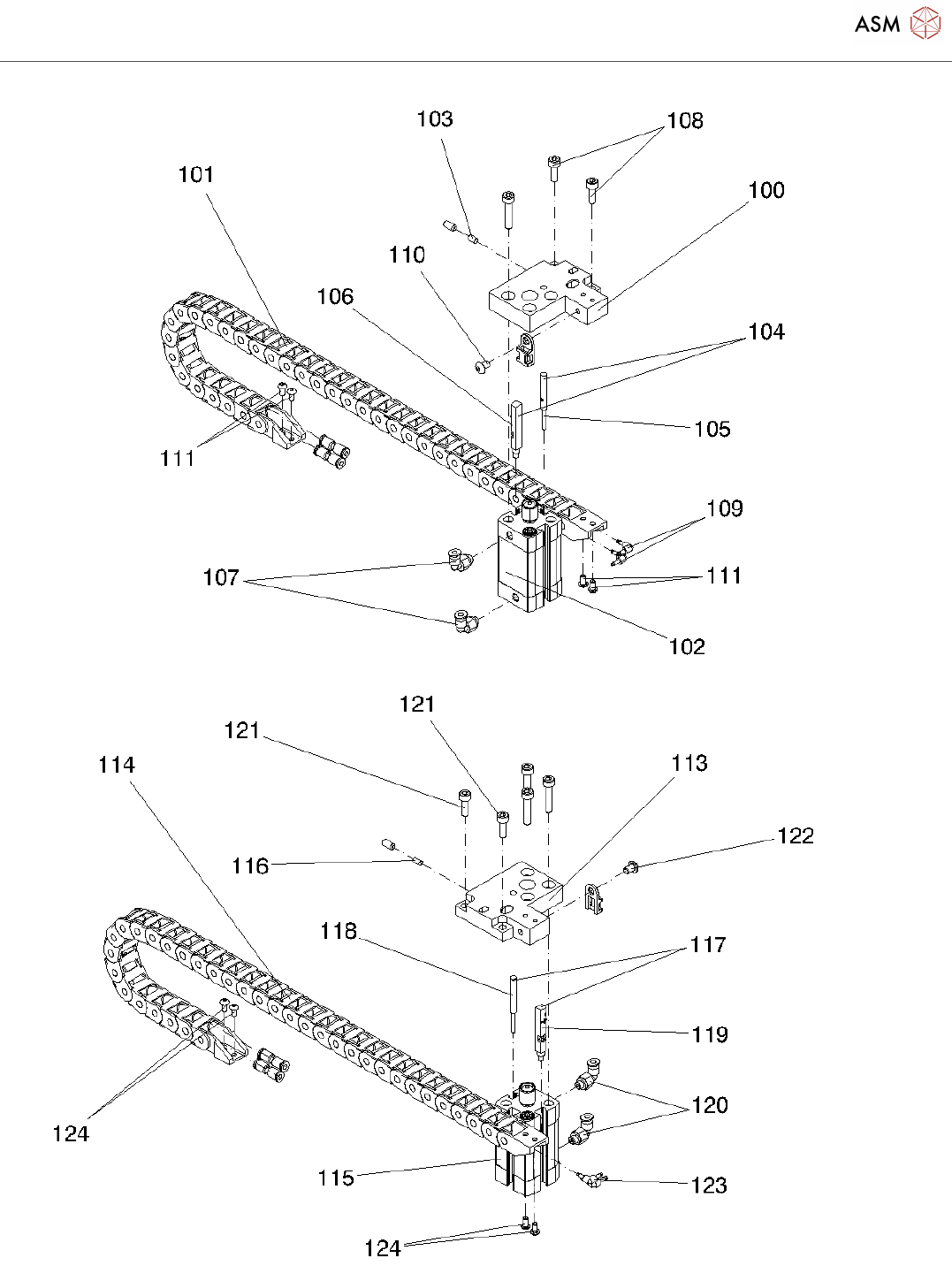
Conveyor module DC_20211122_064713 - 第5页
Conveyor module DC Page 5 / 76 22.11.2021

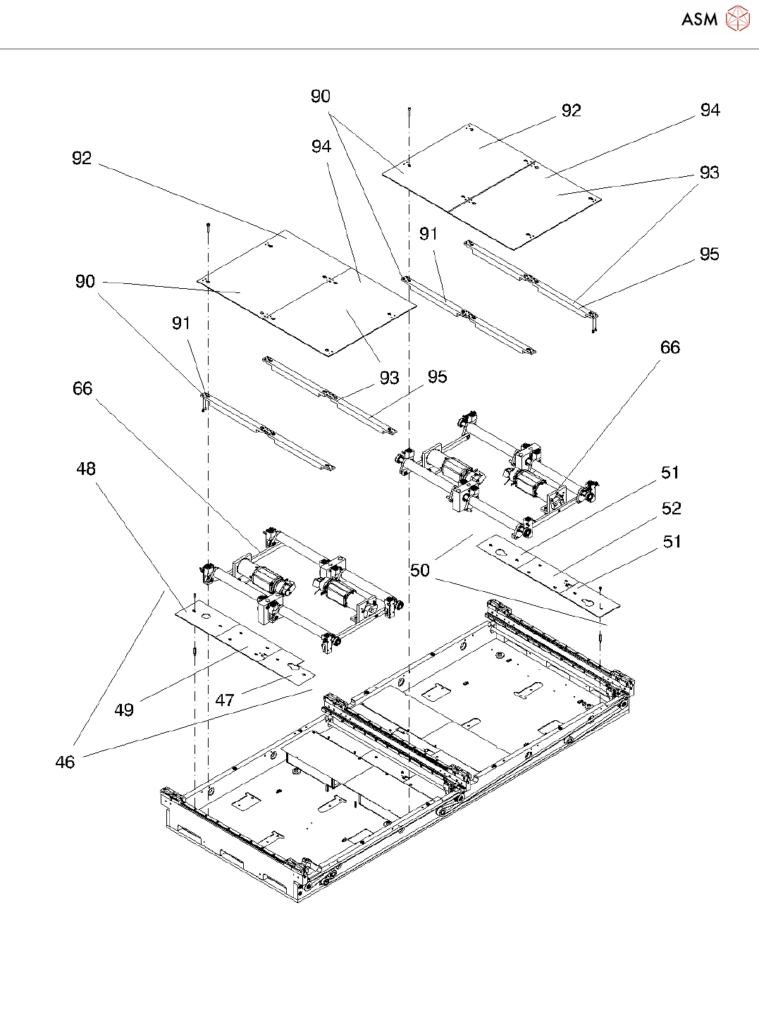
Conveyor module DC
Page 4 / 76 22.11.2021

Conveyor module DC
Page 5 / 76 22.11.2021

Conveyor module DC
Page 6 / 76 22.11.2021
Conveyor module DC Page 5 / 76 22.11.2021


