00191384-01 - 第137页
Instrucc iones de uso SIPLACE HS-50 4 ¿Qué h acer .. . V ersión de software SR.501.xx Edición 01/99 CE-SP A 4.8 Lo que debe observar para evitar errores de pista 135 4.8.2 ... en el módulo de alimen ta ción 8 mm-S È Nunc…

4 ¿Qué hacer ... Instrucciones de uso SIPLACE HS-50
4.8 Lo que debe observar para evitar errores de pista Versión de software SR.501.xx Edición 01/99 CE-SPA
134
4.8 Lo que debe observar para evitar errores de pista
4.8.1 Generalidades
È Observe que las áreas de los módulos de alimentación se encuentren limpias y no se encuen-
tren componentes sueltos en el área de transporte o bajo los módulos de alimentación.
È Cuide que las superficies de apoyo de los módulos de alimentación y especialmente la regleta
magnética de la mesa de componentes estén limpias y planas.
È Llene con componentes a tiempo.
È Empalme a tiempo las cintas. Por regla general esto significa que usted prepara el material de
empalme cuando queda en el rollo aprox. 1,5 m de cinta.
È Trate con cuidado los módulos de alimentación cuando los coloca en la mesa de componentes
o los retira de allí. Estos son aparatos de precisión.
È Al colocar los módulos de alimentación observe que no se pulsen por accidente teclas de pro-
grama. De esta forma se puede cambiar por ejemplo para módulos de alimentación-S de 8mm
el paso de 4 mm a 2 mm.
È Cierre las tapas de los módulos de alimentación, ya que al encontrarse abiertas pueden ave-
riarse con facilidad.
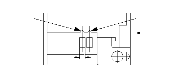
È Controle si en los módulos de alimentación-S todos los componentes, dependiendo de su ta-
maño, son recogidos de la posición correcta (ver el ejemplo siguiente).
Ejemplo para módulos de alimentación-S 8mm 4
4
È Controle si el enchufe de los módulos de alimentación ha sido conectado en la hembrilla
correcta.
< 3 mm
Ancho
Posición de
recogida para
componentes
> 3 mm
Posición de
recogida para
componentes
Instrucciones de uso SIPLACE HS-50 4 ¿Qué hacer ...
Versión de software SR.501.xx Edición 01/99 CE-SPA 4.8 Lo que debe observar para evitar errores de pista
135
4.8.2 ... en el módulo de alimentación 8mm-S
È Nunca abra la tapa antes de distensar el tiraje de la película de cubierta.
È Ajuste la posición de recogida y la división de la cinta en base a las instrucciones adjuntas para
cada módulo de alimentación de cinta.
È Introduzca el material de cinta sobre el muelle en el módulo de alimentación de cinta.
4.8.3 ... en el contenedor de cinta
È Coloque las chapas divisoras de forma correcta (ver la Fig. 4.5 - 2).
È Equipe los rollos de cinta grandes con semiejes.

4 ¿Qué hacer ... Instrucciones de uso SIPLACE HS-50
4.8 Lo que debe observar para evitar errores de pista Versión de software SR.501.xx Edición 01/99 CE-SPA
136
4.8.4 Sistema de coordenadas del componente y ángulo de recogida
4
Fig. 4.8 - 1 Posición del componente y su ángulo de recogida
Tipo de caja
0°
- posición
Componentes,
chip
polarizados
0402
2220
Cinta
Cargador de barras
Cinta
Cinta
Cinta
Componente
especial
Agujeros
Posición en la alimentación
Posición de recogida/
Angulo de las pipetas
El ánodo debe estar
orientado en
dirección del
eje-x positivo
Cargador de barras