00193924-03 - 第180页
4 Installazione e messa in esercizio Manuale per l'uso SIPLACE serie HF 4.4 Installazione del dispositivo automatico Versione s oftware SR.50x.xx Edizione 01/2006 IT 180 4 Fig. 4.4 - 3 Piedi della macchina del dispo…

Manuale per l'uso SIPLACE serie HF 4 Installazione e messa in esercizio
Versione software SR.50x.xx Edizione 01/2006 IT 4.4 Installazione del dispositivo automatico
179
della macchina è di 776 mm. È espressamente vietato allargare la distanza della forca in
modo tale da sollevare il dispositivo automatico nelle parti laterali del telaio della macchina.
Ne conseguirebbe la deformazione del telaio della macchina.
Æ Accertarsi di applicare uniformemente il peso sulla forca quando si solleva il dispositivo au-
tomatico. Una base solida tra la forca ed il dispositivo automatico impedisce il rovesciamento
del dispositivo automatico quando lo si solleva. In questo modo si può evitare di applicare
peso solo su un lato dei piedi della macchina, che causerebbe la deformazione del fissaggio
dei piedi della macchina. È consigliabile che un'altra persona osservi il sollevamento del di-
spositivo automatico e garantisca che quest'ultimo non si rovesci sul lato quando lo si solleva
con l'elevatore a forca.
Æ Sollevare il dispositivo automatico con l'elevatore a forca di circa 35 cm, eviterete così ogni
rischio di ferite ai piedi, se i piedi della macchina si abbassano per errore.
Il dispositivo automatico è appoggiato su 6 piedi.
– 4 piedi esterni della macchina (Pos. 1 nella Fig. 4.4 - 3
)
I piedi esterni della macchina sono disponibili in due modelli: 4
– piede esterno della macchina per l'altezza di trasporto CS di 830 mm,
lunghezza 369 mm, articolo n. 03041008-01 (Pos. 1 nella Fig. 4.4 - 3
, pagina 180)
– piede esterno della macchina per le altezze di trasporto 900, 930 e 950 mm,
lunghezza 439 mm, articolo n. 03000890-02 (Pos. 2 nella Fig. 4.4 - 3
, pagina 180)
– 2 piedi centrali della macchina (Pos. 2 nella Fig. 4.4 - 3
) con 2 distanziatori (Pos. 3 e Pos. 4
nella Fig. 4.4 - 3
) per la regolazione delle altezze, se necessario.
4
Fig. 4.4 - 2 Piedi esterni della macchina - due versioni (misure in millimetri)

4 Installazione e messa in esercizio Manuale per l'uso SIPLACE serie HF
4.4 Installazione del dispositivo automatico Versione software SR.50x.xx Edizione 01/2006 IT
180
4
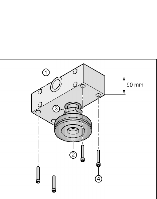
Fig. 4.4 - 3 Piedi della macchina del dispositivo automatico
4
(1) Piede esterno della macchina, 4 x, 2 versioni (vedi Fig. 4.4 - 2, pagina 179)
(2) Piede centrale della macchina, 2 x
(3) Distanziatore sul lato dell'innesto d'alimentazione della corrente
(4) Distanziatore sul lato dell'innesto pneumatico
(5) Foro filettato per il piede centrale della macchina
(T) Direzione di trasporto circuito stampato
(P) Innesto pneumatico
(S) Innesto dell’alimentazione di corrente

Manuale per l'uso SIPLACE serie HF 4 Installazione e messa in esercizio
Versione software SR.50x.xx Edizione 01/2006 IT 4.4 Installazione del dispositivo automatico
181
4.4.4.1 Impostare l'altezza dei piedi centrali della macchina
Innanzitutto si devono impostare i piedi centrali della macchina. Si deve avvitare il distanziatore
sul lato inferiore nella posizione giusta secondo l'altezza del dispositivo automatico.
Impostazione dell'altezza di trasporto del circuito stampato di 830 mm 4
Per l'altezza di trasporto del circuito stampato di 830 mm non è necessario il distanziatore.
Æ Avvitare più lento possibile il piede centrale della macchina nell'apposita filettatura (consul-
tare il punto 5 nella Fig. 4.4 - 3
).
Impostazione dell'altezza di trasporto del circuito stampato di 900 mm 4
Per l'altezza di trasporto del circuito stampato di 900 mm è necessario il distanziatore.
Æ Regolarlo in modo che il lato da 90 mm sia allineato verticalmente e che il foro del piede cen-
trale della macchina sia rivolto verso il basso.
4
4
4
4
4
4
4
4
4
4
4
4
Fig. 4.4 - 4 Direzione del distanziatore per l'altezza di trasporto di 900 mm
4
(1) Altezza del distanziatore di 90 mm
(2) Piede centrale della macchina
(3) Controdado M24
(4) Vite ad esagono cavo M12x80, 4 pezzi