00193924-03 - 第310页
7 Ampliamenti della stazione Manuale per l'uso SIPLACE serie HF 7.1 Scambiatore di pipet te Versione software SR. 50x.xx E dizione 01/2006 IT 310 7.1.2.9 Set di monta ggio per lo scambiatore di pipette "fi la 2…

Manuale per l'uso SIPLACE serie HF 7 Ampliamenti della stazione
Versione software SR.50x.xx Edizione 01/2006 IT 7.1 Scambiatore di pipette
309
7.1.2.8 Riconoscimento di posizione
Ogni caricatore dello scambiatore di pipette ha una fiducial di posizione per il riconoscimento di
posizione.
7
Fig. 7.1 - 15 Scambiatore di pipette - riconoscimento di posizione
(1) Fiducial di posizione
(2) Posizione delle pipette nel caricatore rispetto alla fiducial di posizione

7 Ampliamenti della stazione Manuale per l'uso SIPLACE serie HF
7.1 Scambiatore di pipette Versione software SR.50x.xx Edizione 01/2006 IT
310
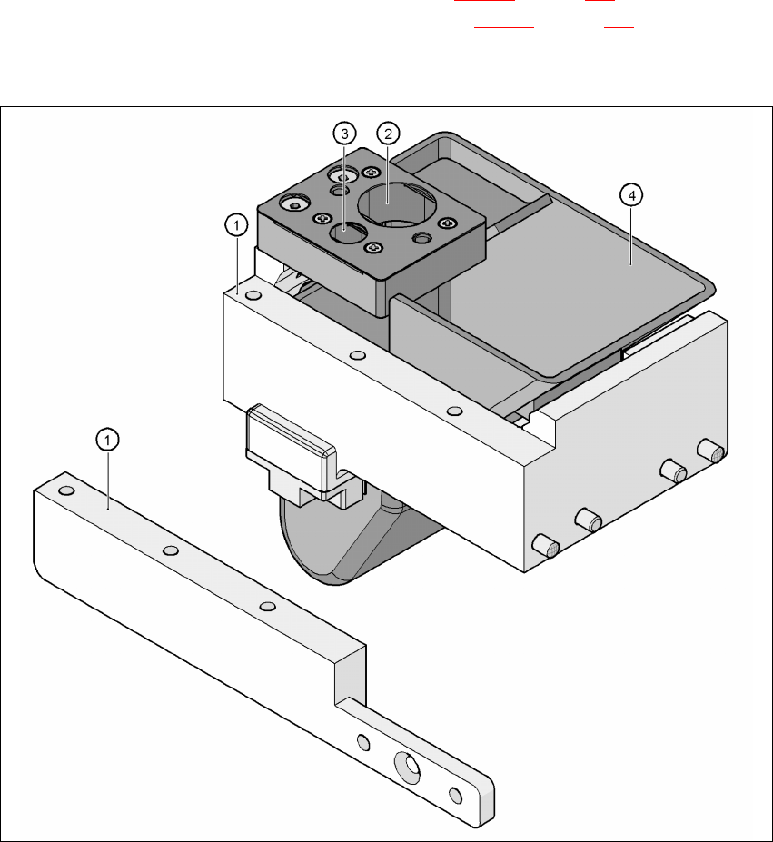
7.1.2.9 Set di montaggio per lo scambiatore di pipette "fila 2"
Articolo n. 00119664-xx
Lo scambiatore di pipette "fila 2" si può installare nei seguenti posti:
Dispositivo automatico HF: Posti 1 e 3 (vedi Fig. 7.1 - 10
, pagina 302)
Dispositivo automatico HF/3: Posti 1, 3 e 4 (vedi Fig. 7.1 - 11
, pagina 303)
Il pacchetto d'allestimento contiene, oltre allo scambiatore delle pipette un set di montaggio ed un
dispositivo d'estrazione delle pipette con contenitore degli scarti.
7
Fig. 7.1 - 16 Set di montaggio per il secondo scambiatore di pipette
(1) Set di montaggio per lo scambiatore di pipette "fila 2"
(2) Dispositivo d'estrazione delle pipette di tipo 8xx
(3) Dispositivo d'estrazione delle pipette di tipo 9xx
(4) Contenitore degli scarti delle pipette

Manuale per l'uso SIPLACE serie HF 7 Ampliamenti della stazione
Versione software SR.50x.xx Edizione 01/2006 IT 7.1 Scambiatore di pipette
311
7.1.3 Scambiatore di pipette per la testa SIPLACE TwinHead
Caricatore per 2 pipette: Articolo n. 03005191-xx
Caricatore per 1 pipetta: Articolo n. 03001807-xx
Questo scambiatore di pipette può accettare fino a 12 caricatori di pipette. Si hanno a disposizione
due tipi di caricatori: caricatori standard e caricatori per pipette speciali o pinze. I vassoi sono col-
locati su un supporto comune. Ogni caricatore è centrato con due spine cilindriche e fissato con
morsetti.
7
Fig. 7.1 - 17 Scambiatore di pipette per la testa SIPLACE TwinHead
AVVERTENZA 7
Per ogni testa di montaggio, installare solo il relativo scambiatore di pipette. Nelle configurazioni
miste c'è pericolo di crash della testa!
7.1.3.1 Dati tecnici
7
Scambiatore di pipette per la testa SIPLACE TwinHead
Misure (lunghezza x larghezza x altezza) 448 x 68,5 x 49 mm³
Numero di garage di pipette 16 per pipette standard
4 per pipette speciali o pinze
Tipi di pipette 5xx, standard
4xx con adattatore
9xx con adattatore
Tempo di sostituzione delle pipette < 2 s