00193924-03 - 第314页
7 Ampliamenti della stazione Manuale per l'uso SIPLACE serie HF 7.1 Scambiatore di pipet te Versione software SR. 50x.xx E dizione 01/2006 IT 314 7.1.3.4 Montag gio Lo scamb iatore di pipette è fissato al dispo siti…

Manuale per l'uso SIPLACE serie HF 7 Ampliamenti della stazione
Versione software SR.50x.xx Edizione 01/2006 IT 7.1 Scambiatore di pipette
313
7.1.3.3 Posizione dello scambiatore di pipette per la testa TwinHead nel dispositivo
automatico HF/3
Nei posti 2 e 3 si può installare rispettivamente uno scambiatore di pipette per la testa TwinHead
(Pos. 1 nella Fig. 7.1 - 19
). Ne risulta una capacità totale di 2 scambiatori di pipette ed un totale
di 48 garage di pipette.
7
Fig. 7.1 - 19 Posizione dello scambiatore di pipette per la testa TwinHead nel dispositivo automatico HF/3
(1) Scambiatore di pipette
(2) Caricatore standard
(3) Caricatore per pipette speciali o pinze
(4) Contenitore degli scarti CO

7 Ampliamenti della stazione Manuale per l'uso SIPLACE serie HF
7.1 Scambiatore di pipette Versione software SR.50x.xx Edizione 01/2006 IT
314
7.1.3.4 Montaggio
Lo scambiatore di pipette è fissato al dispositivo di rientro del carrello CO.
7
Fig. 7.1 - 20 Posizione di montaggio
(1) Foro di contrassegno
(2) Lato dell'operatore
(3) La freccia è rivolta verso la direzione di trasporto CS
7
Æ Posizionare lo scambiatore di pipette in modo tale che il foro di contrassegno (Pos. 1) sia a
sinistra visto dal lato dell'operatore.

Manuale per l'uso SIPLACE serie HF 7 Ampliamenti della stazione
Versione software SR.50x.xx Edizione 01/2006 IT 7.1 Scambiatore di pipette
315
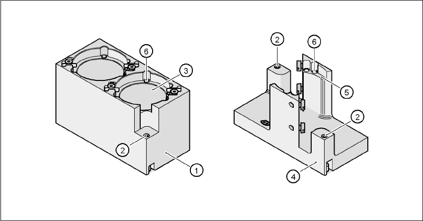
7.1.3.5 Descrizione del funzionamento
Il caricatore delle pipette standard ha 1 fiducial di posizione per il riconoscimento di posizione, il
caricatore per le pipette speciali/pinza ne ha due. Nel garage, le pipette sono fissate da sfere. Se-
condo la direzione di rotazione dell'asse DP, le pipette vengono bloccate o liberate per il prelievo.
7
Fig. 7.1 - 21 Caricatore per pipette standard e pipette speciali
(1) Caricatore standard
(2) Fiducial di posizione
(3) Garage delle pipette
(4) Caricatore per pipette speciali e pinze
(5) Garage delle pipette
(6) Sfere per il fissaggio delle pipette