Gantry_20211122_075528 - 第16页
Gantry Page 16 / 22 22.11.2021

Gantry
Page 15 / 22 22.11.2021

Gantry
Page 16 / 22 22.11.2021

Gantry
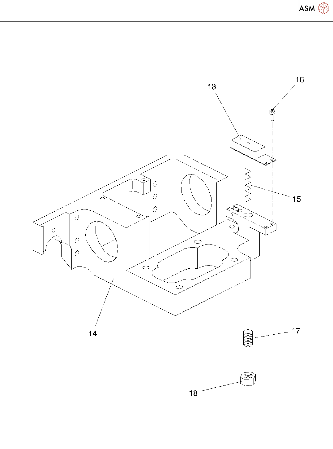
Page 17 / 22 22.11.2021
Pos. Item no. Description Part marking
1 00334096S01 BASE GANTRY SIPLACE 80 S23 SPARE PART
2 00334098-04 WELDED PART PORTAL S23
3 00334629-02 STOPPER
4 00845024-01 HEXAGON SOCKET HEAD CAP
SCREW M4 X 8-8.8
5 00331943-01 LINEAR BEARING RAIL AND
CARRIAGE
6 00319710-01 HEXAGON SOCKET HEAD CAP
SCREW M5*16 INBUS-RIPP
7 00301086-01 SCALE X-AXIS SPARE PART
8 00301084-02 GROIN SPARE PART
9 00095160-01 HEXAGON SOCKET HEAD CAP
SCREW
10 00619841-01 PARALLEL PIN 3M5 X 8-ST
11 00305840-01 SLOTTED COUNTERSUNK HEAD
SCREW
12 00332239-01 FRICTION BLOCK BRACKET X-AXIS
F4/6
SPARE PART
13 00319741-01 FRICTION BLOCK FOR X-AXIS
14 00331817-03 KAMERAHALTER FUER S25 U. F5HM SPARE PART
15 00304071-01 COMPRESSION SPRING 0.9*4.5*24.3
V2A
16 00201533-01 HEXAGON SOCKET HEAD CAP
SCREW M2 X 5-A2
17 00095379-01 SET SCREW
18 00095566-01 HEXAGON NUT
19 00313857-01 HEXAGON SOCKET HEAD CAP
SCREW M5 X 8-8.8
20 00845044-01 HEXAGON SOCKET HEAD CAP
SCREW M5 X 16-8.8
21 00310945-01 SCANNER HEAD X-AXIS SPARE PART
22 00845019-01 HEXAGON SOCKET HEAD CAP
SCREW
24 00845015-01 HEXAGON SOCKET HEAD CAP
SCREW M3 X 10-8.8
25 00300609-05 PROXIMITY SWITCH: END POSITION
X-AXIS
SPARE PART
26 00845004-01 HEXAGON SOCKET HEAD CAP
SCREW M2 X 8-A2
27 00344065S03 PCB-OPTICAL SYSTEM KST SPARE PART