4OM-996-007 - 第414页
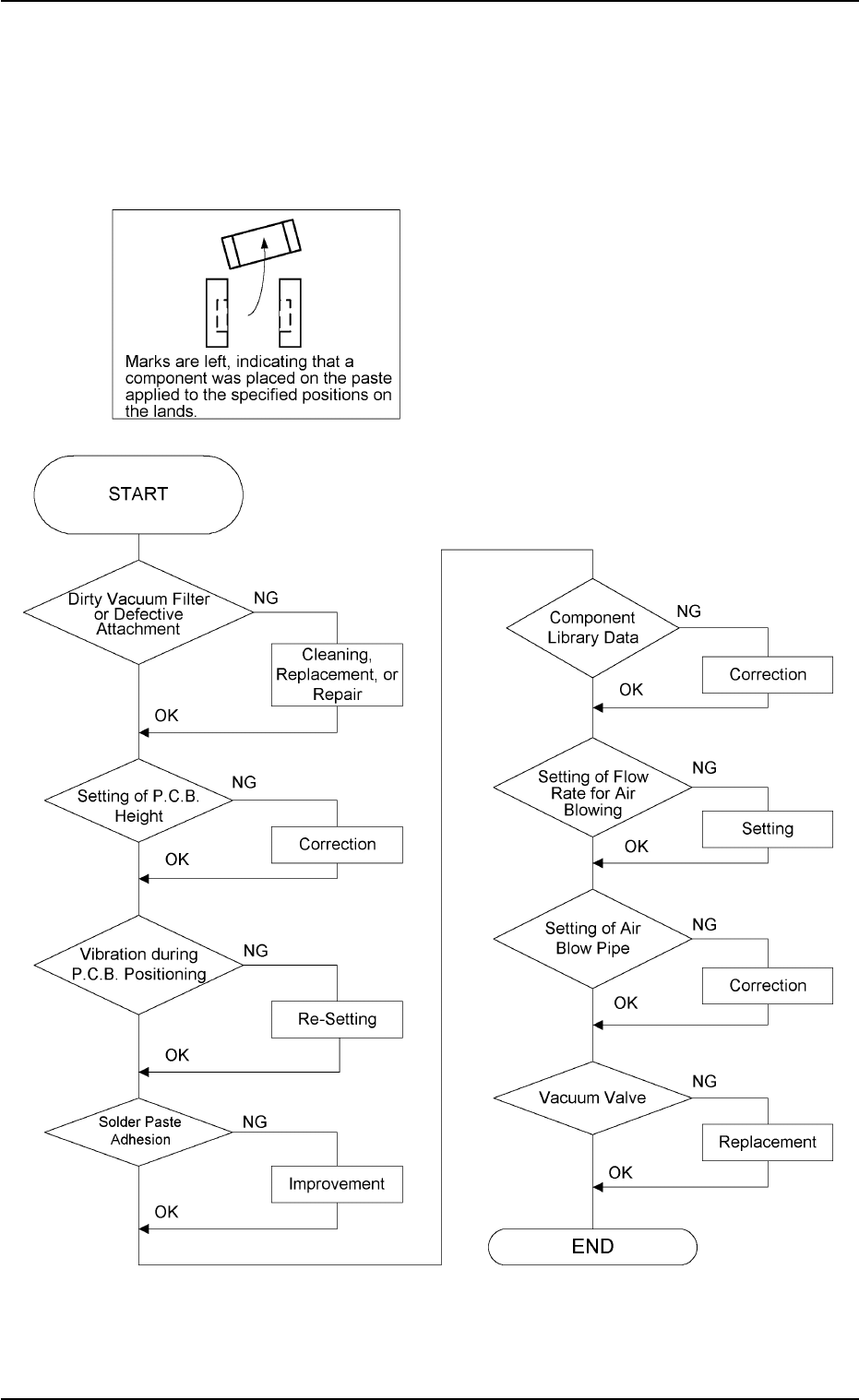
(2) No Component Placement Marks at Specified Positions on P .C.B. Lands Fig. 4B39 5.3 Troubleshooting on Placement Errors 0404-002 2-230 AIM01ETRP

5.3.2 Symptom-Based Troubleshooting
(1) Component Placement Marks at Specified Positions on P.C.B.
Lands
Fig. 4B38
5.3 Troubleshooting on Placement Errors
0305-001 2-229 AIM01ETRP

(2) No Component Placement Marks at Specified Positions on
P.C.B. Lands
Fig. 4B39
5.3 Troubleshooting on Placement Errors
0404-002 2-230 AIM01ETRP

(3) Positional and Angular Deviations of Component Placement
Fig. 4B40
5.3 Troubleshooting on Placement Errors
0404-002 2-231 AIM01ETRP