4OM-996-007 - 第99页
(20) Placement Height Correction Section 1.3 Maintenance Spots Fig. 4A42 Front View of Machine 0305-001 1-36 AIM01ETRP

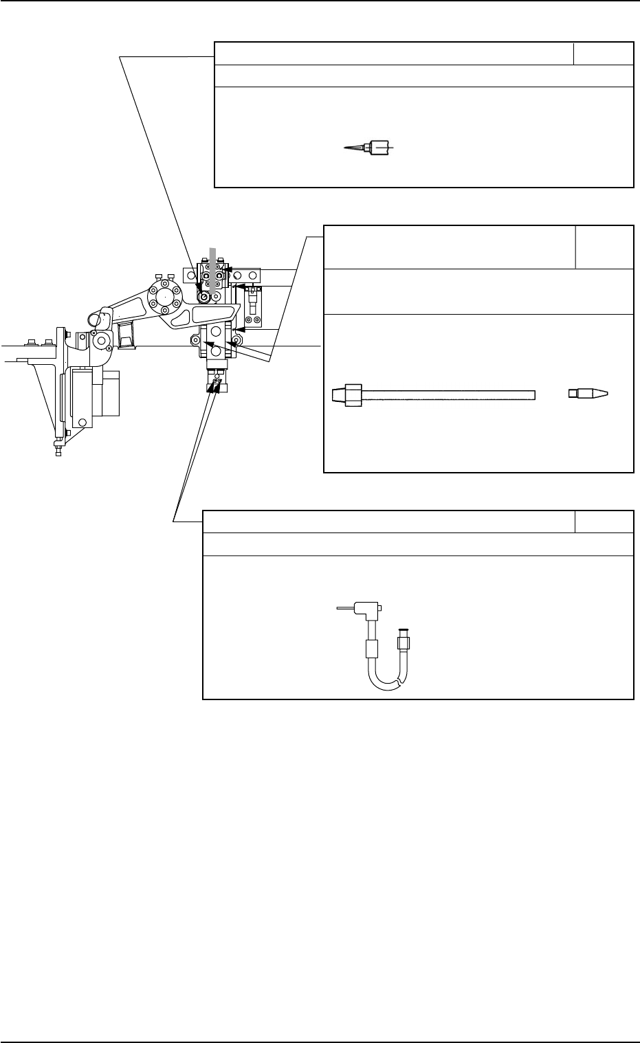
Oil Inlet and Ball Surface of 3M15
Linear Guide Slide Block
Every 3 Months Lubrication
(DAPHNE EPONEX GREASE No. 1)
Wipe off old grease and inject new one from the
grease nipples with a grease gun.
* Use U- and P-type attachments.
Grease should be applied every 3 months after
the initial month.
Roller Rests 3M16
Every 3 Months Lubrication (DAPHNE EPONEX GREASE No. 3)
Apply grease with a dispense gun.
*Use RR-Type attachment.
Every 3 Months Lubrication (DAPHNE EPONEX GREASE No. 1)
Apply grease with a dispense gun.
* Use No. 14 (olive) nozzle.
Cam Follower 3M14
U Type P Type
No. 14
1.3 Maintenance Spots
Fig. 4A41 Pick-Up Up/Down Section
0309-002 1-35
AIM01ETRP

(20) Placement Height Correction Section
1.3 Maintenance Spots
Fig. 4A42 Front View of Machine
0305-001 1-36
AIM01ETRP

1.3 Maintenance Spots
Ball Surfaces of Linear Guide Slide Block 3M19
Every 3 Months Lubrication
(DAPHNE EPONEX GREASE No. 1)
Apply grease with a dispense gun.
* Use No. 18 (green) or No. 19 (brown) nozzle.
Grease should be applied every 3 months after the initial
month.
Bearing Guide Planes 1M33
Every Month Lubrication (MOLYNOC GREASE AP1)
Apply grease with a dispense gun.
* Use No. 19 (brown) nozzle.
No.19
No.18
No.19
Fig. 4A43 Placement Height Correction Section
0509-002 1-37
AIM01ETRP